Медицина/3.Организация
здравоохранения
К.м.н.
Давлетшин Ф.А., н.с. Соловова С.О., д.б.н. Петручук О.Е.
ГАУЗ «Городская поликлиника №8» г.Казань, Россия;
ГОУ
Педагогическая академия последипломного образования, Москва, Россия;
Национальный
НИИ общественного здоровья РАМН, Москва, Россия.
Профилактика вирусного гепатита А в бассейне р.Камы Российской Федерации
В
современных условиях характер и масштабы
антропотехногенного воздействия на природную среду стали угрожающими. Так, по
данным ВОЗ в Европе более 100 млн. человек не обеспечены надежными
источниками безопасной питьевой воды. В Российской Федерации (РФ) более 60 млн. жителей проживают в
условиях повышенного загрязнения окружающей среды и около половины населения
используют для питья воду, не соответствующую гигиеническим требованиям [2]. Проведенные в последние годы исследования изменения состояния здоровья
населения (в бассейнах рек Волги, Северной Двины, Оби, на Алтае, Урале и других регионах РФ), свидетельствовали о снижении
неспецифической сопротивляемости организма. Дети становились более уязвимы к инфекционным и другим заболеваниям, что вызывало
озабоченность по поводу возможных серьёзных последствий для здоровья и
санитарно-эпидемиологического благополучия населения [3].
В бассейне р. Камы (Республика Татарстан — РТ) в
2011 г. в структуре нозологических форм инфекционной патологии (без гриппа
и ОРВИ) основная доля приходилась на социально-значимые заболевания[1],
удельный вес которых составлял 31,9% (соответственно, в 2010 г.—32,8 %;
в 2009 г. — 33,5 %) (рис. 1).
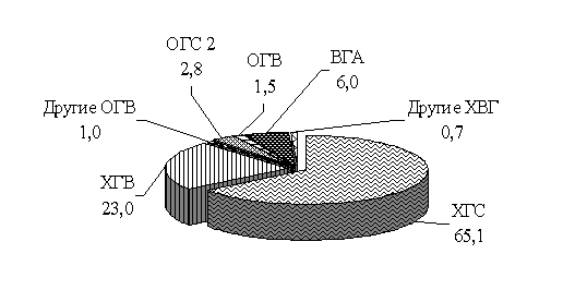
В 2011 г. в РТ было зарегистрировано
1859 случаев заболевания острыми и хроническими вирусными гепатитами. По
отношению к прошлогоднему показателю уровень заболеваемости вирусными
гепатитами был ниже на 6 % и составил 48,4 на 100 тысяч населения. Среди
зарегистрированных больных наибольший удельный вес (до 88,9 %) составляли
пациенты с хронической формой гепатита, а среди заболевших острым гепатитом —
больные с острым вирусным гепатитом А (ВГА), доля которых превысила 53,3 %
(рис. 2).

Рис. 1. Удельный вес
социально-значимых заболеваний у населения
в Республике Татарстан в 2011 году
[1].

Рис. 2. Заболеваемость вирусными
гепатитами населения
в Республике Татарстан в 2011 году (в
процентах) [1].
Все последние (2002-2008) годы в РТ заболеваемость вирусным
гепатитом А повсеместно оставалась на высоком уровне, вызывая системную инфекцию с патологическими изменениями печени. Так, в
2008 г. в
республике было зарегистрировано 135 случаев ВГА (интенсивный показатель
/и.п./ равнялся 3,5 на 100 тысяч человек), что на 37,4 % превышало уровень
ВГА в 2007 г. (рис. 3).

Рис. 3. Заболеваемость
гепатитом А населения в Республике
Татарстан в 2002-2008 годы (на 100 тысяч
человек) [1].
Следует
отметить, что вирус ВГА устойчив во внешней среде: при комнатной
температуре он сохраняется в течение нескольких недель, при температуре 4°С —
несколько месяцев, при минус 20°С — несколько лет. Источником ВГА являются больные люди. Механизм передачи
реализуется через воду, пищу, загрязнённые предметы. Роль каждого пути
передачи неодинакова в разных условиях. Водный путь, как правило, приводит к вспышкам.
Они охватывают население, пользующееся недоброкачественной водой. Пищевые
вспышки связаны
с заражением продуктов в предприятиях общественного питания невыделенными больными среди
персонала.
Контактно-бытовой
путь передачи имеет место при нарушении режима в детских дошкольных учреждениях. Восприимчивость к ВГА
высокая. Как и в предыдущие (2002-2007)
годы, в 2008 г. основная доля (94 % случаев) была представлена
желтушными формами ВГА. Среди пациентов преобладало взрослое население,
удельный вес которого составлял 71,6 %. В общей заболеваемости ВГА доля
детей и подростков (до 17 лет) не превышала 28,1 %.
Питьевую воду централизованных систем хозяйственно-питьевого
водоснабжения, не отвечающую гигиеническим нормативам по содержанию
условно-патогенных и патогенных бактерий, население республики в 2011 г.
не употребляло. Тем не менее, из 3075 населенных пунктов (н.п.) РТ только жители 1594 н.п. (51,8 %) были обеспечены
доброкачественной питьевой водой. Условно доброкачественной питьевой водой было
обеспечено 500 н.п. (16,2 %), в которых проживало 1027934 человек. В
167 н.п., где проживало 54599 человек, питьевая вода была
недоброкачественной. В целом в РТ удельный вес общей площади, необорудованной
водоотведением (канализацией), составил 20,4 %.
Эпидемический
процесс ВГА неоднозначно проявлялся на разных территориях РТ. Болезни была присуща осенне-зимняя
сезонность. Как правило, подъём заболеваемости начинался в июле-августе, достигая
наибольших показателей в октябре-ноябре и снижался в первой половине следующего
года. Профилактические
и противоэпидемические мероприятия содержали меры по обеспечению населения доброкачественной
водой и создания условий, гарантирующих выполнение санитарных правил,
предъявляемых к заготовке, хранению, приготовлению и реализации продуктов питания, а
также выполнению режима в дошкольных детских учреждениях, т.е. все те меры, которые
исключали реализацию
фекально-орального механизма передачи. При этом углубленному анализу подлежали все контакты в
коллективах, где могло произойти заражение данного больного и, в свою очередь, от
этого больного в конце инкубации и продромы. Выполнялось строгое соблюдение
противоэпидемического режима.
Для исключения механизма передачи ВГА
микробиологическими лабораториями ФГУЗ «Центр гигиены и эпидемиологии в РТ» в
2008 г. было выполнено 8850 исследований, направленных на выделение
вирусов из объектов внешней среды, в том числе 29 — с целью выделения антигенов
гепатита А в воде открытых водоёмов и источников питьевой воды и 3990 — на
наличие колифагов. Полученные данные свидетельствовали, что в воде
поверхностных водоёмов доля положительных проб колифагов составляла 5,9 %,
местах рекреации — 3,6 %, разводящей водопроводной сети — 5,5 %,
сточных водах — 3,5 %, точках вибриофлоры — 4,9 %. На 18
административных территориях республики исследования воды на наличие колифагов
не проводилось.
По эпидемиологическим показаниям в РТ
охват населения иммунизацией против ВГА оставался на сравнительно низком уровне
(например, на 01.01.2009 г. было привито 30009 человек). Частично
вакцинопрофилактикой были охвачены дети закрытых детских учреждений
(64,9 %), работники коммунальных хозяйств (14,3 %) и 157 контактных
лиц в эпидемиологических очагах острого ВГА. Для улучшения эпидемиологической
ситуации было принято постановление № 9 от 16.05.2008 г. «Об
эпидемиологической ситуации по вирусному гепатиту А в Республике Татарстан
и неотложных мерах по недопущению вспышечной заболеваемости».
В рамках постановления были учтены все
подлежащие иммунизации контингенты населения. Прививочная работа осуществлялась
в г. Казани, г. Набережные Челны, а также в других эпидемиологических очагах ВГА, включая
территории Агрызского, Алексеевского, Заинского, Лаишевского, Муслюмовского и
Нижнекамского районов. На 1.01.2012 г. в РТ против ВГА было привито 34546
человек, при этом частично были охвачены вакцинопрофилактикой дети закрытых
детских учреждений (36,9 %), работники коммунальных хозяйств (5,8 %),
общественного питания (8,4 %). Из плановых 3130 человек декретированных
контингентов населения в 2011 г. было привито 1919 работников
(61,3 %).
Таким
образом, на современном этапе главной
задачей профилактического здравоохранения в Республике Татарстан является
переход от диспансеризации отдельных контингентов трудящихся к государственной
системе массовой профилактики заразных и неинфекционных болезней на основе
инновационных технологий укрепления общественного здоровья и востребования здорового образа жизни населения.
Литература:
1.
Государственные доклады «О санитарно-эпидемиологической обстановке в Республике
Татарстан в 2005 г., 2007-2011 годах». Казань. (соответственно:
2006 г., 187 с.; 2008 г.,
206 с.; 2009 г.,
240 с.; 2010 г.,
258 с.; 2011 г.,
286 с.; 2012 г.,
283 с.).
2. Потапов А.И.,
Винокур И.Л., Гильденскиольд Р.С. Здоровье населения и проблемы
гигиенической безопасности. М. «ИНФРА-М». 2006. 304 с.
3. Щепин О.П., Купеева И.А.,
Щепин В.О., Какорина Е.П. Современные региональные особенности
здоровья населения и здравоохранения России. М. «Медицина-Шико». 2007.
360 с.
[1] — Постановление Правительства Российской Федерации «Об утверждении перечня социально значимых заболеваний и перечня заболеваний, представляющих опасность для окружающих (социально опасных заболеваний)» от 01.12.2004 г. № 715. /Собрание законодательства РФ, 06.12.2004, № 49, ст. 4916.