Технічні науки / 3. галузеве машинобудування
Афтаназів І.С.
Національний університет «Львівська політехніка»
Гордєєв А.І., Третько В.В., Довгий П.В.
Хмельницький національний університет
ОСОБЛИВОСТІ КОНСТРУКЦІЇ ВІБРАЦІЙНОГО ОБЛАДАНАННЯ ДЛЯ ВІДЦЕНТРОВОГО
ЗМІШУВАННЯ СИПКИХ РЕЧОВИН
Із проблемою якісної підготовки сумішей сипких матеріалів
(ССМ) стикаються у споріднених із загальним машинобудуванням виробництвах,
наприклад, у інструментальному при виготовленні абразивного та твердосплавного
інструменту, так і у доволі віддалених від машинобудування галузях народного
господарства. Наприклад, у ливарному виробництві при підготовці формівних
сумішей, в порошковій металургії - при змішуванні компонентів маси перед
спіканням, в машино- і транспортобудуванні - наприклад, при підготовці шихти
для спікання фрикційних і гальмівних накладок.
Таким чином, вирішення проблем, пов‘язаних із забезпеченням якості деталей
та виробів на основі заготовок із сумішей сипких матеріалів як загального машинобудування,
так і низки споріднених з ним галузей можливе, перш за все, шляхом
технологічного забезпечення високої якості перемішування сумішей при незначній
тривалості перемішувального циклу, для втілення чого необхідні створення нових
високоефективних і продуктивних методів перемішування із застосуванням вібрацій
та реалізуючого його обладнання оскільки відомі недосконалі.
Обертові барабанні змішувачі на сьогодні мають доволі широке промислове
застосування. Проте, барабанним змішувачам властивий один вагомий недолік –
надзвичайно низька продуктивність перемішування, обумовлений незначною (в межах
15-30 обертів за хвилину) частотою обертання барабана для здійснення
пересипання складників суміші під дією гравітаційних сил.
Вібраційні змішувачі позбавлені цього недоліку, проте через відсутність їх
серійного промислового виготовлення, недостатню глибину теоретичного і
експериментального дослідження процесів віброперемішування, ефективні і
високопродуктивні технології перемішування ССМ із використанням низькочастотних
вібрацій мають, на жаль, доволі обмежене застосування у виробничих умовах.
В силу цього, з метою технологічного забезпечення високої
якості виготовлення деталей машин та виробів загального машинобудування на
основі сипких матеріалів найперспективнішим є напрям, зорієнтований на розробку
і дослідження нового високоефективного і продуктивного методу [1] перемішування
сумішей сипких матеріалів, зорієнтованого на використання вібрацій як
найдосконалішого джерела надання енергії на інтенсивні просторові переміщення
гранулам складників суміші при її перемішуванні, та розробку конструктивних
схем і методики проектування віброзмішувачів
[2].
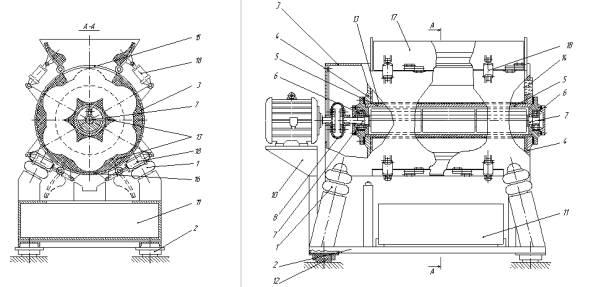
На рис.1. зображена принципова схема віброзмішувача дискретної дії для вібраційно-відцентрового перемішування ССМ різноманітних груп якості.

Рис. 1. Принципова схема вібраційного змішувача
дискретної дії для вібраційно-відцентрового перемішування
сумішей
Його універсальність забезпечується використанням змінної футерівки внутрішньої поверхні контейнера із різноманітною конфігурацією поперечного перерізу. За рахунок забезпечуваної цим зміни площі привідної ділянки внутрішньої поверхні контейнера це дає змогу якісного приготування сумішей сипких матеріалів різноманітних груп якості. Основним органом цього віброзмішувача є пружно встановлений на чотирьох гумово-кордових пневмобалонах 1 на рамі 2 контейнер 3 замкнутої циліндричної форми. Між торцевими стінками 4 контейнера вздовж його геометричної осі розміщена центральна вставка 5 у вигляді пустотілої труби, всередині якої на опорах кочення 6 розміщений вал 7 дебалансного віброзбудника коливань. На валу розташовані дебалансні вантажі, які виконані у формі півдиска і встановлені з можливістю провертання один відносно другого, що забезпечує ступінчасте регулювання амплітуди коливань контейнера. Вал 7 через пелюсткову муфту 8 з’єднано із валом електродвигуна приводу 9, який закріплений на підставці 10 рами 2. Під контейнером на рамі встановлено тару 11 для готової суміші. Для віброізоляції рама оснащена вібропоглинаючими опорами 12.
Усередині внутрішньої поверхні контейнера та на зовнішній поверхні центральної вставки розташовано змінну гумову чи поліуретанову футеровку 13, яка поряд із звукоізоляцією дозволяє формувати контейнер різноманітного поперечного перетину із змінною привідною площею. Це забезпечує можливість використання віброзмішувача для якісного перемішування з мінімальною тривалістю сумішей різноманітних груп якості, тобто його певну універсалізацію. Зміну футерівки здійснюють через торцеву стінку контейнера, яка до того ж оснащена оглядовим вікном 14 для спостережень за характером переміщень часток складників суміші у вібруючому контейнері.
Для механізації завантажувально-розвантажувальних робіт контейнер оснащено завантажувальною 15 і розвантажувальною 16 горловинами, шарнірні кришки 17 яких з’єднані із штоками пневмоциліндрів 18.
Віброзмішувач оснащено
пультом дистанційного керування, який для покращення санітарно-гігієнічних умов
праці обслуговуючого персоналу може бути розміщеним в звукоізольованому
окремому приміщенні на робочому місці оператора. Пульт керування включає в себе
електричну і пневматичну мережі забезпечення функціонування віброзмішувача та
індикаторні і показуючи прилади. В електричну мережу віброзмішувача крім
електроприладів функціонування електродвигуна приводу (магнітного пускача,
блоку запобіжників, кнопок запуску і зупинки, індикації наявності напруги в
мережі тощо) включено реле часу, яке забезпечує автоматичне вимикання
електродвигуна приводу після досягнення заданої тривалості віброперемішування,
а також кінцеві вимикачі, сигнали яких вимикають або блокують запуск
електродвигуна приводу при надмірному чи заниженому тиску в пневмобалонах або різкому падінні
тиску внаслідок ушкодження пневмомережі
(втрата щільності на з’єднаннях, розрив пневмобалона тощо) .
На рис. 2 показано профіль поперечного перетину контейнера для дискретного
перемішування суміші надвисокої якості
вольфрамо-кобальтового твердого сплаву з обсягом одиничної порції завантаження
0,5 м3.
|
|
|
Рис. 2. Поперечний перетин контейнера |
У таблиці 1 наведено основні конструктивні параметри поперечного перетину контейнера вібраційної машини для вібраційно-відцентрового перемішування заданої
суміші.
Таблиця 1.
Особливості конструкції поперечного перетину контейнера
|
№ |
Основні конструктивні параметри |
Величина
параметру |
|
1 |
Кількість вписаних циліндричних
поверхонь |
6 |
|
2 |
Кут розташування осей |
60° |
|
3 |
Об’єм порції одноразової загрузки,
м3 |
0,50 |
|
4 |
Співвідношення об’єму загрузки
та контейнера |
0,8 |
|
5 |
Співвідношення довжини та діаметра
контейнера |
2 |
|
6 |
Довжина контейнера, мм |
1683,9 |
|
7 |
Максимальний діаметр внутрішньої
поверхні контейнера, мм |
841,9 |
|
8 |
Діаметр вписаних в контейнер
поверхонь, мм |
280,6 |
|
9 |
Діаметр розміщення центру вписаних
поверхонь, мм |
561,3 |
|
10 |
Діаметр внутрішньої поверхні
контейнера, мм |
701,6 |
|
11 |
Діаметр вставки контейнера, мм |
421,0 |
|
12 |
Зовнішній діаметр контейнера,
мм |
858,8 |
|
13 |
Діаметр порожнини вставки контейнера,
мм |
266,6 |
|
14 |
Кут b, градус |
93,1 |
|
15 |
Кут g, градус |
143,6 |
Вібраційний змішувач
дискретної дії для вібраційно-відцентрового перемішування сумішей сипких
матеріалів простий за конструктивною будовою, а отже порівняно дешевий,
надійний і довговічний в експлуатації, універсальний, що дозволяє розширити
технологічні можливості вібраційного змішувального обладнання на суміші високої
та надвисокої груп якості. Це дає підставу для
широкого промислового використання як на етапі реконструкції діючих
виробництв по виготовленню заготовок деталей із сумішей сипких матеріалів, так
і при запровадженні нових технологій перемішування.
Основними технологічними і конструктивними параметрами вібраційно-відцентрового
перемішування сумішей, що є визначальними для якісного приготування сумішей, є:
параметри вібрацій, тобто амплітуда і частота коливань контейнера, його
внутрішня привідна площа та її конфігурація, співвідношення об‘єму завантаження
до робочого контейнера і тривалість перемішування.
Література:
1. 1. Афтаназів І.С. Методика вибору оптимальних технологій і обладнання при змішуванні сипучих матеріалів / І.С. Афтаназів, О.Р. Баранецька //Вісник Держ.ун-ту “Львівська політехніка”.-2000. – Вип. № 371: “Оптимізація виробничих процесів і технічний контроль у машинобудуванні і приладобудуванні”, с. 14 – 21.
2. Афтаназів І.С. Аналіз моделі руху системи обладнання для вібраційно-відцентрового
перемішування / [І.С. Афтаназів, А.І. Гордєєв, В.В. Третько, Ю.І. Лізвінський] // Матеріали III Міжнародної наук. прак. конф. «Эффективные инструменты
современных наук-2007». Технічні науки: Том 8. – Дніпропетровськ,
2007. – С. 35–37.