Технические науки/3.
Отраслевое машиностроение
Главчев М.Д., Рамейкова
А.А.
Владимирский
государственный университет имени Александра Григорьевича и Николая
Григорьевича Столетовых (ВлГУ), Россия
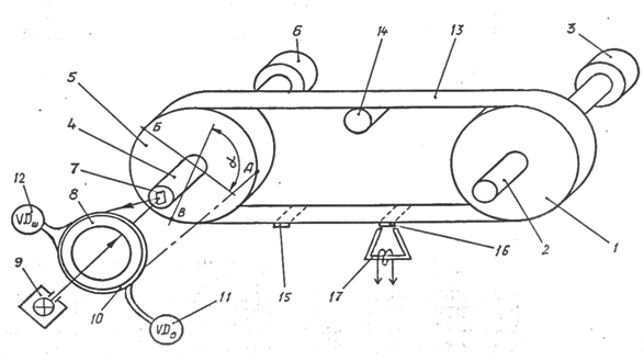
Стенд для исследования решенной передачи
Предложен простой способ измерения относительного
проскальзывания ременной передачи и устройство для его реализации. Способ
реализуется на типовых элементах цифровой электроники.
Шкив 1 установки закреплен на валу 2, к которому
присоединён электродвигатель 3. На другом валу 4 закреплен шкив 5. Вал 4 связан
с тормозом 6 в виде генератора постоянного тока. На консольной торцовой части
вала 4 под некоторым углом к плоскости торца закреплено плоское зеркало 7.
Имеется отдельная оправка 8, содержащая осветитель 9, который формирует
световой луч малого сечения по осевой линии вала 4. На оправке 8
перпендикулярно осевой линии вала 4 закреплен кольцевой световод 10, одно
световолокно которого оптически связано с фотодиодом 11 (ФД0), а все
остальные световолокна – с фотодиодом 12 (ФДш).Оправка установлена
так, что линия торца световолокна диода VD0 проецируется на
точку А шкива 5. Таким образом, при вращении вала 4 отраженный от зеркала 7
оптический луч осветителя 9 обегает торцы световолокон световода 10.
Шкивы 2,5 соединены плоским ремнем 13 с устройством
натяжения 14. На внешней поверхности ремня приклеены две тонкие узкие
поперечные полоски 15,16 из магнитопроводного материала. Имеется неподвижный
магнитоэлектрический датчик 17 для взаимодействия посредством магнитного поля с
полосками 15,16. Для соблюдения фазировки сигналов фотодиода 11 VD0 и датчика, полоски приклеивают на неподвижном ремне в
точках Б и В с образованием угла α.

Рис.1.
Конструктивная схема ременной передачи
При работе ременной передачи линейная скорость
внешней поверхности шкива 5 равна
Vш= ωшRш =
(1)
где ωш – угловая частота вращения,
Rш – радиус
шкива,
tш - время одного
оборота шкива.
Линейная скорость ремня
Vр=
=
, (2)
где lр = αR – см. рис.1.
Относительное проскальзывание ремня с
учетом формул (1), (2) составит
С =
=
,
(3)
где tр – время движения ремня на участке lр.
Обозначим
К =
(4)
Тогда формула (3) примет вид
С =
. (5)
При цифровом вычислении относительного
проскальзывания C интервалы tш и tр измеряются количеством импульсов известной частоты. При
отсутствии проскальзывания (C=1) количество
импульсов в счетчиках tш и tр должно быть одинаковым. Следовательно частота измерительных
импульсов, согласно формуле (5) на входе в счетчик tш должна быть в К раз
меньше частоты импульсов на входе в счетчик tр.
Рис.2. Функциональная схема обработки первичных сигналов
Предлагаемый способ измерения проскальзывания ремня
в передаче реализуется функциональной схемой рис.2. На рис.3. приведены эпюры
напряжений в отдельных точках функциональной схемы.
Сигналы фотоприемников VD0 и VDш по переднему фронту преобразуются формирователями 18,19 в
короткие импульсы прямоугольной формы - см. эпюры напряжений на рис.3. Импульсы
формирователя 18 поступают на счетный вход триггера 20. Длительность выходного
импульса этого триггера равна времени одного оборота шкива 5, т.е. tш. Данный интервал измеряется количеством импульсов,
поступающих на вход счетчика 21 с выхода делителя 22 через конъюнктор 23.

Рис.3. Эпюры напряжений в отдельных точках функциональной системы
Для измерения интервала tр служит счетчик 24,
который заполняется импульсами с выхода формирователя 19 через конъюнктор 25.
Время заполнения задается триггером 26, который управляется импульсами датчика
17 через формирователь 27.
Вычисление результата осуществляется компьютером по
сигналам счетчиков 21,24, шинам делимого 28 и делителя 29 (в параллельном
коде). Интервал считывания tс формируется из
выходного сигнала триггера 30. Цепь формирования представлена дифференцирующей RC-цепочкой 31, инвертором 32, линией задержки 33 и RS-триггером 30. Управление шинами считывания осуществляется
конъюнкторами 34 и 35. Сигнал сброса tR всех триггеров
берется с выхода линии задержки.
При работе ременной передачи отраженный от зеркала 7
луч осветителя 9 обегает торцы световолокон кольцевого световода 10. Оптический
сигнал преобразуется фотодиодами VD0 11 и VDш 12 в электрический, затем формирователями 18,19
преобразуется в короткие импульсы прямоугольной формы.
Пусть в момент времени t1 триггер 20
перебрасывается из единичного в нулевое состояние. На выходе дифференцирующей
цепочки 31 будут импульсы U31. Инвертор пропустит
только инвертированные импульсы в моменты времени t3, t8 и т.д. На выходе линии задержки 33 короткий импульс tR появится в момент t2. В момент времени t3 триггер 20 перебрасывается в единичное состояние и
конъюнктор 23 открывает прохождение импульсов с выхода делителя 22 на вход
счетчика 21. Счет прекращается в момент t6. В счетчик 21 будет
записано количество импульсов пропорциональное tш с учетом
коэффициента деления К.
Триггер 26 формирует прямоугольный импульс в
интервале t4 – t5 по сигналам датчика
17. Конъюнктор 25 за этот интервал пропускает импульсы с выхода формирователя
19 на вход счетчика 24. В счетчик будет записано количество импульсов
пропорциональное времени tр.
Вычисление частного целесообразно осуществлять
компьютером, связь с которым реализуется по шине делимого 28 и шине делителя
29. Разрешенный интервал считывания tс t6 – t7 задается триггером 30
с применением конъюнкторов 34,35.
Таким образом, предлагаемая установка для
оценки качества ременной передачи конструктивно достаточно проста, реализуется
на типовых элементах электронной техники.
Литература:
1.
Способ
определения линейной скорости. Патент RU
2 186 398 ПМК G01P 3/50. /Е.П.
Тетарин, И.Е. Тарасов, Д.С. Потехин. Опубл. 27.07.2002.
2.
Измеритель
линейной скорости движения объекта. Патент RU 2 441
245 МПК G01P 3/36. /И.Н. Волков, И.М. Бородянский, Ю.М.
Бородянский и др. Опубл. 27.01.2012.
3.
Датчик
абсолютной линейной скорости объекта. Патент
RU 2 079 141 ПМК G01P 3/36. /А.В
Бабиченко, Опубл. 10.05.1997.
4.
Устройство для
деления чисел. Авт. Свид. SU
1 709 308 ПМК G06F 7/60. /Е.А. Оленев, Л.Н. Шарыгин. Опубл. 30.01.1992.