УДК 627.843:532.533
Гашение энергии сбросного потока на
выходе из закрытых водосбросов
Джурумбаева Р.А. ,
Сейткасымова С.А.
Таразский государственный университет
имени М.Х. Дулати (Казахстан)
При
проектировании водосбросных сооружений особое место занимает задача оптимального
сопряжения бьефов и гашения избыточной кинетической энергии сбросного потока
[1]. Как известно, последним конструктивным узлом любого туннельного
водосброса является сопряжение
сбросного потока с руслом реки. К этому узлу предъявляются следующие требования:
1.
Поток
воды в туннеле обычно имеет большие скорости (больше 15÷20 м/с), а
удельные расходы достигают нескольких десятков и даже сотен м2/с,
поэтому узел сопряжения должен обеспечить снижение скорости потока до величины
близкой к бытовой в реке и обеспечить расширение потока, снизив удельные
расходы.
2.
При
соединении двух потоков возникают волны и подпор на вышележащем участке реки
или канала, поэтому узел сопряжения должен обеспечить режим потока, в зоне
сопряжения с рекой, близкой к естественному.
3.
Узел
сопряжения должен обеспечить поворот потока в нужном направлении, позволяющий
выводить сбросной туннель в непосредственной близости от плотины - это дает
возможность сократить длину водосбросного туннеля.
4.
Сбросной
поток не должен оказывать неблагоприятное воздействие на режим работы и
устойчивость сооружений гидроузла.
Для
того, чтобы удовлетворить перечисленным
требованиям, на многих гидроузлах все водосбросные туннели продолжены далеко за
створ сооружения и большинство из них сопрягается с руслом реки под углом 200.
Эти
две особенности существующих туннельных водосбросов позволяют не соблюдать
перечисленные выше требования. Действительно, сброс воды на большом расстоянии
от сооружения удаляет зону динамических процессов от створа сооружений (падение
струи, гидравлический прыжок, возникновение волн), но тем не менее, они
остаются. В этой зоне возможно возникновение
деформаций русла, что конечно не желательно и такая схема удлиняет
трассу водосбросного туннеля, что снижает экономичность сооружения.
Изучение
компонованных схем гидроузлов с туннельными водосбросами позволяет сделать
следующие выводы:
1. Сопряжение бьефов
свободно отброшенной струей позволяет достаточно просто и надежно сбросить
поток в реку. Однако в зоне падения струи возникают размывы русла и волны на
свободной поверхности. Если русла и берега сложены из прочной скалы, то такой режим
сопряжения возможен, но при этом место сопряжения сбросного потока с руслом
должно быть достаточно удалено от основных сооружений гидроузла. Остается не
решенным вопрос о повороте потока, чтобы уменьшить угол между осью потока и
отводящего русла. Так, например, на Чиркейской ГЭС, после выхода из туннеля,
параллельно реке проложен отводящий канал длиной 216,7 м, который заканчивается
криволинейным носком-трамплином. Это дополнительное сооружение построено для
того, чтобы обеспечить отвод сбросного потока за поворот реки.
Криволинейный
носок-трамплин может одновременно обеспечить расширение и отброс потока.
Однако, эта конструкция хорошо работает только при расходах близких к
расчетному.
2. Наилучшей конструкцией
узла сопряжения является водобойный колодец. Однако для его удовлетворенной
работы он должен иметь большие размеры, в горной местности не всегда можно
найти подходящую площадку. Кроме того, водобойный колодец не решает вопрос
поворота потока.
3. Сопряжение водосбросного
туннеля с отводящим руслом непосредственно, когда поток выходит из низового
портала прямо в реку. Это имеет те же недостатки, что при сопряжении бьефов
свободно- отброшенной струей.
Резюмируя
изложенное можно сказать, что для туннельных водосбросов необходимо разработать
конструкцию, которая обеспечивала бы гашение энергии сбросного потока, его
поворот на необходимый угол и резкое снижение удельных расходов.
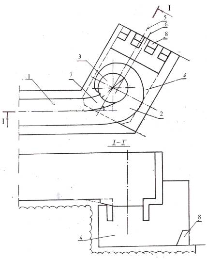
Для
решения этих вопросов была разработана конструкция, названная вихревой перепад
[2]. Это низконапорное сооружение состоит (рис.1) из подводящего туннеля (7),
спиральной камеры (5), короткой цилиндрической шахты (8) и камеры гашения (4),
из которой сбросной поток отводится в реку.

Рис.1. Вихревой перепад на выходе из
водосбросного туннеля:
1- ось шахты, 2- ось камеры гашения, 3- зубчатый
гаситель, 4-камера гашения, 5- спиральная камера, 6- пониженный участок подводящего
канала, 7- подводящий туннель, 8- шахта.
Получив
закрутку в спиральной камере, поток попадает через шахту в камеру гашения, где
образуется кольцевой гидравлический
прыжок. Спиральная камера и шахта обеспечивают поворот потока на любой угол по
отношению к первоначальному направлению движения. В камере гашения происходит
резкое расширение потока и гашение его энергии. Тем самым разработанная конструкция
отвечает всем требованиям, приведенным выше.
Конструкция
вихревого перепада была построена на водосбросном туннеле селезащитной плотины
на оз. Иссык (Казахстан). Применение этой конструкции позволило сократить длину
сбросного туннеля на 833 м, закончив его у самого основания низового откоса
плотины. Успешная работа вихревого перепада построенного на оз. Иссык, а за
время эксплуатации по нему пропущены расходы до 45 м3/с, позволили
принять решение о строительстве аналогичного перепада на водосбросном туннеле
Бес –Тюбинского гидроузла (Казахстан). На этом узле вихревой перепад должен
обеспечить не только гашение избыточной энергии потока, но и его поворот на 600,
относительно оси сбросного туннеля. Опыт проектирования и гидравлических
исследований вихревых перепадов плотины на оз. Иссык и Бес –Тюбинского
гидроузла показывает, что применение вихревого перепада позволяет прокладывать
трассы водосбросных туннелей по прямой. Поворот потока в нужном направлении
обеспечивается концевым сооружением. Известно, что поворот водосбросного
туннеля всегда связан с решением вопросов динамического воздействия на
облицовку туннеля, а также возникновением перекоса свободной поверхности и
косых волн. Разработанная конструкция решает и эти затруднения с подземными
сооружениями.
Дальнейшим
внедрением и развитием новой конструкции является вихревой перепад трубчатого
водоспуска на оз. Кольсай (Казахстан) [3]. Это озеро завального происхождения,
в течение многих веков оно регулировалось подземными потоками. В последние годы
гидрогеологический режим подземных потоков изменился, в сторону уменьшения
расхода и озеро начало переполняться. Для регулирования уровня озера и
исключения опасности его переполнения и перелива воды через гребень завала,
построен трубчатый водосброс в виде двух
ниток труб диаметром 1420 мм, они проложены по правому берегу ущелья.
Гашение
избыточной кинетической энергии сбросного потока для трубчатого водоспуска предлагается
выполнить в вихревом перепаде новой конструкции (рис.2).

Рис.2. Вихревой перепад с двойной закруткой потока:
1-
правый
трубопровод, 2-спиральная камера, 3-внутренняя шахта, 4-внешняя шахта,
5-левый трубопровод, 6-камера гашения.
Перепад
имеет два подводящих трубопровода. Правый трубопровод (1) (по ходу
воды) подсоединен к спиральной камере (2), который переходит в шахту (3). Поток,
выйдя из шахты, ударяется о дно камеры гашения (4), где образуется веерная
струя с кольцевым гидравлическим прыжком. Шахта спиральной камеры коаксиально
совмещена с внешней шахтой большего диаметра (5), к которой тангенциально
подсоединен левый трубопровод (6).
Внешняя шахта короче внутренней и поток, закрученный в этой шахте,
вступает во взаимодействие с кольцевым гидравлическим прыжком, где возникает
интенсивное гашение энергии.
Такая
сложная конструкция принята из следующих соображений. Трубчатый водосброс на оз.
Кольсай является нерегулируемым, свободно–поточным, расходы в течение года и
суток колеблются значительно. Пропускная способность трубопроводов рассчитана
таким образом, чтобы они работали в безнапорном режиме. Концевой перепад не
должен менять это режим, чтобы не создавать дополнительной нагрузки на сварные
швы трубопроводов.
Для
решения этой задачи площадь подводящих труб перепада принята на 20% больше
площади сечения трубопроводов. Спиральные камеры, как показывают предыдущие
исследования, не создают подпора и сбросной поток беспрепятственно пройдет
систему: подводящий трубопровод – спиральная камера – шахта и попадает в камеру
гашения. Во избежание образования подпора на выходе, внешняя шахта короче
внутренней, т.е. взаимодействие противоположно закрученных потоков произойдет в
пределах самой камеры гашения.
Опыты
показали, что все изложенные предположения оправдались. Новая конструкция
вихревого перепада с двойной закруткой потока работает вполне
удовлетворительно.
Вихревой
перепад водосброса плотины на оз. Иссык построен бетонным. Для трубчатого
водосброса на оз. Кольсай рассматривается
возможность сооружения его из металла,
так как водосброс строится высоко в горах, где нет условий для создания
стройплощадки. Металлический вихревой
перепад может быть собран на любом заводе металлоконструкций, а затем доставлен
к месту установки.
Таким
образом, внедрение разработанных новых конструкций, обеспечивающих гашение
энергии сбросного потока на выходе из закрытых водосбросов позволяют повысить
надежность эксплуатационных характеристик, снизить капитальные затраты
проектируемых и строящихся гидроузлов.
Литература:
1.
Гальперин
Р.С. , Розанов Н.Н., Золотов Л.А., Цедров Г.Н. Гашение энергии
высокоскоростного потока в туннельных водосбросах. Гидротехническое
строительство, Москва, 1972, №4.
2.
Ахмедов
Т.Х., Джартаева Д.К., Бельгибаев Б.К., Джурумбаева Р.А. Перепад водосброса.
Заключение о выдаче онновационного патента на изобретение № 960390.1.
3.
Джурумбаева Р.А., Джартаева Д.К., Ахмедова
А.Т. Перепад водосброса. Предварительный патент №20743 на изобретение.