Современные информационные
технологии/Компьютерная инженерия
Мясищев
А.А.
Хмельницкий
национальный университет, Украина
О возможности построения БпЛА длительного полета с использованием солнечных
элементов
В
настоящее время актуальной задачей является построение беспилотных летающих
аппаратов (БпЛА) длительного полета, например для
выполнения задач аэровидео и фотосъемки, обеспечения
связью удаленных районов. Этот аппарат при полете должен удерживать заданную
высоту и позицию, выполнять автоматически полет по заданной траектории,
приземляться в заданной точке. Для этого используются полетные контроллеры,
оснащенные гироскопом, акселерометром, барометром, магнитометром, GPS
приемником, как например, в полетном контроллере Ardupilot
2.6 (использует внешние магнитометр и GPS приемник). Рассмотрим возможность
построения таких БпЛА на основе существующих
экспериментальных моделей и приближенных методов расчета. Следует также
отметить, что в настоящее время стали доступны в продаже гибкие
монокристаллические элементы солнечных панелей высокой эффективности Sunpower Maxeon C60, имеющие
следующие характеристики:
Материал
- Monocrystaline
Напряжение
холостого хода - 0,67 В
Напряжение
- 0,56 В
Ток
короткого замыкания - 6 А
Ток
- 5,7 А
Мощность - 3,2
Вт
Эффективность -
21.8%
Размер
- 125 х 125 мм.
Появление этих
гибких, легких элементов, имеющих большую в четверть эффективность (21.8%), чем
стандартные элементы позволило создавать солнечные батареи высокой мощности с
малым весом.
Рассмотрим
пример существующей экспериментальной летающей модели на солнечных элементах
[1], показанной на рисунке 1.

Рис.1. Пример
экспериментальной модели на солнечных элементах
Электронная система управления
этой модели вместе с автопилотом Ardupilot 2.5, представлены на рис.2.

Рис.2. Система управления
моделью на солнечных элементах.
Представленная
модель пролетела больше 200км[2]. Батареи LiPo при посадке были полностью заряженные. На
модели установлено 30 солнечных элементов Sunpower
C60 размером 125x125mm (max ETA: 22,5%). Площадь
солнечной батареи: 0,467m². Размах крыльев 2м. Вес 1660г.
На рис.3
представлено фото FPV(first person
view) полета с совмещенной телеметрией. Видно, что
после пролета 15.84 км напряжение на силовой аккумуляторной батареи
соответствует полному ее заряду (16.81 В). Однако переключение на заряд батареи
от солнечных элементов производилось не автоматически, а дистанционно с пульта
управления, что опасно для литиевых
аккумуляторов. Например, при обрыве связи можно пропустить момент допустимой
зарядки по напряжению, что может привести к воспламенению батареи.

Рис.3. FPV полет с
совмещенной телеметрией.
Используя
известную среди моделистов программу eCalc [3]
выполним ориентировочный расчет простой модели самолета (рис.4) и сопоставим
результаты с расчетом квадрокоптера. После этого
сделаем выводы о возможности использования солнечных батарей для построения БпЛА на основе самолетной конструкции и мультироторной
(квадрокоптер, гексакоптер
и т.д.).
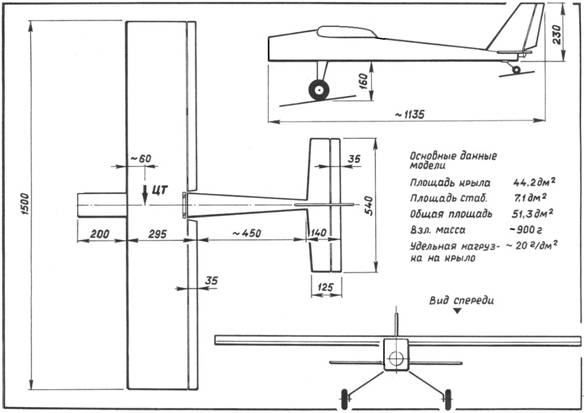
Для модели самолета на рисунке 4 выполнен расчет
следующих параметров:

Рис.4. Расчетная схема
простой модели самолета
Максимальный режим для мотора (SunnySky A2212-980):
Ток: 7.00 А
Напряжение: 7.17 В
Обороты: 5897 об/мин
Электрическая мощность: 50.2 Вт
Рассчитанные параметры для
самолета.
Полетный вес: 886 г
Скорость сваливания (расчетная):
20 км/ч
Макс. скорость (горизонт): 37
км/ч
Макс. скороподъемность: 2.1 м/с
Аккумулятор имеет общую емкостью
1800 мАч 2S1 (7,4в) способен продержать модель:
для минимального полетного
времени - 13.1 мин
для смешанного полетного времени -14.3
мин
Вес аккумулятора 86 г.
Пропеллер 10х45.
Тяговооруженность: 0.49 : 1
Ниже
представлен сравнительный расчет для квадрокоптера:
Рама F450. Мотор - SunnySky Х2212-980 - 4шт. Предельная мощность 300вт.
Максимальный режим для мотора:
Ток: 4x6.33А=25.32A
Напряжение: 6.87 В
Обороты :
5840 об/мин
Элект. мощность: 4x43.5Вт=174Вт
Рассчитанные параметры для коптера:
Полетный вес: 892 г
Скорость макс: 21 км/ч
Макс. скороподъемность: 2.6 м/с
Аккумулятор имеет общую емкость
1800 мАч 2S1 (7,4в) способен
продержать модель:
для минимального полетного
времени - 3.6 мин
для смешанного полетного времени
-5.7 мин
Вес аккумулятора 86 г.
Пропеллер 10х45 - 4шт.
По
расчетам коптер по полетному времени проигрывает
самолету примерно в 3 раза, по потребляемой мощности примерно в 3.5 раза для
максимальной нагрузки, а по скорости в 1.8 раза. Расчеты проведены при условии,
что на самолете установлены солнечные элементы, а на коптере
нет. Если на коптер поставить солнечные элементы, то
его вес возрастет еще на 250г. Следовательно по потреблению электрической
мощности он еще более проиграет БПЛА самолетного типа.
При
установленных на самолете 14 элементов Sunpower
C60 при хорошем солнечном дне с них
можно снять около 45 Вт электрической
мощности (расчетная мощность при максимальном режиме 50.2 Вт) при напряжении
7.8 В (расчетное - 7.17В), что достаточно для полета планера с параметрами,
представленными на рисунке 1.
С
помощью программы eCalc выполним оценку смешанного
времени полета БпЛА самолетного типа и времени
висения квадрокоптера и гексакоптера
в зависимости от емкости батареи. Эта оценка позволит выполнить дальнейшее
сопоставление разных систем в энергетическом отношении. При анализе необходимо
учитывать, что чем больше емкость батареи, тем больше ее вес, что приводит к
увеличению полетного веса летательного аппарата. Например, вес самолета (рис.1)
без батареи 700 г, с батареей 3000mAh - 1031г, а с батареей 12000mAh - 1624г.
Аналогично для коптеров. Были рассмотрены системы с следующими
исходными данными.
1. БпЛА
самолетного типа.
Вес пустого самолета (рис.4) -
700 г. Мотор SunnySky A2212-980, регулятор мотора
ESC-30, пропеллер - 8*45(DJI), площадь крыла ~50 кв.дм. Батарея LiPo 3S напряжением 11.1 В.
2. БпЛА
роторного типа.
2.1. Квадрокоптер
- рама F450, 4 мотора SunnySky X2212-980, регулятор
моторов ESC-30, пропеллер - 10*45(DJI), батарея LiPo
3S напряжением 11.1 В. Вес коптера без батареи 800 г.
2.2. Гексакоптер
- рама F550, 6 моторов SunnySky X2212-980, регулятор
моторов ESC-30, пропеллер - 10*45(DJI), батарея LiPo
3S напряжением 11.1 В. Вес коптера без батареи 1150
г.
На
рис.5. представлен график результатов расчета. Первая кривая для БпЛА самолетного типа показывает, что с увеличением емкости
батареи время полета увеличивается почти линейно. Кривая ограничена тяговооруженностью модели, при которой ее устойчивый полет
не может быть реализован. Расчетная скорость модели самолета для всего
диапазона изменения кривой 1 составляла 57 км/час. Максимальный расчетный
полетный вес составил 1624 г.
2-я
кривая соответствует квадрокоптеру. Видно, что для
любой емкости батареи максимальное время висения не превышает примерно 30
минут. Ограничение кривой 2 является недостаточная маневренность коптера по стику газа.
Максимальный расчетный полетный вес составил 2504 г. Максимальная расчетная
скорость - 42 км/час для батареи 4200mAh, потом она падает до 13 км/час. Для
рассматриваемого коптера лучшей емкостью для батареи
является ~6000mAh при времени висения 23 мин.
3-я
кривая соответствует гексакоптеру. Видно, что для
любой емкости батареи максимальное время висения также не превышает примерно 31
минуты. Ограничение кривой 3 является недостаточная маневренность коптера по стику газа.
Максимальный расчетный полетный вес составил 3706 г. Максимальная расчетная
скорость - 42 км/час для батареи 4200mAh, потом она падает до 15 км/час. Для
рассматриваемого коптера лучшей емкостью для батареи
является ~9000mAh при времени висения 27
мин. Видно, что гексакоптер может находиться в
воздухе с большей нагрузкой.

Рис.5. График зависимости
полетного времени самолета(1), квадрокоптера(2) и гексакоптера(3) от емкости силового аккумулятора
Выводы.
1. В настоящее время экспериментальные
исследования по созданию эффективных БпЛА длительного
полета на основе солнечных элементов
возможны только для самолетного типа.
2. Полеты в пасмурные дни возможны путем
замены солнечной батареи весом ~250 г на литиевые аккумуляторы с равноценным
весом. В случае замены возможна установка батареи емкостью около 7000mah, что
позволит БПЛА находиться в воздухе до 1 часа (первый вариант расчетов). С этой
целью солнечная батарея должна быть съемной, а в корпусе БпЛА
должно быть место для установки дополнительного аккумулятора.
3. Расчеты показали (второй вариант), что
время висения роторных систем при увеличении емкости батареи не увеличивается
почти линейно, как для самолетных систем, а медленно достигает характерного для
винтомоторной группы максимума, потом начинает уменьшаться.
4.
Расчетами показано, что БпЛА самолетного типа при
одинаковой с роторными системами емкостью батареи способны продержаться в
воздухе примерно в 3 раза дольше и пролететь расстояние примерно в 7-8 раз
большее за счет более высокой скорости.
Оценочные расчеты выполнялись для
приведенных выше исходных данных.
Литература
1. SOLAR powered Plane/Drone/FPV/Build/RCAircraft.
[Electronic resource]. - Mode of access: https://www.youtube.com/watch?v=rMkPjBf6dNQ&t=357s,
2016.
2. Record SOLAR flight [6
hours/200km] RC Plane/FPV/ Drone/Aircraft. [Electronic resource]. - Mode of
access: https://www.youtube.com/watch?v=KHV-RjvTb1c, 2016.
3. eCalc
the most reliable RC Calculator on the Web. [Electronic resource]. - Mode of
access: https://www.ecalc.ch/, 2017.