В.Ю. Попов, А.С. Янюшкин
Исследование контактной температуры при комбинированной электроалмазной
обработке
Общеизвестно, что температура резания оказывает сильное влияние на
процессы, протекающие в зоне контакта, одновременно являясь катализатором
контактных процессов, в частности, процесса пластической деформации, явлений
вторичной рекристаллизации, образования дефектного слоя и др. Поэтому важно, с
точки зрения формирования дефектных слоёв, изучить температурные процессы в
зоне резания при различных условиях шлифования [1].
Измерение производилось методом полу искусственной термопары [2]. В
качестве термоэлектрода служила хромелевая проволочка диаметром 0,01 мм,
заложенная между обрабатываемыми пластинами Р6М5 (рис.1). На обрабатываемые пластины
наклеивались слюдяные прокладки толщиной 0,003…0,005 мм с целью исключения
замыкания.
Конец термоэлектрода при обработке размазывается кругом, образуя
горячий спай с обрабатываемой пластиной Р6М5. В качестве регистрирующего
прибора использовался самопишущий малоинерционный прибор Н327, с частотой
собственных колебаний 100 Гц, что намного превышает частоту колебаний рабочего
процесса, который составляет 5…7 Гц.

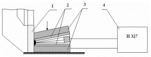
Рис.1. Схема измерения контактной температуры:
1 – алмазный круг; 2 – изоляционные прокладки; 3 – пластины Р6М5;
4 – самопишущий прибор
Исследование температуры в зоне контакта
осуществлялось при различных методах и режимах шлифования. Экспериментальные
данные (рис.2) свидетельствуют, что в зависимости от условий шлифования
температура резко изменяется.

Рис.2. Контактная температура, образующаяся в зоне контакта
при разных методах шлифования
Так, например, при работе всухую
температура в зоне резания составляла 520°С. Применение в качестве охлаждающей
среды стандартного электролита снижает температуру в 2 раза. А при работе с
непрерывной правкой круга, то есть когда режущие свойства круга высоки,
температура находится в пределах 150°С. Изучение процессов при методе электрохимического
травления, то есть в тех условиях, когда обрабатываемые пластины разупрочняются
под действием тока, даёт несколько иную картину.
При увеличении тока травления от 10 до 50
А/см2 температура в зоне резания повышается более чем в 4 раза (от
250°С до 1050°С). Такое резкое повышение температуры происходит из-за наличия
плотного контакта между инструментальной и обрабатываемой поверхностью и трения
между ними. Кроме этого, с увеличением плотности тока травления повышаются
электроэрозионные процессы, приводящие к оплавлению тонкого поверхностного слоя
обрабатываемого материала.
При шлифовании КЭАО минимальная
температура зарегистрирована при плотности тока правки iпр = 2
А/см2 и тока травления iтр = 5 А/см2 (рис.2). Она составляет 150°С.
Далее при увеличении плотности тока травления до 50 А/см2 температура
возрастает до 640°С. Это повышение объясняется наличием интенсивных
электрохимических реакций и, частично, электроэрозией.
Следует заметить, что, несмотря на столь значительные температуры, в
целом инструмент, при шлифовании КЭАО остаётся холодным, а тепловые процессы
протекают в тонком поверхностном слое, который в основном удаляется при
резании.
При КЭАО инструментальных сталей были проанализированы полученные
зависимости, изучено формирование дефектного слоя и его особенности, а также
получен ряд графических зависимостей по шероховатости поверхности и температуре
в зоне контакта. Изучение качественных характеристик процесса показало, что
наиболее оптимальными режимами с учётом полученных данных являются следующие: V = 35 м/с; S = 1…1,5 м/мин; t = 0,015…0,02 мм/дв.ход; iпр = 0,17…0,25 А/см2; iтр = 6,25 А/см2.
На данных режимах шероховатость поверхности находится в пределах Ra = 0,06…0,07 мкм, алмазный круг работает в
режиме самозатачивания, дефектный слой образцов и температура в зоне контакта
минимальны.
Проведенные исследования свидетельствуют,
что соблюдение установленных технологических режимов КЭАО позволяет значительно
расширить применение алмазных кругов на операциях шлифования, обеспечивая при
этом отсутствие на обрабатываемой поверхности дефектного слоя [3]. Происходящее
во время обработки пластическое деформирование металла приводит к его
упрочнению с последующим устранением наклёпа процессом рекристаллизации,
протекающим при высоких температурах. Известно, что рекристаллизация происходит
не во время деформации, а сразу после её окончания, и тем быстрее, чем выше
температура. Однако температура, возникающая в зоне контакта при КЭАО,
составляет всего 150 °С и не вызывает
рекристаллизацию элементов, входящих в состав быстрорежущей стали.
ЛИТЕРАТУРА
1. Контактные процессы при электроалмазном шлифовании: моногр. / А.С. Янюшкин, В.С. Шоркин. – М.: Машиностроение-1, 2004. – 230 с.
2.
Комбинированная
электроалмазная обработка
инструментальных сталей: моногр. / А.С. Янюшкин, В.Ю. Попов, Е.В. Васильев,
А.Ю. Попов; под общ. ред. А.С. Янюшкина. – Братск: БрГУ, 2009. – 228 с.
3.
Атомно-молекулярные
процессы в зоне алмазного круга и обрабатываемого материала / А.С. Янюшкин,
П.В. Архипов // Технология металлов. – 2010. – № 1. – С. 25-33.