Секція Сільське господарство

Підсекція “Технологія зберігання і

переробки сільськогосподарської

продукції

 

Божок А.М., Майсус В.В, Венгер М.А., Волинкін М.П.

Подільський державний аграрно–технічний університет

СУШАРКА З ВИКОРИСТАННЯМ ТЕПЛОВИХ ВІДХОДІВ ТОПОК ЦЕГЕЛЬНИХ ПІДПРИЄМСТВ

 

         Широко розповсюджені  цегельні підприємства є споживачами значної кількості теплової енергії, яку одержують від спалювання в топках природного газу, вугілля та інших дефіцитних в теперішній час органічних палив. Відповідно до теплового балансу тепло від продуктів згорання палива в основному витрачається на технологічний процес з одночасним засвоєнням його оточуючим середовищем, починаючи з приміщення топок, через огородження, з готовою продукцією і відпрацьованими димовими газами. Це значно ускладнює використання теплових втрат одним споживачем. Тому, враховуючи просторове розміщення і значні відстані між джерелами теплових відходів, а також для зменшення транспортних втрат і спрощення технічної реалізації, більш доцільно сушарки розміщувати біля самих джерел. При цьому локальні сушарки в залежності  від місць розташування мають свої конструктивні особливості, але із відомих варіантів технічних рішень можуть бути конвеєрними або барабанними. Для використання теплових відходів топок пропонується конвеєрна теплиця.

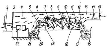
         Теплиця містить сушильну камеру (СК) з тунельним ковпаком 6 (Рис.1), вхід якого починається безпосередньо із приміщення 4 з розташованими печами 22, в якому установлена система приточної вентиляції з припливною пневмолінією 1, регулюючим шибером 2 і вентилятором 3. Зовнішнє з поза приміщення повітря поступає через пневмолінію 1, шибер 2, під дією вентилятора 3 нагрівається за рахунок втрат теплоти топок 22 в приміщення, перетворюється в сушильний агент (СА) і далі використовується в технологічному процесі СК. По всій ширині СК на її вході від приміщення топок установлений розвантажувальний транспортер 20 і бункер 21 висушеної готової продукції.

Рис. 1. Принципова схема сушарки з використанням теплових відходів топок цегельних підприємств

         Вздовж тонельної СК по всій її ширині всередині установлений конвеєр із нахилених під різними кутами до горизонту і на різних висотах окремих секцій 5, 7, 8, 9, 10 замкнених транспортерів. На виході СК установлений завантажувальний транспортер 17, бункер 16 завантажувального сирового матеріалу, витяжна пневмолінія 13 з шибером 14 і  витяжний вентилятор 15. Завантажувальний 17, розвантажувальний 20 і окремі секції 5, 7, 8, 9, 10 замкнених транспортерів виконані з перфорованої стрічки і мають захвати 12, за допомогою яких висушуваний матеріал 11 переміщується від виходу до входу СК.

         Рух транспортерів 20, 17 і окремих секцій 5, 7, 8, 9, 10 забезпечується від електропривода, за допомогою якого можна здійснювати безступеневе змінювання його вихідної частоти обертання, а разом з цим і швидкість переміщення всіх транспортерів.

         В СК технологічний процес здійснюється за  рахунок конвекції і за протитоковою схемою, при якій СА і висушуваний матеріал рухаються у протилежних напрямках.

         У ковпаку 6 СК передбачені дверці 18, 19 встановлені з двох  боків. Через них обслуговуючий персонал може проходити усередину камери для огляду, виконання ремонту і настроювання обладнання, монтажно–демонтажних робіт, а також для здійснення контролю за технологічним процесом та інших операцій.

         Працює сушарка наступним чином. Повітря із зовнішнього середовища під дією приточного вентилятора 3 через пневмолінію 1, регулюючий шибер 2 поступає у приміщення 4 топок, де за рахунок теплоти, від втрат топок у приміщення, нагрівається і далі у вигляді СА поступає в СК. При цьому з протилежного боку СК завантажений у бункер 16 сировий матеріал транспортером 17 подається на транспортер секції 10 конвеєра камери, а далі переміщенням і пересипанням на транспортерах секцій 9, 8, 7, 5 рухається проти потоку нагрітого СА. Омиваючи секції, СА проходить через отвори стрічок транспортерів та шар висушуваного на них матеріалу 11, поглинає з нього вологу і через витяжну пневмолінію 13 вентилятором 15 відпрацьований СА видаляється назовні. Висушений продукт із останньої секції 5 конвеєра СК розвантажувальним транспортером 20 подається у бункер 21 готової продукції.

         Кількість висушуваного матеріалу, яка може  проходити через СК, і відповідно, її  виробність може змінюватись регулюванням швидкості поступального руху транспортерів завдяки можливій зміні частоти обертання електропривода. В даному випадку шиберами 2, 14 відповідно повинна змінюватись кількість припливного повітря відпрацьованого СА і кількість теплоти, яка поступає у приміщення в залежності від режиму теплового навантаження топок.

         У запропонованій сушарці, за рахунок відсутнього безпосереднього контакту висушуваного матеріалу з димовими газами, забезпечується гігієнічність протікання технологічного процесу сушки, а також покращуються умови праці оператора обслуговуючого топки шляхом відведення теплових відходів із залученням припливно–витяжної вентиляції і пониження температури повітря в приміщенні топкового відділення. Регулюванням кількості припливного повітря і СА усуваються можливі  протяги.

         Таким чином, використання сушарок, працюючих на теплових відходах топок цегельних підприємств дає можливість без будь–яких на це затрат органічного палива одержувати дешеву і екологічно чисту продукцію.