УДК 669.187.2.001.7
ПЕРЕРАБОТКА ОТХОДОВ ПТИЦЕФАБРИК
В СИНТЕЗ- ГАЗ МЕТОДОМ ПЛАЗМОХИМИИ
Мустафин Е.С., Касенов Р.З., Пудов И.М., Айнабаев А.А., Сатымбаева А.С.
Карагандинский государственный университет имени Е.А.Букетова,
Республика Казахстан, e-mail: aliopel_82t@mail.ru
Современный Казахстан - одно из
государств с богатейшими запасами топливно-энергетических ресурсов. Однако ввиду
того, что нефть, газ, уголь являются исчерпаемыми природными богатствами, а
также их использование приносит огромный вред окружающей среде, разработка альтернативных
источников энергии является актуальной экологической, экономической и научной
задачей.
В качестве основной тенденции
развития топливного рынка международными экспертами заявлена биоэнергетика,
которая должна стать фундаментом для начала новой эры энергетики. Конкретная
задача на сегодня состоит в поиске топлива, которое может заменить
практические свойства нефти, но не загрязнять окружающую среду [1].
Топливный синтез-газ из сельскохозяйственных отходов является популярным
и самым экономичным топливом, которое уже много лет используется во многих
странах мира. Топливный синтез- газ имеет широкое применение и могут
использоваться для всех видов топок, котлов центрального отопления, а также для
получения электроэнергии. Большим достоинством синтез-газа является постоянство
температуры при сгорании на протяжении 4 часов. Теплотворная способности
синтез-газа составляет 7920 ккал/кг, угля 6770 ккал/кг. Зольность 1,5%, у угля
20-35% [2].
В настоящее
время переработка сельскохозяйственных отходов заключается в биоразложении, что
требует постоянного контроля за процессом (температура 35-380С,
длительность процесса брожения). Наиболее
перспективной технологией
утилизации отходов является
плазмохимическая
технология, основанная навысокотемпературном плазмохимическом воздействии и полном
разложении утилизируемых продуктов с помощью дуговой плазмы с получением
полезного продукта,
синтез-газа [3,4]. С целью наиболее эффективной переработки сельскохозяйственных
отходов в альтернативный источник энергии нами было предложено применение
плазмохимической технологии.
Так сотрудниками лаборатории был разработан способ
получения синтез-газа из отходов птицефабрик (куриный помет) на
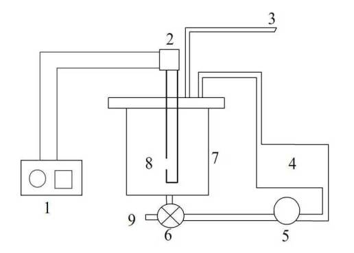
плазменно-дуговой установке. Принципиальная схема установки приведена на
рисунке 1.

Рисунок 1. Схема лабораторной установки
плазмохимической переработки отходов
птицефабрик в синтез-газ. 1-блок управления, 2-привод электрода, 3-газоотвод, 4-радиатор,
5-циркуляционный насос, 6-кран,
7-ячейка, 8-электроды, 9-слив.
В ячейку объемом 4 л поместили
300 г куриного помета (60% влажности), 3,7 л воды. При протекании реакции в
течение 15 минут объем выделившегося газа составил 0,021 м3.
Увеличение времени процесса до 30 минут привело к образованию синтез газа
объемом 0,039 м3. Через 45 минут обработки общий объем газа - 0,062 м3. Общий расход электрода - 17 г.
Эксперимент проводили в
следующих условиях: сила тока - 50А, напряжение - 20В, диаметр графитового
электрода – 5 мм, диаметр вольфрамового электрода – 5 мм.

Рисунок 2. Плазмохимическая
установка.
Анализ компонентов
состава газовой смеси,
полученной на лабораторной установке выполнили на газовом
хроматографе Кристалл Люкс 4000, снабженным детектором теплопроводности (ДТП).
Состав и объемные доли компонентов выделившейся газовой смеси приведены в
таблице 1. Установлено, что при увеличении времени обработки объемные доли
синтез- газа в газовой смеси возрастают. Это показывает преимущество и эффективность
плазмохимической переработки отходов в отличие от процесса брожения в
биогаз.
Таблица 1. Состав и объемные
доли газовой смеси, полученной плазмохимическим методом
|
|
||||||||||||||||||||||||||||||||||||||||||||||||||||
|
|
|||||||||||||||||||||||||||||||||||||||||||||||||||||
|
|
|||||||||||||||||||||||||||||||||||||||||||||||||||||
|
|
|||||||||||||||||||||||||||||||||||||||||||||||||||||
|
|
|||||||||||||||||||||||||||||||||||||||||||||||||||||
|
|
|||||||||||||||||||||||||||||||||||||||||||||||||||||
|
|
|||||||||||||||||||||||||||||||||||||||||||||||||||||
Таким образом, нами предложен метод
получения синтез газа из сельскохозяйственных отходов на примере куриного
помета с применением плазменно дуговой переработки. Преимущества разработки в сравнении с отечественными и
мировыми аналогами:
-
экологическая
чистота без вредных выбросов по сравнению с методами прямого сжигания;
-
взрыво-
и пожаробезопасность получаемого синтез-газа;
-
высокая
скорость газификации;
-
возможность
получения сжиженного газа;
-
утилизация
углеводородных отходов;
- получение
удобрений из сельскохозяйственных отходов (помет, навоз).
Экспериментально показано, что
плазмохимическая обработка сельскохозяйственных отходов является
высокоэффективным методом получения альтернативных источников энергии. Стоит
отметить, что разработанная плазмохимическая установка позволяет переработать
не только сельскохозяйственные отходы, но и любые отходы, содержащие органические
и углеводородные компоненты.
Литература
1.
Картамышева Е. С., Биекенова А. С., Перевала М. Н., Вахрушин
И. А. Биотопливо из моря // Молодой ученый. — 2015. — №14. — С. 659-662.
2.
Плазменные технологии в воспроизводимых источниках энергии
Петров С.В., Бондаренко С.Г, Дидык Е.Г., Дидык А.А. Институт газа НАН Украины//
Енергетика та електрифікація. - 2010. -
№ 1. - С. 53 - 59.
3.
Патон Б.Е., Чернец
А.В., Маринский Г.С.,
Коржик В.Н., Петров
С.В. Перспективы применения плазменных
технологий для уничтожения
и переработки медицинских
и других опасных отходов. Часть 1 // Современная электрометаллургия. –
2005. - №3. - С.54–63.
4.
Патон Б.Е., Чернец
А.В., Маринский Г.С.,
Коржик В.Н., Петров
С.В. Перспективы применения плазменных
технологий для уничтожения
и переработки медицинских
и других опасных отходов. Часть 2 // Современная электрометаллургия. –
2005. - №4. - С. 52–60.