Инж.
Чечушкин О.П., к.т.н. Луц А.Р.
ООО
«Котроко», г. Самара, Россия
Самарский
государственный технический университет, Россия
ПОЛУЧЕНИЕ
МОДИФИЦИРУЮЩЕЙ ЛИГАТУРЫ AlTi3 МЕЛКОИГОЛЬЧАТОЙ МОРФОЛОГИИ МЕТОДОМ
СОВМЕЩЕННОГО САМОРАСПРОСТРАНЯЮЩЕГОСЯ ВЫСОКОТЕМПЕРАТУРНОГО И ПЕЧНОГО СИНТЕЗА
Для
повышения основных механических свойств большинства алюминиевых литейных
сплавов, и в том числе наиболее востребованных – силуминов системы Al-Si -
используется процесс их модифицирования в расплавленном состоянии, для осуществления
которого предпочтительно использование мелкокристаллических лигатур (МКЛ).
В
рамках представленного исследования разработан способ получения МКЛ AlTi3
посредством совмещения методов самораспространяющегося высокотемпературного
синтеза (СВС) и печного синтеза [1]. Для осуществления процесса применялось
следующее оборудование: вакуумный сушильный шкаф (СВШ); индукционная тигельная
печь (ИАТ-6); водоохлаждаемый кристаллизатор с чугунными изложницами вафельного
типа.
Используемые
материалы: алюминий чушковый А5 (ГОСТ 11069-74) для создания расплава; порошок
титана мелкий марки ПТМ (ТУ 14-1-958-74) с размером частиц 80 мкм; порошок
алюминия марки ПА-4 (ГОСТ 6058-73) с размером частиц 140 мкм; формируемая
навеска из пластин (кусков) титана сплава ВТ5 (ГОСТ 19807-91) размером 80х80х0,5
мм; флюс - криолит технический искусственный Na3AlF6 (ГОСТ 10561-80).
Предлагаемый
комбинированный способ осуществляется следующим образом. Предварительно
осуществляют сушку металлических порошков титана и алюминия в течение 12 часов.
Затем экзотермическую смесь металлических порошков титана и алюминия, взятую в стехиометрическом
соотношении (3Al+Ti), подвергают механоактивации в течение 2
часов в шаровой мельнице, где происходит смешивание соприкасающихся частиц и их
равномерное распределение в объёме смеси [2]. Одновременно готовят навески из
титановых пластин сплава ВТ5. Упакованную в алюминиевую фольгу смесь порошков помещают между двумя навесками из титановых пластин и всю композицию одновременно вводят в
расплав алюминия, находящегося в графитовом тигле. Соотношение количества
стехиометрической смеси завёрнутых в фольгу металлических порошков и
навески из титановых пластин
комплектуют в пропорции 1/2 порошковой смеси : 1/2 титановой навески. Предварительно
на поверхность алюминиевого расплава, разогретого до 900°С, наносится флюс -
криолит технический искусственный,
применение которого повышает активность СВС - реакции за счёт удаления
оксидов Al2O3 и TiO2 из зоны синтеза
мелкоигольчатых частиц интерметаллидной
фазы Al3Ti [2,3]. Внутри расплава
происходит самовоспламенение, послойное горение экзотермической смеси и синтез интерметаллидной фазы Al3Ti
[4]. Тепловой энергии смешанных в стехиометрическом соотношении металлических
порошков, при прохождении реакции СВС, вполне достаточно для полного
расплавления навески из титанового сплава ВТ5. Окончание прохождения процесса
СВС определяется по постепенному затуханию искро- и газовыделения над
поверхностью расплава. Далее синтезированные частицы интерметаллидной фазы Al3Ti,
при периодическом перемешивании расплава в течении 30 мин., диффундируют и
равномерно распределяются по всему
объёму матричного сплава [4]. Розлив расплава лигатуры осуществляется при
температуре мерной ложкой в один приём, в водоохлаждаемый кристаллизатор. Масса
пластин готового изделия 2,5 - 3,0 кг.
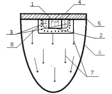
Принципиальная схема осуществления
предлагаемого способа получения МКЛ AlTi3 представлена на
рисунке 1.

Рисунок
1 – Схема совмещенного метода СВ- и
печного синтеза:
1- смешанные в весовом соотношении (3Al + Ti) металлические порошки;
2 - зона инициации реакции СВС; 3 - брикеты
прессованной титановой стружки;
4 - фронтальное направление волны горения;
5 - флюс на зеркале расплава алюминия; 6 - тигель
графитовый;
7 – направление диффузии усваиваемых алюминиевым расплавом частиц интерметаллидной фазы Al3Ti;
8 - зона химического превращения - синтез интерметаллидной
фазы Al3Ti
В
результате применения совмещённого СВ - и печного синтеза было получено готовое
изделие - пластины модифицирующей мелкокристалической лигатуры AlTi3
с размером частиц интерметаллидной фазы Al3Ti
6-8 мкм мелкоигольчатой морфологии, равномерно распределённых в объёме пластин
лигатуры. В изломе лигатуры, выплавленной заявленным способом, получен
структурно-однородный мелкозернистый излом серебристого цвета, практически
полностью отсутствуют шлаковые и неметаллические включения, газовая пористость,
ликвационные зоны.
Применение
комбинированного метода позволяет исключить угар титана в процессе плавки.
Эффект достигается исключением окисления титана при его погружении и
одновременным смачиванием его жидким расплавленным алюминием [2]. Совмещённый
способ СВ - и печного синтеза также позволяет управлять технологическими
параметрами процесса синтеза - снижать температуру горения и исключать активное
тепловыделение в зоне протекания СВС, что существенно смягчает условия
протекания синтеза зародышеобразующих нуклеантов - интерметаллидов Al3Ti в
зоне реакции, не позволяя температуре взаимодействия подняться выше 1473 К, при
превышении которой образуется нежелательная фаза AlTi [2]. Основным
достоинством совмещённого СВ и печного способа получения лигатуры является
простота технического оборудования, экономичность процесса с получением
высококачественного изделия в промышленных масштабах. Методом совмещённого СВ и
печного синтеза удалось повысить рентабельность производства с одновременным
улучшением уровня безопасности
литейщика.
Библиографический
список
1.Никитин,
В. И. Наследственность в литых сплавах /В.И. Никитин, К.В. Никитин/ М: Машиностроение
– 1.- 2005.- 476 с.
2.Луц,
А.Р. Самораспространяющийся высокотемпературный синтез алюминиевых сплавов/
А.Р. Луц, А.Г. Макаренко / М: Машиностроение – 1.- 2008.- с. 175.
3.
Амосов, А.П. Порошковая технология самораспрастраняющегося высокотемпературного
синтеза материалов/ А.П. Амосов, И.П. Боровинская, А.Г. Межанов / М:
Машиностроение – 1.- 2007. - 567 с.
4.
Способ получения лигатур для производства алюминиевых сплавов: па. 2542191 Рос.
Федерация: МПК С22С 35/00, С22С 1/03 / О.П. Чечушкин, Е.Б. Лазутова; заявитель
и патентообладатель Чечушкин Олег Павлович. – 2013150654/02; заявл. 13.11.2013;
опубл. 20.02.2015, Бюл. № 5.- 3 с.: ил.