К.т.н. Твердоступ Н.И.
Днепропетровский национальный университет им. Олеся Гончара
ИЗМЕРИТЕЛЬНЫЙ
ГЕНЕРАТОР НА ОСНОВЕ
КОМБИНИРОВАННОЙ
ОПЕРАЦИОННОЙ СХЕМЫ
В устройствах измерения
и контроля широко используют метод F-метра, позволяющий
преобразовывать реактанс датчика в частоту гармонических колебаний [1]. Недостатком
метода является его ограниченная чувствительность к изменению контролируемого
параметра.
Целью работы является разработка F-метра с повышенной
чувствительностью к изменению индуктивности параметрического датчика.
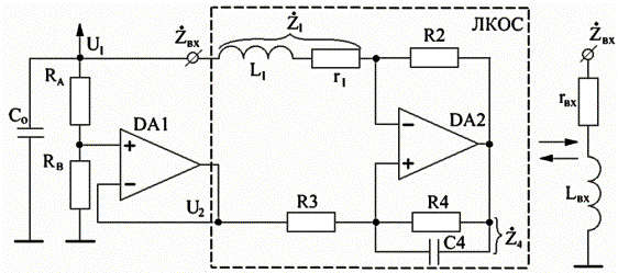
Измерительный генератор (рис. 1) на основе линейной комбинированной
операционной схемы (ЛКОС) в цепи отрицательной обратной связи усилителя DA2 содержит индуктивный датчик. Из [2] следует, что
входной импеданс ЛКОС равен
= (
(1)
где
– комплексный импеданс индуктивности L1 с активным

а) б)
Рис. 1 – Измерительный генератор на основе ЛКОС (а);
эквивалентное представление ЛКОС (б)
сопротивлением r1; R2, R3 – сопротивления цепи
комбинированной обратной связи усилителя DA2;
– импеданс параллельно соединенных
сопротивления
и емкости
; n = U2 / U1, U1 и U2 –напряжения сигналов возбуждения. Повторитель на
усилителе DA1 с делителем RА, RВ представляет собой
источник напряжения возбуждения U2 , синфазного напряжению U1. Отношение n напряжений возбуждения можно
представить в виде
(2)
тогда входной импеданс
, выраженный через параметры схемы, будет
(3)
= rвх +
Lвх , (4)
где rвх, Lвх
– входные активное сопротивление
и индуктивность. Из (3) и (4) следуют выражения активной и индуктивной
составляющих входного импеданса
(5)
(6)
показывающие, что в
настоящей схеме L1 и r1 преобразуются в Lвх и rвх с коэффициентом
умножения равным
Из (5) также следует, что со-
противление r1 компенсируется
отрицательной активной составляющей входного импеданса ЛКОС равной
. (7)
Из (6) видно, что
умножение индуктивности L1 на коэффициент m происходит одновременно с уменьшением ее начального
значения на величину
, которую будем называть
компенсирующей индуктивностью Lк. Выражение (6) представим в виде
. (8)
Допустим, что под воздействием контролируемого
параметра индуктивность L1
изменяется
на величину ΔL1, тогда входная
индуктивность ЛКОС становится
.
(9)
Из (8), (9) следует, что абсолютное и
относительное приращения входной индуктивности равны
(10)
(11)
причем, при
Из (10), (11) следует, что в ЛКОС возможно масштабирование
индуктивности датчика с управлением величины чувствительности к контролируемому
параметру.
К входу ЛКОС
подключена емкость, которая с входной индуктивностью образует колебательный контур с резонансной частотой
. (12)
Из (5 )
следует, что при выполнении условия
r1<
(13)
в контуре присутствует отрицательное активное сопротивление,
обеспечивающее стационарные гармонические колебания на резонансной частоте
(12), которая с учетом (8) имеет вид
. (14)
При изменении индуктивности датчика
приращение частоты можно
определить в виде
=
=
·
. (15)
Из (15) видно, что приращение частоты существенно
увеличивается при
Именно это указывает на возможность повышения
чувствительности F-метра на основе ЛКОС к изменению
индуктивности L1 параметрического
датчика.
Экспериментальная проверка выражения (15) была
проведена на измерительном генераторе (рис.1), собранном на
операционных усилителях ICL7650 с индуктивностью L1 = 21 мГн, емкостью
= 1,106 мкФ и начальной частотой
колебаний 460 Гц. Результаты эксперимента (рис. 2) показывают, что зависимости
линейны; без компенсирующей индуктивности
(зависимость 5)

Рис. 2 – Приращение частоты
генератора как функция индуктивности датчика L1 для разных значений компенсирующей индуктивности Lк
чувствительность к
минимальная и составляет 7,5 Гц/мГн,
при индуктивности
17,23 мГн (зависимость 1)
чувствительность возрастает в пять раз до 39,2 Гц/мГн. Отличие экспериментальных и расчетных по (15) данных не превышает 5%.
Вывод. Компенсация начальной индуктивности датчика с
умножением ее приращения позволяют увеличить приращение частоты измерительного
генератора на основе линейной комбинированной операционной схемы.
Литература:
1.
Измерения в электронике: Справочник / В.А. Кузнецов,
В.А. Долгов, В.М. Коневских и др.; Под ред. В.А. Кузнецова. – М.:
Энергоатомиздат, 1987. – 512 с.
2. Твердоступ Н.И. Обобщенная
модель преобразователей
импеданса //
Вісник Дніпропетр. ун-ту. Фізика. Радіоелектроніка. –
2010. – Вип. 17, №2. – С. 103 - 108.