Рысаев Асан Семейгалиевич
Казахский Агротехнический Университет им.
С.Сейфулина.
Автоматическое поддержание климата в
теплице
В
осуществлении современного технологического прогресса важное место принадлежит электрификации и автоматизации. Применение электрической энергии в любой отрасли народного
хозяйства позволяет увеличить производительность труда, добиться высокого
уровня механизации и автоматизации. Научно-технический прогресс вызвал к жизни
новые области и виды применения электроэнергии в сельском хозяйстве. Большая
потребность сельскохозяйственного производства, особенно растениеводства, в
тепловой энергии, превышающая потребность в других вместе взятых видах энергии,
открывает широкие возможности использования в тепловых процессах электрического
нагрева. Теплицы - это наиболее перспективные сооружения, способствующие
интенсификации овощеводства, получению овощей в течении всего года и прежде
всего в зимний и ранневесенний периоды. Световая энергия, тепло, вода,
питательные элементы и состав воздуха - необходимые факторы жизнедеятельности
растений. Для роста растений и их развития необходимо соблюдать все факторы в
достаточном количестве и при оптимальных соотношениях на протяжении всей жизни.
Каждый фактор играет определенную роль в жизни растений и его действие
проявляется только в сочетании с другими факторами. Микроклимат, питание
растений и почвы в современных теплицах регулируется автоматически. Все
транспортные операции внутри теплицы механизированы. Это позволяет получать
высокий урожай на протяжении всего года при его низкой себестоимости.
Изложенный материал в примере, предлагает дальнейшее повышение
производительности труда и увеличения качества и выпуска продукции за счет
внедрения новой технологии, электрификации и автоматизации технологического
процесса. В данном примере для управления микроклиматом в теплице приняты два
восьмиканальных микропроцессорных измерителя-регулятора ТРМ138-Р (возможно
применение новых типов измерителей-регуляторов).Измеритель-регулятор ТРМ138-Р
предназначен для измерения, регистрации и регулирования температуры либо
другого физического параметра, одновременного управления несколькими (до 8-ми)
исполнительными механизмами, а также для регистрации измеренных параметров на
ПЭВМ.

Вид терморегулятора ТРМ
138
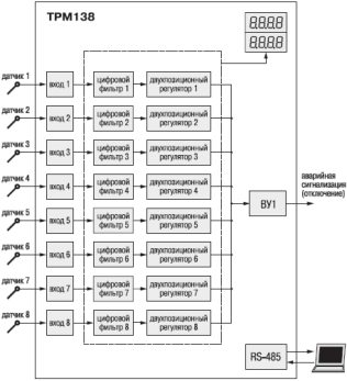
Функциональная
схема ТРМ138 с восемью входами для подключения датчиков, 8-ю устройствами
сравнения, формирующими сигнал "Авария", и одним выходным
устройством.

Функциональная схема ТРМ
138
К
восьми входам ТРМ138 могут быть подключены датчики разного типа в любой
комбинации, что позволяет одновременно измерять и контролировать несколько
различных физических величин. Прибор имеет встроенный двунаправленный интерфейс
RS-485 для передачи данных и приема и информации от компьютера и других
приборов, оснащенных таким же интерфейсом связи. Через этот интерфейс прибор
может передавать текущее значение измеренных величин, принимать команды на
изменение уставок и состояния выходных устройств. Кроме того, при помощи
специального программного обеспечения "ОВЕН" может быть изменена
конфигурация прибора.


Структурная схема
автоматического контроля и регулирования параметров
Данная
схема предусматривает контроль и регулирование следующих параметров:•температура воздуха в теплице;•температура почвы;•влажность;•газовый состав воздуха. Разработка схемы управления предусматривает выбор всех
составных частей, участвующих в поддержании заданного параметра. Весь процесс
контролируется универсальным измерителем-регулятором ТРМ138-Р, а регистрацию
измеренных данных и создание архивов по ним обеспечивает персональный компьютер
при помощи специального программного обеспечения "ОВЕН". В качестве
входных первичных преобразователей, то есть датчиков, возможно использовать
следующие устройства:
1)
Термопреобразователи сопротивления по ГОСТ Р 50353_-92.
2)
Термопары по ГОСТ Р 50431-92.3) Устройства с сигналами постоянного напряжения и
тока по ГОСТ 26.011-80.Для работы с прибором могут быть использованы только
изолированные термопары с незаземленными рабочими спаями.Используем в качестве
входных первичных преобразователей или датчиков термопреобразователи
сопротивления (ТС) типа ТС 125-50М.В2 (-50...+100)°С;
W100 = 1,426; L, мм = 60

Габариты термопреобразователи сопротивления
типа ТС 125-50М.В2
Термопреобразователи сопротивления
(ТС) применяются, как правило, для контроля температуры окружающей среды в
месте установки датчика. Принцип действия таких датчиков основан на
существовании у ряда металлов воспроизводимой и стабильной зависимости величины
их активного сопротивления от температуры. В качестве материала для
изготовления ТС в промышленности чаще всего используется специально
обработанная медная (для датчиков ТСМ) или платиновая (для датчиков ТСП)
проволока.Во избежание влияния сопротивлений соединительных проводов на
результаты измерения температуры, подключение датчика к прибору следует
производить по трехпроводной схеме. При такой схеме к одному из выводов ТС
подключаются одновременно два провода, соединяющих его с прибором, а к другому
выводу - третий соединительный провод. Для полной компенсации влияния
соединительных проводов на результаты измерений необходимо, чтобы их
сопротивления были равны друг другу.

Подключение датчика по трехпроводной схеме
В
некоторых случаях возникает необходимость подключения ТС не по трехпроводной, а
по двухпроводной схеме, например, с целью использования уже имеющихся на
объекте линий связи. При использовании двухпроводной схемы следует помнить, что
показания прибора в некоторой степени будут зависеть от изменения температуры
среды окружающей линию связи "датчик-прибор". Причем эта зависимость
будет расти как с увеличением диапазона изменения температуры, так и с
увеличением сопротивления линии связи.

Подключение датчика по двухпроводной схеме
Прибор
может быть использован для работы с различными типами датчиков -
термопреобразователями сопротивления, термопарами и т.п. При этом
несущественно, к какому из входов ТРМ138 будет подключен датчик того или иного
типа, так как все восемь входов прибора абсолютно идентичны. После подключения
датчикам присваиваются порядковые номера тех входов прибора, с которыми они
соединены (входу 1 соответствует датчик d1, входу 2 - датчик d2 и т.д.). Тип
каждого датчика устанавливается пользователем в виде цифрового кода в параметре
in-t (PL-1) при подготовке прибора к работе. В приборах модификации ТРМ138-Р в
качестве выходных устройств используются электромагнитные реле, контакты
которых выведены на внешние соединительные клеммы

Схема расположения
электромагнитных реле в ТРМ138-Р
В
качестве исполнительного механизма выбираем контактор КНТ-021М (напряжение цепи
управления 220В; номинальный ток главных контактов 17,5А), который включает или
отключает секции нагревательных проводов.

Структурная
схема управления обогрева почвы.
При увеличении температуры выше
установленной почвы датчик (Д) фиксирует это и передает эту информацию в
регулятор ТРМ138-Р, где после корректировки подается сигнал на электромагнитное
реле. Затем размыкаются главные контакты контактора (ИМ), отключая из работы
секции нагревательных проводов. При понижении температуры главные контакты
контактора (ИМ) замыкаются, включая в работу секции нагревательных проводов.
Вся информация об изменении температуры заносится в компьютер (ПК).В теплице
прокладываются в почве нагревательные провода, устанавливаются датчики,
производиться прокладка проводов от датчиков до щита автоматизации теплицы. В
силовом электрощите подключается к контакторам питающий кабель нагревательных
элементов. Также к магнитным пускателям подключаются электродвигатели механизма
открывания форточек в теплице (для регулирования влажности). Возможно также
подключение к щиту автоматизации систем
полива и водоснабжения теплицы с
использованием преобразователей частоты с последующим подключением к
компьютеру. Производиться расчет и выбор защитных аппаратов, сечение силовых
кабелей и проводов в зависимости от нагрузки. Все силовое, защитное и
коммутационное оборудование монтируется в электрическом
щите.