Лагуткин М.Г., Исаев С.В., Михальченкова А.Н.
Московский государственный машиностроительный университет
(МАМИ), Институт инженерной экологии и химического машиностроения, факультет
химико-технологического оборудования
Исследование работы вихревого эжектора с помощью компьютерного
моделирования.
Вихревой эжектор при малых габаритах и простоте
конструкции получил распространение в различных отраслях промышленности. Однако
отсутствие единой надежной методики расчета вихревых эжекторов сдерживает их
использование в промышленности. Но явно выявленные достоинства вихревых
эжекторов заставляют исследователей и в наше время осуществлять попытки
изучения работы вихревых эжекторов с целью создания расчетных зависимостей для
определения основных характеристик работы аппарата и его конструктивных и
режимных параметров.
В настоящее время кроме использования лабораторных
стендов с целью практического исследования работы тех или иных аппаратов
имеется возможность компьютерного моделирования конструкции аппарата и
дальнейшего исследования гидродинамической картины внутри созданной модели.
Качественная реализация поставленной задачи может быть осуществима с помощью
пакета программ SolidWorks, с помощью которого на
начальном этапе создается трехмерная модель аппарата, в нашем случае вихревого
эжектора, а в дальнейшем с помощью встроенного пакета программ COSMOSFloWorks исследуется влияние конструктивных и режимных
параметров на величину коэффициента эжекции. Такой подход позволяет провести исследование
вихревого эжектора в различных его конструктивных исполнениях и на основании
многочисленных экспериментальных данных определить связь между основными
параметрами аппарата с целью определения математической зависимости для их
расчета.
Исследование
вихревого эжектора с помощью компьютерного моделирования способно значительно
сократить затраты времени на проведение испытаний, связанных с изучением
влияние тех или иных параметров на величину коэффициента эжекции. Моделирование
турбулентного течения жидкости в COSMOSFloWorks осуществляется с
помощью осредненных по Рейнольдсу системы уравнений Навье-Стокса. Кроме того
используются уравнения состояния компонентов текучей среды, а также
эмпирические зависимости вязкости и теплопроводности этих компонентов среды от
температуры. Для замыкания системы уравнений используются уравнения переноса
кинетической энергии турбулентности и ее диссипации в рамках k – ε модели турбулентности.
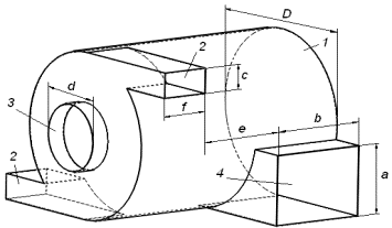
Расчетная
схема вихревого эжектора, созданная в программе SolidWorks для расчета в COSMOSFloWorks,
представлена на рис. 1. Модель соответствует схематическому изображению
вихревого эжектора, который работает следующим образом: рабочий (эжектирующий)
поток газа подается в цилиндрический корпус 1
аппарата через тангенциально расположенные патрубки 2 и закручивается, на оси аппарата создается разряжение при
увеличении давления во вращающемся потоке газа по направлению к стенкам
корпуса, в результате чего становится возможным подсос газа через патрубок
входа эжектируемого потока 3, расположенный
коаксиально цилиндрическому корпусу 1
аппарата со стороны входа рабочего потока, внутри аппарата рабочий и
эжектируемый потоки газа смешиваются и выходят через тангенциальный патрубок
выхода смешанного потока 4,
расположенный с противоположной стороны аппарата.

Рис. 1. Расчетная схема вихревого эжектора.
1 – цилиндрический
корпус, 2 – патрубки входа рабочего потока, 3 – патрубок входа эжектируемого
потока, 4 – патрубок выхода смешанного потока.
Основной
характеристикой работы вихревого эжектора является коэффициент эжекцииu, который представляет
собой отношение расходов эжектируемого и рабочего потоков газа.
Основной
задачей при исследовании модели аппарата является определение влияния
конструктивных и режимных параметров работы вихревого эжектора на величину
коэффициента эжекции. К основным конструктивным параметрам могут быть отнесены
размеры патрубков входа рабочего потока 2
(рис. 1), патрубка входа эжектируемого потока 3, патрубка выхода смешанного потока 4 и длина цилиндрического корпуса 1 аппарата. Кроме того на величину коэффициента эжекции могут
оказывать влияние конструктивные особенности патрубков входа рабочего потока и
патрубка выхода смешанного потока, а именно отношение длины и ширины их
поперечного сечения. К основным режимным параметрам относятся скорость газа в
патрубках входа рабочего потока и величина наружного давления перед патрубками
входа эжектируемого потока и выхода смешанного потока. Также на величину
коэффициента эжекции могут оказывать влияние свойства (плотность, вязкость)
эжектируемого и рабочего потоков газа.
Зависимость
коэффициента эжекции от приведенных выше параметров можно записать в следующем
виде:
. (1)
где
u – коэффициент эжекции, d – диаметр патрубка
входа эжектируемого потока, D
– диаметр цилиндрического корпуса аппарата, c – ширина поперечного сечения патрубков входа рабочего
потока газа, f – длина поперечного
сечения патрубков входа рабочего потока газа,
a – ширина поперечного
сечения патрубка выхода смешанного потока, e – расстояние от нижней кромки тангенциальных патрубков
входа рабочего потока 2 до верхней
кромки тангенциального патрубка выхода смешанного потока4, Fвх – площадь поперечного сечения патрубков входа
рабочего потока газа 2, Fвс – площадь поперечного
сечения патрубка входа эжектируемого потока 3,
Fвых – площадь поперечного
сечения патрубка выхода смешанного потока 4,
F – площадь поперечного
сечения цилиндрического корпуса 1 аппарата,
M – число Маха в
патрубках входа рабочего потока газа 2,
ρвс – плотность
эжектируемого потока газа, ρвх
– плотность рабочего потока газа, μвс
– динамическая вязкостьэжектируемого потока газа, μвс – динамическая вязкость рабочего потока газа, Pвс – наружное давление
перед патрубком входа эжектируемого потока, Pатм – атмосферное давление, Pвых – наружное давление
перед патрубком выхода смешанного потока.
В
ходе проведения работы было принято решение некоторые из исследуемых параметров
представить в том значении, которое обеспечивает максимальную величину
коэффициента эжекции. К таким параметрам были отнесены конструктивные
особенности патрубков входа рабочего потока и выхода смешанного потока, а
именно отношение ширины поперечного сечения патрубка входа рабочего потока к
его длине c/f и отношение ширины
поперечного сечения патрубка выхода смешанного потока к диаметру аппарата a/D. Кроме этого была
найдена рациональная величина длины цилиндрического корпуса аппарата.
Представленные конструктивные параметры принимают следующие рациональные
значения, которые принимаются в качестве постоянных величин: c/f=0,4, a/D=0,5 и e/D=0,5.
Математическое
моделировании процесса эжекции газа в вихревом эжекторе при условии
атмосферного наружного давления перед патрубками входа эжектируемого потока и
патрубком выхода смешанного потока.

Рис. 2.
График зависимости коэффициента эжекцииот:
а – отношения диаметра патрубка входа
эжектируемого потока к диаметру цилиндрического корпуса аппарата,
б – отношения суммарной площади поперечного
сечения патрубков входа рабочего потока и патрубка входа эжектируемого потока к
площади поперечного сечения патрубка выхода смешанного потока,
в – числа Маха в патрубках входа рабочего потока,
г – отношения площади поперечного сечения
патрубков входа рабочего потока к площади поперечного сечения цилиндрического
корпуса аппарата.
На
рис. 2(а-г) представлены графики зависимости величины коэффициента эжекции
от основных конструктивных параметров работы вихревого эжектора и от числа Маха
(рис. 2г) в патрубках входа рабочего
потока газа. Рациональные интервалы значений исследуемых величин определяются с
учетом того, что коэффициент эжекции должен принимать положительные значения
вплоть до максимально возможной величины. На графике, изображенном на рис. 2а, коэффициент эжекции обращается в ноль
при величине d=0,25D и принимает
максимальное значение при d=0,8D. На рис.2б при Fвх+Fвс=2,5Fвыхкоэффициент эжекции
обращается в ноль, при этом значение Fвх+Fвс=0,67Fвых обеспечивает
максимальную величину коэффициента эжекции. На рис. 2в наблюдаем, что при значении скорости газа в патрубках входа
рабочего потока выше 30 м/с (M=0,09)
коэффициент эжекции перестает расти, но при этом будет расти гидравлическое сопротивление.
На рис. 2г коэффициент эжекции
обращается в ноль при значении Fвх=0,6Fи при Fвх<0,1Fначинает
заметно увеличиваться, но при этом в случае создания избыточного давления
внешней среды на выходе из аппарата величина коэффициента эжекции при малых площадях
поперечного сечения патрубков входа рабочего потока будет резко падать. Кроме
того, с уменьшением площади поперечного сечения патрубков входа рабочего потока
газа при неизменном значении скорости газа будет снижаться его расход, что
приведет к снижению расхода эжектируемого газа. На основании опытных данных при
значении Fвх>0,3Fрасход
эжектируемого потока перестает расти, а при Fвх<0,05F наблюдается резкое
снижение расхода эжектируемого потока.
В
результате исследования графиков, изображенных на рис.2(а-г) можно сделать вывод,
что работа вихревого эжектора будет наиболее рациональна при следующих
значениях конструктивных и режимных параметров: d=(0,25-0,8)D, Fвх+Fвс=(0,67÷2,5)Fвых, M<0,09 и Fвх=(0,05-0,3)F.
На
рис. 3(а) представлен график
зависимости коэффициента эжекции от отношения плотности эжектируемого потока
газа к плотности рабочего потока. На рис. 3(б)
изображен график зависимости величины коэффициента эжекции, исключающей влияния
плотности газовых потоков, от отношения вязкости эжектируемого и рабочего
потоков газа. На графике видно, что при использовании в аппарате газов с
одинаковой плотностью, но различной вязкостью, величина коэффициента эжекции
практически не изменяется, поэтому влиянием вязкости газа можно пренебречь.

Рис.
3. График зависимости величины коэффициента эжекцииот:
а – отношения плотности
эжектируемого потока газа к плотности рабочего потока;
б – отношения вязкости
эжектируемого потока газа к вязкости рабочего потока (величина коэффициента
эжекции исключает влияние плотности потоков газа, доверительный интервал
составляет ±5%).
В
результате зависимость (1) с учетом того, что отношения c/f, a/D и e/D принимаются в качестве
постоянных величин, можно представить в виде уравнения:
, (3)
где
n=-1,56при Fвых=(0,6-0,9)(Fвх+Fвс),n=-1,21при Fвых=(0,9-1,2)(Fвх+Fвс),n=-1,02при Fвых=(1,2-1,5)(Fвх+Fвс),m=-0,7при Fвх=(0,07-0,25)F, m=-0,3при
Fвх=(0,25-0,5)F.Уравнение получено с
учетом, чторасстояние от нижней кромки патрубков входа рабочего потока до
верхней кромки патрубка выхода смешанного потока e=0,5D, ширина поперечного
сечения патрубка выхода смешанного потока a=0,4D,
ширина поперечного сечения патрубков входа рабочего потока c=0,4f.