Технические
науки/3. Отраслевое машиностроение
К.т.н. Дудников В.С.
Днепропетровский
национальный университет, Украина
Электромеханический регулятор
поворота лопастей на отечественной ветроустановке ВЭУ-500
В отличие от регулятора ВЭУ-250С регулятор для ВЭУ-500 выполнен
моноблочным и соосным. Схема его установки на ВЭУ представлена на рис. 1.
Регулятор 1 имеет шарнирно-карданное соединение 2 с кронштейном 3 корпуса
головки ВЭУ. Корпус 4 регулятора располагается внутри пустотелого вала 5
зубчатого мультипликатора 6. Серьга 7 штока 8 регулятора присоединяется к
проушине разделительной подшипниковой муфты 9, разделяющей вращающуюся
управляющую штангу 10 и поступательно перемещающийся шток 8.
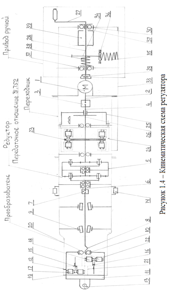
Принципиальная кинематическая схема регулятора приведена на рис. 2.
Вращение от электродвигателя через его вал 2, соединенный глухой шпоночной
муфтой 3 с валом 4 переходника, передается на двухступенчатый планетарный
редуктор 5. С выходного вала 6 редуктора через глухую шпоночную муфту 7
замедленное вращение передается на винт 8 шариковинтовой передачи,
установленной в корпусе преобразователя консольно на двух конических
роликоподшипниках 9.
Вращение винта 8 с помощью шариковинтовой гайки 10, закрепленной
на одном конце пустотелого штока 11, имеющего возможность скользить своей
шпонкой 12 по направляющему пазу корпуса преобразователя, преобразуется в
поступательное перемещение штока 11.
На втором конце штока 11 закреплена серьга 13, с помощью которой
регулятор подсоединяется к проушине разделительной подшипниковой муфты и через
нее к вращающейся управляющей штанге, поворачивающей лопасти ВК.
Регулятор с помощью двух шарнирных подшипников 14, закрепленных
диаметрально противоположно на корпусе преобразователя, соединяется через
карданное кольцо с кронштейном, закрепленным на полу головки ВЭУ.
На наружной поверхности штока 10 закреплены флажки 15,16,
перемещающиеся в зазорах между фотодиодами 17,18 и светодиодами 19,20,
закрепленных на корпусе преобразователя. Концевой фотоэлектрический выключатель
21 ограничивает осевые перемещения штока 11 при его выдвижении из корпуса
преобразователя. Концевой выключатель 22, наоборот, ограничивает перемещение
штока 11 при втягивании его внутрь корпуса преобразователя. При срабатывании
концевых выключателей 21,22 подается команда на отключение

![]()
питания и остановку электродвигателя 1.В корпусе переходника на
его валу 4 закреплена шторка 23 фотоэлектрического датчика перемещений 24,
вращающегося в зазоре между двумя парами фотодиодов-светодиодов, закрепленных
на корпусе. Шторка 23 представляет собой систему чередующихся выступов и
прорезей, прерывающей световой поток между светодиодом и фотодиодом.
Фотоэлектрический датчик перемещений представляет собой реверсивный счетчик
импульсов, для чего две пары светодиодов-фотодиодов смещены друг относительно
друга на угол 150 В зависимости от направления вращения вала 4 происходит
суммирование или вычитание импульсов, что после умножения на цену деления
импульса в миллиметрах позволяет судить о текущем положении штока 11.
В корпусе переходника закреплен электромагнитный безлюфтовый
тормоз 25, при этом его вращающаяся обойма 26 с фрикционными накладками с
помощью конической цанги закрепляется на валу 4. Тормоз 25 выполнен нормально
замкнутым, т.е. при отсутствии электрического питания он создает тормозной
момент, замыкая вал 4 через обойму 26 на корпус тормоза 25, а затем на корпус
переходника. Вместе с валом 4 затормаживается и винт 8 шариковинтовой передачи.
В этом случае механизм регулятора становится самотормозящимся и он способен
удерживать осевую нагрузку на штоке в любом месте расположения относительно
корпуса преобразователя при отключенном электродвигателе.
При подаче электрического питания (постоянное напряжение 24 В) на
катушку тормоза 25, он размыкается и освобождает вал 4 и винт 8, давая им
возможность вращаться при включении двигателя или под действием осевого усилия
на штоке 11 (аэродинамическая нагрузка на лопастях ВК и усилие возвратной
пружины, передающиеся через управляющую штангу и подшипниковую разделительную
муфту).
Регулятор снабжен ручным дублером привода. В этом случае
принудительное вращение вала 2 обесточенного электродвигателя 1 осуществляется
при помощи кривошипной рукоятки 27 через вал 28 и управляемую сцепную муфту 29.
Вал 28 установлен с возможностью осевого перемещения относительно
шариковых радиальных подшипников 30, закрепленных в стойках 31 и 32. Стойки 30,
31 закреплены на консоли 33, являющейся продолжением корпуса переходника. На
валу 28 закреплено зубчатое колесо 34, во впадине которого располагается выступ
подпружиненного пружиной 35 рычага 36 фиксатора. Между колесом 34 и торцом
упорной втулки 37 установлена пружина сжатия 38, расстыковывающая сцепную муфту
29 после того как резьбовая втулка 39 будет отведена от второй упорной втулки
37.
Для приведения ручного дублера привода в рабочее положение
необходимо нажатием на рукоятку 27 ввести в зацепление полумуфты сцепной муфты
29, вращая втулку 39 в направлении против часовой стрелки, упереть ее торец в
торец упорной втулки 37. Перед началом вращения вала 28 за рукоятку 27
необходимо расфиксировать зубчатое колесо 34, для чего следует нажать на рычаг
36, выводя выступ фиксатора из впадины зубчатого колеса.
При необходимости зафиксировать определенное угловое положение лопастей
следует отпустить рычаг фиксатора, выступ которого под действием пружины
попадает в ближайшую впадину зубчатого колеса.