Технические
науки/3. Отраслевое машиностроение
К.т.н. Дудников В.С.
Днепропетровский
национальный университет, Украина
Модернизированный вариант
электромеханического устройства поворота лопастей на лицензионной
ветроустановке USW 56-100
После ознакомления с работой лицензионной ВЭУ USW 56-100 возникло
предложение модернизировать электромеханическое устройство поворота лопастей. Модернизация
устройства поворота лопастей состоит в замене недостаточно долговечной по
износу передачи винт-гайка трения скольжения на шариковинтовую передачу трения
качения. Кроме того, вместо оригинальных электромагнитной однодисковой
фрикционной муфты сцепления и многодискового фрикционного электромагнитного
тормоза используются освоенные в серийном производстве на Украине соответственно
электромагнитная фрикционная многодисковая электромагнитная муфта серии ЭТМ с
вынесенными дисками и однодисковый электромагнитный безлюфтовый тормоз типа
НЗТБ 11. В качестве двигателя используется серийный асинхронный
электродвигатель серии АИР (или 4А) меньшей мощности.
В остальном кинематическая схема ничем не отличается от базового
варианта, а поэтому ниже будут рассмотрены только модернизированные места
кинематической схемы (рис. 1).
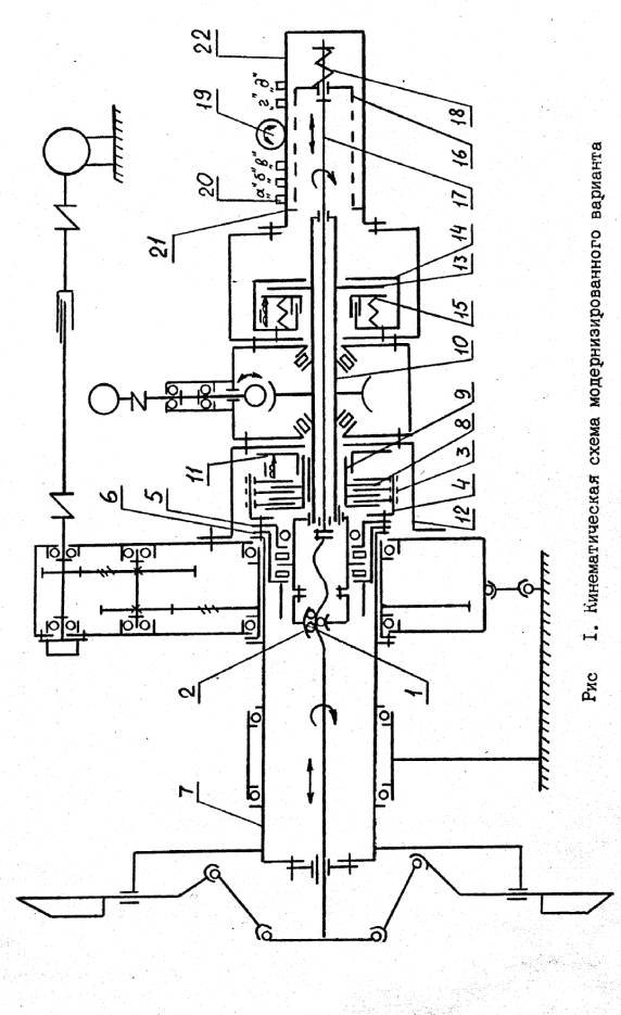
Шариковинтовая передача трения качения содержит винт 1 и шариковую
гайку 2.
Наружные диски 3 электромагнитной фрикционной муфты с помощью
поводка 4, закрепляемого винтами на фланце 5, соединены с корпусом 6 и валом 7.
Внутренние диски 8 связаны со втулкой 9, закрепленной при помощи шпонки на валу
10 червячного редуктора. Катушка возбуждения закреплена в держателе 11,
соединенном с переходником 12.
Фрикционный диск 13 тормоза закреплен на валу 10 и зажат между

корпусом 14 и нажимным подпружиненным диском 15. Сухарь 16 установлен на
вращающемся валике 17 и подпружинен относительно него в осевом направлении.
Пружина 18 предварительно поджимается до усилия, превышающего усилие,
необходимое для вращения потенциометра 19 и срабатывания концевых выключателей
20.
Поступательно перемещающийся сухарь 16 в своем крайнем положении, соответствующем
углу поворота лопастей φ = 92°, упирается в выступ 21 корпуса 22, при этом
потенциометр 19 и концевой выключатель 20 «в» подают на микропроцессор
информацию о достижении угла φ = 92°. Если в этот момент ветроколесо еще
продолжает вращаться по часовой стрелке, то винт 1 вывинчивается из гайки 2,
поступательно перемещаясь относительно корпуса 22, при этом валик 17 сжимает
пружину 18. При углах φ > 92° ветроколесо тормозится аэродинамическим
моментом противоположного направления вплоть до полной остановки.
Установка пружины 18 позволяет избежать необходимости
механического размыкания тормоза, управляемого электрически, и тем самым
отпадает потребность в доработке серийного тормоза для решения специфической
задачи в данной конструкции.
Конструктивно-компоновочная схема модернизированного варианта
механизма поворота лопастей ветроэлектрической установки USW 56-100 приведена
на рис. 2 (нижняя половина).
Нумерация позиций основных конструктивных
элементов соответствует нумерации на рис. 1.
![]()