Қазақстан
Республикасы білім және ғылым министрлігі
Қарағанды мемлекеттік Е.А. Бөкетов атындағы
университеті
Физика факультеті
Жылу физикасы кафедрасы
АВТОМАТТЫ БАСҚАРУ ТЕОРИЯСЫ
пәні бойынша
050717 – «Жылу энергетика» мамандығы үшін
ОҚУ-ӘДІСТЕМЕЛІК КЕШЕН
Қарағанды
2009
Құрастырған:
Сатыбалдин Аманкелді Жарылғасын ұлы -
оқытушы
АВТОМАТТЫ БАСҚАРУ ТЕОРИЯСЫ ӘДІСТЕМЕСІ бойынша дайындалѓан
оќу-єдістемелік кешен физика факультетініњ «050717-Жылуэнергетика» мамандыѓы бойынша оќитын студенттерге арналѓан.
Берілген оќу-єдістемелік
кешен физика факультетініњ несиелік ж‰йе арќылы оќитын 3 курс студенттеріне
арналѓан. Оныњ ќ±рамына мыналар енеді: пєн бойынша тапсырманы орындау жєне
тапсыру графигі, сабаќтыњ барлыќ т‰рлері бойынша негізгі жєне ќосымша
єдебиеттер тізімі; пєн бойынша оќу-єдістемелік материалдар: таќырыптыќ жоспар,
лекция тезистері, практикалыќ сабаќтардыњ жоспары мен есептер
жинаѓы; СОӨЖ жєне
СӨЖ сабаќтары; курс бойынша жазбаша ж±мыстардыњ таќырыптары; µзін-µзі
тексеруге арналѓан тесттік тапсырмалар; емтихан с±раќтары.
ОӘК
ҚРМЖДМБС 3.08.357–2006ж. сәйкес және 050717–«Жылуэнергетика»
мамандығы үшін дайындалған .
«АВТОМАТТЫ БАСҚАРУ ТЕОРИЯСЫ» пєні бойынша оќу-єдістемелік кешені 050717 мамандыѓына жасалып, физика факультетініњ студенттеріне арналѓан / /Дайындаған: Сатыбалдин
А.Ж., оқытушы Қарағанды: ҚарМУ баспасы, 2009ж. – 90 бет.
© Ќараѓанды Мемлекеттік университеті, 2009
1.ПЄННІЊ ОЌУ
БАЃДАРЛАМАСЫ – SYLLABUS
1.1 Оќытушылар
туралы мєліметтер: Сатыбалдин А.Ж.., оқытушы.
Жылу физикасы кафедрасында (№ 316 кабинет) болу
уақыттары сабақ кестесімен анықталады.
1.2 Пєн туралы мєліметтер:
Пєн атауы – АВТОМАТТЫ БАСҚАРУ ТЕОРИЯСЫ.
Несие саны – 2;
Өткізу орны – 320, 331 кабинеттер.
Оқу жоспарының көшірмесі (050717 - мамандық бойынша):
|
Курс |
Семестр |
несие |
Лекциялар |
Семинарлар |
Зертханалық сабақтар |
СОӨЖ
|
СӨЖ |
Барлығы |
Бақылау түрі |
|
3 |
V |
2 |
15 |
15 |
- |
30 |
30 |
90 |
емтихан |
1.3 Пререквизиттері:
Оқылатын пәнді игеру үшін
студенттер жалпы физика, жылуфизика, электротехника жєне электроника,
математикалық анализ, Лаплас түрлендіруін, диффеpенциалдық теңдеулерді операторлық әдіспен
шешу курстарының арнайы бөлімдерін білулері тиіс.
1.4 Постреквизиттері: пєнді оќыту негізінде оќытуѓа берілетін басќа пєндер тізімі:
радиоэлектроника, технологиялық өлшеу әдістері, метрология.
1.5 Пєнніњ ќысќаша мазм±ны:
Пєнді оќыту маќсаты: Жылуэнергетикалық және жылутехникалық
үрдістердің, құрылғылардың автоматты
басқару жүйелерін талдау және меңгеру.
Пәнді оқу нәтижесінде студент
келесілерді біліп шығуы қажет:
-
автоматты басқару
принциптерін;
-
басқару
жүйелерінің әртүрлілігін;
-
автоматты басқару
жүйелерінің мақсатын, талдау әдісін:автоматты
басқарудың теориядағы және техникадағы
жетістіктерін.
Пәнді оқу нәтижесінде студент
келесілерді орындай алу керек:
-
құрылымдық
сүлбелер көмегімен жүйені жаза білу;
-
құрылымдық
сүлбелерді оңайлата алу;
-
автоматты басқару
жүйесі жұмысының сапа көрсеткіштерін және
орнықтылығын талдай алукерек.
1.6. Пєн
бойынша тапсырманы орындау жєне µткізу кестесі
|
№ |
Жұмыс
түрі |
Тапсырма
мақсаты және мазмұны |
Пайдалануға
ұсыныла тын
әдебиет тер |
Орындау
мерзімі |
Балдар
(рейтингтік шкалаѓа сәй кес) |
Бақылау
түрі (рейтингтік шкалаѓа сєйкес) |
Есеп беру
т‰рі |
Тапсыру уақыты |
|
1 |
2 |
3 |
4 |
5 |
6 |
7 |
8 |
9 |
|
1 |
Үй
жұмысы. СӨЖ тақырыбы бойыншабаяндама
дайындау |
Студенттің
аналитикалық және тану қабілеттілігін дамыту |
Оқытылған
тақырыпқа байланысты |
Әрбір
тақырыпқа бір апта |
10 |
СОӨЖ
сабағында баяндама және реферат |
Коллок-виум |
Аптасына |
|
2 |
Ағымдық
бақылау |
Өткізілген
материалды бекіту |
Оқытылған
тақырыпқа байланысты |
4 апта |
Максимум 20 бал. |
Коллоквиум |
Ауыз-ша есеп беру |
5 апта |
|
3 |
Ағымдық
бақылау |
Лекциаларда
өткен материалдар бойынша студенттердің білімдерін тексеру |
Оқытылған
тақырыпқа байланысты |
9 апта |
Максимум 30 бал |
Коллоквиум |
Эксп-ресс сұрақ-тар |
10 апта |
|
4 |
Қорытынды
бақылау |
Білімді кешендік
баќылау |
Барлық тізім |
15 апта |
Максимум 40 бал |
Емтихан |
Баянда-ма |
16 апта |
1.7 Әдебиеттер тізімі:
Негізгі әдебиеттер.
1.
Бессекерский В.А., Попов Е.И. Теория систем автоматического
управления.- СПб.:
Изд-во Профессия,2003.
2.
Иващенко Н.Н. Автоматическое регулирование. Теория и
элементы систем.- М.:
Машиностроение,1992.
3.
Васильев Д.В., Чуич В.Г. Системы автоматического управления.
Примеры расчета.
М.: ВШ,1977.
4. Фатеев А.В. Расчет автоматических систем.-
М.: ВШ,1973.
5. Стефани Е.П. Основы расчета настройки
регуляторов теплоэнергетических процессов.-М.: Энергия,1972.
6.
Стефани Е.П., Панько М.А., Пикина Г.А. Сборник задач по
основам регулирования теплоэнергетических процессов.-М.: Энергия,1973.
Қосымша әдебиеттер.
7. Чемоданов Б.К. Математические основы
теории автоматического регулирования.- М.: ВШ, 1972, т.1,2.
8. Воронов А.А. Теория автоматического
управления.- М.: ВШ, 1986.
9. Санковский П.А. Справочное пособие по
теории автоматического регулирования и управления.- Мн.: ВШ, 1973.
10. Клюев А.С., Глазов Б.В., Дубровский А.Х.
Проектирование систем автоматизации технологических процессов.- М.: Энергия,
1980.
11. Профос П.
Измерения в промышленности. Теоретические основы.- М.: Металлургия,1991.
12. Левин Л.
Методы решения технических задач с использованием аналоговых вычислительных
машин.- М.: Мир, 1966.
1.8 Баѓа туралы
аќпараттар.
Баќылау т‰рі
|
Балдар |
|
Аѓымдыќ баќылау |
20 |
|
Аралыќ баќылау (коллоквиумдар) |
30 |
|
‡й ж±мысы (рефераттар) |
10 |
|
Ќорытынды баќылау |
40 |
|
Барлыѓы |
100 |
1.9 Курстыњ саясаты мен процедурасы
Студенттердіњ міндеттері:
1.Оќу кестесі бойынша оќу жоспарында кµрсетілген барлыќ сабаќтарѓа
ќатысуѓа;
2. Дєріс сабаќтарѓа ‰немі дайындалуѓа;
3.Білімді тексерудіњ барлыќ т‰рлерінен µтуге (баќылау ж±мыстарын орындау, аѓымдыќ, аралыќ, ќорытынды баќылаулар, коллоквиумдар мен аттестация
тапсыруѓа, білім кµлемін тексертуге
арналѓан ж±мыстарды орындауѓа)
міндетті;
4.Коллоквиумдар тапсыру (кесте бойынша);
5.Тестіден
µту (кесте бойынша);
6.Емтихан
тапсыру.
|
Әріптік жүйе бойынша баға |
Балдар |
%-дық мазмұны |
Дәстүрлі жүйе бойынша баға |
А
|
4.0 |
100 |
өте жақсы |
|
А- |
3.67 |
90-94 |
|
|
В+ |
3.33 |
85-89 |
жақсы |
|
В |
3.0 |
80-84 |
|
|
В- |
2.67 |
75-79 |
|
|
С+ |
2.33 |
70-74 |
қанағат |
|
С |
2.0 |
65-69 |
|
|
С- |
1.67 |
60-64 |
|
|
D+ |
1.33 |
55-59 |
|
|
D |
1.0 |
50-54 |
|
|
D- |
0.67 |
|
|
|
F |
0- |
0-49 |
қанағат емес |
2 ПЄН БОЙЫНША ОЌУ - ЄДІСТЕМЕЛІК МАТЕРИАЛДАР
Барлыѓы (несие) 2
|
№ |
Тақырыптар аттары |
Лекциялар |
Семи нар |
Лабора- ториялық |
СОӨЖ |
СӨЖ |
|
1. |
Басты түсініктер және
анықтамалар. АБЖ
түрлері.
Главные понятия и справки. Виды системы
автоматического управления. |
1 |
- |
|
2 |
2 |
|
2. |
Автоматты реттеу жүйесі және құрылғылардың,
нысандардың динамикалық теңдеулері. Автоматически упорядочивать
система автоматы и объекты динамически делать равными. |
1 |
2 |
|
2 |
2 |
|
3. |
АБЖ
құрылыдық сүлбесі. Систем управления автоматического схема
структурированности. |
1 |
1 |
|
2 |
2 |
|
4. |
Динамикалық бөліктер олардың
амплитуда – фазалық және логарифмді жиілікті сипаттамалары. Динамические части их на
амплитуда - фазово и логарифм частоту описания. |
1 |
1 |
|
3 |
4 |
|
5. |
Тізбектей жалғанған типтік бөліктердің амплитуда
– фазалық, логарифмдік амплитудалық және фазалы жиілікті
сипаттамаларын құру. Типических частей, которые соединились нанизывая,
на амплитуда - фазовый, логарифмически амплитудный и фазалы частоту описания
создавать. |
1 |
1 |
|
1 |
1 |
|
6. |
Ляпунов бойынша орнықтылық есебінің жалпы
қойылымы. Согласно
Ляпунову общая постановка счета устойчивости. |
1 |
- |
|
1 |
- |
|
7. |
АБЖ
орнықтылығының алгебралық критерийлері. Алгебраические критерии устойчивости
автоматического систем управления. |
1 |
2 |
|
2 |
2 |
|
8. |
АБЖ
орнықтылығының жиіліктік критерийлері Критерии частоты устойчивости автоматического
систем управления |
2 |
1 |
|
3 |
3 |
|
9. |
Логарифмдік
жиіліктік сипаттамалары бойынша бір контурлы АБЖ-нің
орнықтылығын талдау. Один контурный автомат управлять согласно
логарифмическим описаниям частоты устойчивость систем обсуждать. |
1 |
1 |
|
2 |
2 |
|
10. |
АБЖ-ның сапасын
зерттеу. Исследовать качество автоматического систем управления. |
1 |
1 |
|
3 |
3 |
|
11. |
Тұйықталған
жүйенің беріліс функциясының нольдері мен
полюстерінің орналасуы бойынша сапаның көрсеткіштерін
анықтау. Функция передачи системы, которая замкнулась,
располагаться нули и полюсы согласно показатели качества
выявлять. |
1 |
1 |
|
2 |
2 |
|
12. |
АБЖ-ның
динамикалық дәлдігі. Динамичесая точность автоматических систем управления. |
1 |
2 |
|
2 |
2 |
|
13. |
Дискретті жүйелер жайлы
түсінік. понятие О
дискретных системах. |
1 |
1 |
|
3 |
3 |
|
14. |
Сандық реттегіштері бар жүйелердегі
орнықтылықты зерттеу ерекшеліктері. Особенности исследования устойчивости регуляторов систем. |
1 |
1 |
|
2 |
2 |
|
|
Барлығы: |
15 |
15 |
|
30 |
30 |
1 лекция.
Өндірістің
техникалық деңгейін, сапасын және өнімдердің
сенімділігін арттыру, өндірістерді кешенді басқаруға
көшу, ғылыми тәжірибені дамыту – оысның барлығы
болып жатқан оқиғалардан ақпараттар жинау және
бағалаумен анықталады.
Ондирис технический уровень, качество и продукция уверенность
увеличиваю, производство комплексный управляю переезжаю, научный опыт развиваю
- отара наличие происхожу событие информация собираю и ценю выясняюсь.
Техникалық құралдардың және
автоматтандыру жүйелерінің қазіргі уақыттағы
деңгейін және озық даму прогресс ін анықтайды.
Техникалық
параметрлердің аз мәндерін алуға қажетті
ақпаратты басқару үшін экстремалды сипатқа ие
өндіріс шарттарында автоматты жүйенің маңыздылығы
ең жарқын көріністе болады (кең температуралық
ауқымда, радиацияда, жарылыс қауіпсіздігінде, агрессивті орталарда,
үрдістер ағысының жоғары жылдамдықтарында
және тағы басқалар).
Қабылданған
ақпарат аз мерзімде және жеткілікті күрделі алгоритмен
өнделу керек. Осыған байланысты «машина-адам» жүйесінде
адамның сезімтал мүшелерінің, оның ішінде миының
қабылдау қабілетіне негізделген және үлкен транспортты
ақпараттық кешігуге әкелетін ерекше есептер жиыны туады.
Мұндай шарттарда басқару және өлшеу үрдісін
максималды автоматтандыруға қабілетті мамандандырылған
кибернетикалық жүйе құруға – ойлау
жұмысының автоматизациясына көшу қажет. Ал
басқару объектісінен келетін ақпаратты өндеу және жинақтау
қажеттілігінен операторды босату керек.
Ақпараттық
өлшеу жүйелері информационные системы
измерения (АӨЖ) деп – зерттелетін үрдістен өлшеу
әдісімен мәліметтерді автоматтандыруға арналған, әрі
өңдеу мен оны операторға сол немесе басқа түрде
беру жүйелерін айтады.
Басқаруды автоматтандыру жүйелері Управлять системы автоматизации (БАЖ) деп – АӨЖ –ден басқа технологиялық
үрдіске әсерін дамытуға әрі оны қолайлы
жүргізу мақсатына арналған жүйелерді айтады.
Автоматты реттеу
жүйесі Система автоматического упорядочения (Автоматты реттеу
жүйесі )- энергия көздерін адамның қатысуынсыз
басқару әсерімен және реттелетін айнымаланың
нақтылы өзгерісі аралығындағы дабыл (әр
түрлілігінен) көмегі арқылы басқаратын
динамикалық жүйе.
Автоматты реттеу
жүйесі жүйесінің кіріс
дабылының (басқарылатын әсердің) шығыс дабылына
түрленуін, реттелетін шаманың өзгеру заңы
анықтайды. Заңның іске асырылуы нақтылығы
басқарушы айнымалылардың қалыптасуы нәтижесінде
орындалады.
Реттелетін шаманың
уақытқа қатысты өзгеру заңдылығы әр
түрлі болуы мүмкін, математикалық, олар жүйенің
операторымен жазылады. Реттелетін шамалардың өзгеру
заңдылықтары көбінесе сыртқы немесе ішкі
қозған әсерлерден алынады. Автоматты реттеу жүйесі басқарушысы әрекеттерді
дәлірек болатындай өндіру керек және қозушы әрекеттерді
азырақ көңіл бөлу керек.
Автоматты реттеу жүйесі реттелетін шаманың өзгеру
заңдылығын ұсынуды қажет ететін үш әр
түрлі шарттан құрылады:
-тұйықталмаған цикл арқылы;
-тұйықталған цикл арқылы;
-біріккен цикл арқылы.
Тұйықталмаған
циклдың принципі басқарлатын әсердің түрлену
бағытында реттелетін
шаманың өзгеруіне қажетті заңдылықты
қамтамасыздандыруға негізделген.
Тұйықталған
цикл принципі басқарылатын әсердің қайтымды байланысты
және салыстыру элементін қолдану есебінен реттелетін шаманың
нақтылы өзгерісімен салыстыру арқылы сипатталады.
Біріккен принцип
тұйықталған және тұйықталмаған
циклдардың келістіріліп жасалуына
негізделген.
АБТ көбінесе
жекелеген элементтердің техникалық қасиетіне емес
басқару жүйесінде олар орындайтын және олардың арасындағы
байланыс сипатына көңіл аударады.
АБЖ қалыпты типтік
функционалды сүлбесі 1-суретте келтірілген

1-сурет
Кез-келген күрделі Автоматты реттеу жүйесі бір мезетте екі тапсырманы орындау керек.
- Әр түрде бақылау
- Реттеу (тұрақты өндіру).
1-суретте F қозған
әрекет ықпалы маңайында орналасқан реттеу нысанасы PН
(r(t) реттелетін шығыс шамасына өз әсерін тигізеді.
Реттеуші
контурдың тұйықталуы басқарылатын шаманың
[X(t)→U
(t)] басты өндеу жүйесінің тізбегі бойынша
реттегішіне берілуі арқылы орындалады.
Берілетін элемент (БЭ):
- берілетін
әсерлерді
өңделген
жүйенің
кері байланыс дабылымен
сәйкестендіреді;
- кездейсоқ
әсерлер немесе қажетсіз дабылдардан керекті дабылды
бөліп алады.
Қателік дабылы
берілетін элемент БЭ пен
және
басты өңделген дабылы арасындағы айырмашылықты
көрсетеді.
Күшейткіш (У)
және орындаушы (ИЭ) элементтер жүйенің негізгі тізбегіне
кіреді. Түрлендіруші элемент (ПЭ) және байланысты жергілікті кері
байланысэлементі (
) жүйеге жақсы динамикалық қасиет беру үшін
еңгізіледі, яғни өздігінен тізбектелген және параллель
келтіруші элементті құрайды.
Автоматты реттеу
жүйесі -ны әр түрлі принцип бойынша классификациялауға
болады, бірақ оның ішінде өте көп тарағаны
әсерлесу принципі болып табылады. Осындай классификация 2 суретте
келтірілген.

2 – сурет.
Дабылдардың
түрлеріне байланысты жүйелер үздіксіз, дискретті,
дискретті-үздіксіз және релейлік болып бөлінеді.
Математикалық
жазылуы бойынша бұлар екі класқа бөлінеді: сызықты
және сызықты емес.
Сезімтал элементтері
реттеуші мүшеге тікелей әсерін тигізетін реттеу жүйелері
тікелей әсер жүйелері деп атайды.
Тура әрекеттесу
жүйелерінде сезімтал элементтен кейін қуат реттеуші мүшелерге
әсерін тигізетен қуат күшейткіштері және қозғалтқыштар
орналастырылады.
Негізгі әдебиеттер
:[1,2,6,7]
Қосымша
әдебиеттер: [10 – 12].
2 тақырып. Автоматты реттеу
жүйесі және құрылғылардың, нысандардың
динамикалық теңдеулері. Автоматически система регулирования и уравнения динамических объекты и устройств.
2 лекция.
Үздіксіз АБЖ
үшін динамика теңдеулері әдетте сызықты
дифференциалдық, интегралды дифференциалдық немесе алгебралық
теңдеулер түрінде келтіріледі. Импульсті құрылғылар
үшін динамика теңдеуі сызықтық теңдеулер
түрінде жазылады
Импульсті құрылғылардың
динамикалық теңдеуі шекті айырымды сызықты теңдеу түрінде жазылады.
АБЖ жобалау және
есептеу әдістерін қысқарту мақсатында объектілер
және олардың құрлымдарының динамикасы
теңдеуі функциялардың түп нұсқалары арқылы
емес, Лаплас түрлендіруі арқылы алынған бейнеленген функция
түрінде жазылады. Егер түп нұсқа
болса, онда
функциясының бейнесі S компклексті айнымалы функциясы және
интеграл көмегімен беріледі.

1-ші кестеде түп
нұсқалар және бейнелер туралы қарапайым операциялар
келтірілген.
|
Операция түрі |
Түп нұсқа |
Бейне |
|
Сызықтық түрлендіру
|
|
|
|
Нолдік бастапқы шарттар кезіне
дифференциалдау |
|
|
|
Интегралдау |
|
|
|
Жылжыту операциясы |
|
|
Төмендегідей дифференциалдық
теңдеу берілсін (бастапқы шарттар нольге тең)
![]()
Оның бейнесі
![]()
2 кестеде АБЖ есептеу кезінде
көп кездесетін функциялардың бейнелері келтірілген.
2 - кесте.
|
Түп нұсқа |
Бейне |
Түп нұсқа |
Бейне |
|
|
|
|
|
|
|
|
|
|
|
|
|
|
|
|
|
|
|
|
|
|
|
|
|
Автоматты басқару теориясында
функцияның бейнесі түрінде жазылған Автоматты реттеу
жүйесі құрылғылары және нысаналары
теңдеулері беріліс функциялары арқылы
жазылады. Жеткізу функциясы деп шығыс шамасы бейнесінің кіріс
шамасы бейнесіне қатынасы қарастырылады (нольдік басты шартта).
![]()
Осы
теңдеудің жеткізу функциясы
![]()
Негізгі әдебиеттер:[1,3,5,6]
Қосымша
әдебиеттер:[8,10,11]
3 тақырып. АБЖ құрылымдық сүлбесі.Структурная схема автоматичесих систем
управления
3 лекция.
АБЖ
зерттеулер және есептеулер кезінде оларда жүретін физикалық
үрдістер математикалық сипаттамалармен, оның ішінде айнымалы шамалар мен оның туындылары
дифференциалдық теңдеулердің жүйесі түрінде
ұсынылады.
АБЖ көптеген
класы үшін (сызықты жүйе) операторлық әдіс
кең қолданылады. Осы әдісте зерттелетін жүйе
бағытталатын әсерлерге сәйкес, дабыл беру қасиетіне байланысты
келесі бөліктерге бөлінеді: дабыл кірістен шығысқа
беттейді. Осы бөлшектердің жиынтығы олардың
әсерлерін сипаттап, бөліктер арасындағы сызықтық
байланыспен бірге АБЖ құрылымдық жүйесін
құрады.
Әрбір бөліктің жеткізу функциясы
операторлық пішінде жазылып, шығыс шамасының бейнесі
көрінісін беретін бөліктің дифференциалдық
теңдеуі түрінде ұсынылады. Осылайша АБЖ дифференциалдық
теңдеулерін құру есебі жекелеген бөліктердің
теңдеулерін құру үшін толығымен енгізіледі.
АБЖ
құрылымдық сүлбесі көмегімен жүйенің
ішкі құрылымын анықтауға және жүйедегі
динамикалық үрдістердің сапасын арттыратын қосымша байланыстарды
қосу орнын табуға мүмкіндік береді. Құрылымдық
жүйелер жекелеген элементтерден тұрады, олардың белгілеулері
1 кестеде келтірілген.
1 кесте.
|
№№ |
Элементің аталуы
және белгіленуі |
№ |
Элементің аталуы
және белгіленуі |
|
1 |
Жүйенің элементі
|
6 |
Дифференциалдау блогы
|
|
2 |
Салыстырушы элемент
|
7 |
Интегралдау блогы
|
|
3 |
Сумматор
|
8 |
Байланыс сызығы |
|
4 |
Көбейту блогы
|
9 |
Сызықты емес элемент
|
|
5 |
Бөлу блогы
|
10 |
Эквивалентті сызықты
емес элемент
|
Құрылымдық
сүлбені оңтайландыру, әрі жеткізу функцияларын алу үшін
құрылымдық түрлендірулер қолданады.
Құрылымдық
түрлендіру суперпозиция принципіне негізделген, сондықтан тек
қана сызықтық жүйелерде қолданылады.
Көп
жағдайларда құрылымдық түрлендіру негізгі
көп контурлы жүйені бір контурлы қарапайым жүйеге
әкелуге мүмкіндік береді.
Құрылымдық
жүйелердің түрлену ережесі
1.
Беріліс функциясының
орнын ауыстыру

1 сурет
2.
Бірнеше тізбектей
жалғанған беріліс функциялар қосылыстарын біріктіру
![]()
2 сурет
3.
Бірнеше параллель
жалғанған беріс функциялар қосылыстарын біріктіру ![]()

3 сурет
4.
Беріліс функцияларын қатаң
қайтымды байланысты контурға біріктіру

4 сурет
5.
Беріліс функцияларын иілгіш
қайтымды байланысты контурға біріктіру

5 сурет.
Оң
қайтымды байланыстар кезінде 4,5 теңдеулер сәйкесінше
![]()
АБЖ
көпшілік құрылымдық сүлбелерін
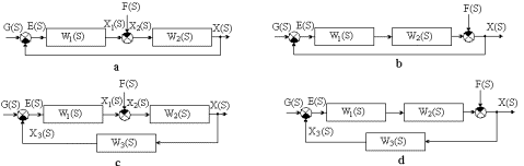
құрылымдық түрлендірулер көмегімен төрт сүлбеге
келтіруге болады 6-сурет(а-d). Осы сүлбелер арқылы шығыс
дабылы
пен
қателіктердің АБЖ тұйықталған
беріліс функцияларына қатысты анықтауға болады.

6,а сурет
Мысал
ретінде 6,а суреттегі құрылымдық сүлбе бойынша
тұйықталған жүйенің беріліс функциясын
қарастырайық.
Салыстырмалы
құрылғылар үшін теңдеулер


Соңғы
теңдеуді келесі түрде жазамыз
![]()
![]()
немесе
![]()
осыдан
![]()
- тұйықталған жүйенің беріліс
функциясы;
- басқару әсері бойынша
тұйықталған жүйенің беріліс функциясы;
- қозған әсері бойынша
тұйықталған жүйенің беріліс функциясы;
![]()
АБТ (ТАР)
көмегімен реттеу үрдістерінің сапа
көрсеткіштеріне бағалау жүргізіледі.
Қателікке
қатысты беріліс функциялары теңдеулер шамаларын жойып тастап алуға болады.
![]()
айнымалы, яғни
![]()
Онда
![]()
- басқарушы әсер қателігіне қатысты
тұйықталған жүйенің беріліс функциясы;
- қозған
әсер қателігіне қатысты тұйықталған
жүйенің беріліс функциясы.
АБТ
және
функциялар
көмегімен жүйенің дәлдігі сипатталады.
Анологиялық
талдау жасай отырып басқа құрылымдық сүлбелер
жүйелері үшін беріліс функцияларын алуға болады.
6, в
суретіндегі сүлбе үшін
![]()
![]()
6, с
суретіндегі сүлбе үшін
![]()
![]()
6, d суретіндегі сүлбе үшін
![]()
![]()
Негізгі әдебиеттер [1, 5, 6 ]
Қосымша
әдебиеттер [11, 12 ].
4 тақырып. Динамикалық бөліктер
олардың амплитуда – фазалық және логарифмді жиілікті
сипаттамалары. Динамические части их на
амплитуда - фазово и логарифм частоту описания.
4 – лекция.
Автоматты реттеу
жүйелерінің беріліс функциялары бірінші және екінші ретті
көбейткіштер түрлерінен тұрады. Көпшілік жүйелер
үшін олардың беріліс функцияларын келесі түрде келтіруге
болады

1 кестеде басты типтік динамикалық
бөліктер атаулары және беріліс функциялары келтірілген.
1 кесте
|
№ |
Бөліктің атауы |
Бөліктің беріліс функциясы |
№ |
Бөліктің атауы |
Бөліктің беріліс функциясы |
|
1 |
Күшейтуші |
|
10 |
Пайда болған тербеліс бөлігі |
|
|
2 |
Орнықты апериодикалық бөлік |
|
11 |
Екінші ретті дифференциалдаушы бөлік |
|
|
3 |
Орнықсыз апериодикалық бөлік |
|
12 |
|
|
|
4 |
|
|
13 |
|
|
|
5 |
1 ретті дифференциалдаушы бөліктер |
|
14 |
Пайда болған екінші ретті дифференциалдаушы бөлік |
|
|
6 |
|
15 |
π-ретті пайда болған екінші ретті дифференциалдаушы бөлік |
|
|
|
7 |
Орнықты тербелмелі бөліктер |
|
16 |
«таза» кешігу бөлігі |
|
|
8 |
Орнықсыз тербелмелі бөліктер |
|
17 |
Трансцендті бөліктер |
|
|
9 |
|
18 |
|
|
Типтік динамикалық
бөліктер әр түрлі беріліс функцияларынан тұрады. Типтік
беріліс үшін ауыспалы үрдістерді салыстыру әдетте сатылы
бірлік әсер және нолдік бастапқы шарттарда жүргізіледі.
Осы шарттарда бөлік шығысында шаманың өзгерісін
сипаттайтын функция типтік бөліктің ауспалы функциясы деп
аталады.
Апериодикалық бөліктер
беріліс функциясымен жазылады
![]()
Осы функцияның
дифференциалдық теңдеуі:
![]()
кезінде және
нолдік бастапқы шарттарда ауыспалы функция
![]()
![]()
кезінде орындалады
Апериодикалық бөліктердің амплитуда-фазалық жиілікті
сипаттамасы.
Беріліс функциясына
қояйық

Мұндағы
- нақты
бөлік
- жорамал бөлік
кезіндегі коэффициент
болуына байланысты
-шығыс дабылы амплитудасы
Фазалық сипаттамасы үшін
![]()
1 суретте амплитуда-фазалық сипаттамасы көрсетілген

беріліс функциясын
көрсеткіш формада жазайық
![]()
алынған теңдеуді
логарифмдайық
![]()
Логарифмдік амплитудалық жиілікті сипаттамаларды құру үшін
өте аз өлшем бірлігін алу керек. Берілген
өлшем бірлік децибел (дБ) деп
аталады.
Логарифмді фазалы жиілікті сипаттама
градуста (радианда) салынады.
және
құрылуы
жартылай логарифмдік қағазда салынады. Жартылай логарифмдік
қағазда жиіліктілік екі есе өзгеруі
актава деп, ал он есе
декада деп аталады.
Логарифмдік амплитудалы және
фазалы бөлікті сипаттамаларды құру үшін келесі
теңдеуді жазамыз
![]()
![]()
жиіліктің ауқымында зерттейік.
болсын. Онда
.
болсын. Онда
.
Алынған теңдеуге екі
жиіліктің мәнін қояйық ![]()
![]()
![]()
![]()
Жиілікті 10 есе өзгерткенде
логарифмдік сипаттаманың қисаюы- 20
құрайды.
Логарифмді амплитудалық
сипаттаманы құрайық.

Алынған сипаттама
жуықталған, бірақ инженерлік есептеулерде
құрылған қателіктерді ескермеуге болмайды.
Логарифмді фазалық сипаттаманы
келесі теңдеумен есептеуге болады
![]()


және
сипаттамалардың
бөліктерінің жұмысын талдау ыңғайлы болу
үшін,екеуінбіріктіріп қарастыруға болады.

Келтірілген тәсілді
қолданып барлық типтік динамикалық бөліктердің
логарифмдік сипаттамаларын есептеуге және құруға
болады.
Орнықты тербелмелі бөлік
![]()
Тербелмелі бөліктің амплитуда – фазалық жиілікті
сипаттамасы
Вибрационной части на амплитуда - частоту фазово описание

![]()
мұндағы
![]()
![]()
Алынған теңдеулер
негізінде шығыс дабылының амплитудасын және фазасын
анықтайық
![]()
![]()

![]()
![]()
Бөліктің
амплитуда - фазалық жиілікті сипаттамасы келесі түрге ие:

Логарифмді амплитудалық және фазалы жиілікті сипаттамасы
![]()
![]()
Онда

![]()
![]()
![]()


Жиілікті 10 есе (бір декадты) өзгерткен кезде дабыл амплитудасы
өзгереді. Логарифмдік сипаттамасы келесі түрде
болады:

2 кестеде типтік динамикалық
бөліктің амплитудалар және фазалар мәндері келтірілген
|
Бөлік типі |
Параметрлер |
|
|
Бөлік типі |
Параметрлер |
|
|
|
|
|
1 |
0 |
|
|
1 |
|
|
|
0 |
|
|
0 |
|
||
|
|
|
1 |
0 |
|
|
1 |
|
|
|
|
|
|
360 |
360 |
||
|
|
|
1 |
0 |
|
|
1 |
|
|
|
0 |
|
|
180 |
180 |
||
|
|
|
1 |
0 |
|
|
0 |
|
|
|
-360 |
-180 |
|
90 |
90 |
||
|
|
|
1 |
0 |
|
|
0 |
|
|
|
-180 |
-180 |
|
180 |
180 |
||
|
|
|
1 |
|
|
|
|
0 |
|
|
0 |
90 |
|
-90 |
-90 |
||
|
|
|
1 |
|
|
|
|
0 |
|
|
180 |
90 |
|
-180 |
-180 |
Бөліктің екі түрі
болады: минемалды-фазалы және минемалды
емес фазалы. Есть два вида части:
минималды-фазалы и не минимальный фазалы.Бірінші типке нолдік және
сызықтары сол жақ жартылай жазықтықта орналасқан
(нолдік полюсімен бірге) бөліктер кіреді. Мұндай жағдайларда
фазалық сипаттама амплитудалардың толық біртекті
сәйкестігіне ие болады, яғни типтік бөліктің амплитудалық
сипаттамасы
өзгергенде
фазалық сипаттама
ұмтылады, ал
амплитудалық сипаттамалары
өзгергенде
фазалық сипаттама
ұмтылады.
Минималды-фазалық
бөліктерге келесілер жатады
Беріліс
функцияларының нолдері және полюстері оң жартылай
жазықтықта орналасса, онда мұндай бөліктер минималды
емес фазалық болып табылады.
Оларға келесілер кіреді:
![]()
![]()
Негізгі әдебиеттер [1-3, 5, 6]
Қосымша әдебиеттер [10-12]
5 тақырып.
Тізбектей жалғанған типтік бөліктердің амплитуда –
фазалық, логарифмдік амплитудалық және фазалы жиілікті
сипаттамаларын құру.
Типических частей, которые
соединились нанизывая, на амплитуда - фазовый, логарифмически амплитудный и
фазалы частоту описания создавать.
5 лекция.
Тізбектей
жалғанған типтік бөліктердің топтарының беріліс
функциялары жалпы формасы келесі теңдеуде көрсетілген
![]()
Алынған
өрнекке
қойсақ
![]()
![]()
онда

Алынған
өрнек бойынша u(w) және v(w) үшін амплитуда – фазалық жиілікті
сипаттамасын құруға болады.
Тізбектей
жалғанған типтік бөлгіштердің топтарынан тұратын
тізбектің жұмысының талдауы, логарифмдік сипаттамаларды
қолдану кезінде жеңілдейді.
Беріліс функциясы
берілген болсын
![]()
Беріліс функцияларын
көрсеткіштік формада көрсетейік және алынған
өрнекті логарифмдайық
![]()

Нәтижесінде келесі
өрнекті аламыз

Сондықтан
тізбектің логарифмдік амплитудалық сипаттамасын құру
үшін типтік бөліктердің логарифмдік амплитудалық сипаттамаларын
қосу керек. Тізбектің фазалық сипаттамасын анықтау
кезінде жеке типтік бөлімдердің фазалық сипаттамалары
қосылады.
Мысал ретінде
жұмысы беріліс функциясымен жазылған тізбекті
қарастырайық
![]()
типтік бөліктерге
бөлейік:
-күшейткіш бөлік:
- 1 ретті
дифференциалдаушы бөлік:
- апериодикалық бөлік;
- апериодикалық бөлік;
- апериодикалық бөлік.
Талданған
беріліс функция логарифмдік сипаттамасы бір және бір жолатаға
алынған бес типтік динамикалық бөліктен тұрады (5-
тақырыптан қараңыз).
Стоит из пяти типических динамических частей, которые были
передача, которая обсуждалась, подходит логарифмическое описание функции один и
один взятыми
Сондықтан
тізбектей жалғанған типтік бөліктерден тұратын
тізбектің логарифмді амплитудалық және фазалық
сипаттамаларды құру олардың сипаттамаларының
механикалық қосындысымен енгізіледі.
Негізгі әдебиеттер:[1-3].
6 тақырып. Ляпунов бойынша орнықтылық есебінің жалпы қойылымы.
Согласно Ляпунову общая постановка счета
устойчивости.
6 лекция.
АБЖ пайдалану
тәртібі кезінде, қалыпты объектілерге әсер ететін
қозған әсерге тәуелсіз объектілердің
анықталған жұмыс режимдерін қолдау керек.
Жүйенің орнықтылығы бұл кіріс дабылдарының
немесе кез келген әсерлердің аз өзгерісі. Жүйенің
орнықтылығы бұл АБЖ параметрлері немесе басты шарттарында
кіріс дабылының аз өзгерісі шығыс дабылының ауытқуына
әкелмеуін білдіреді.
АБЖ барлық
үрдістер дифференциалдық теңдеулермен жазылатындықтан, орнықтылықтың
математикалық анализі осы теңдеулерді шешу қасиеттерін
зерттеуге біріктіріледі. Теңдеулердің шешуін х1, х2, хn айнымалылар
кеңістігінде х(t) траекториясы ретінде қарастыруға болады.
векторлық формада 
Көп
траекториялардың ішінен бір g(t) алайық және оның орнықтылығын
зерттейік, яғни g(t) траекториясының маңайында бастапқы t0 моментте
басталатын х(t) траекториясының қасиетін зерттейік. Егер олар әр
уақытта g(t) траекториясының маңайында болса, онда
жүйе орнықты, егер g(t) маңайынан ауытқыса, онда бұл
жүйенің орнықсыздығын сипаттайды.
жаңа айнымалыны
еңгізейік
Онда
және

немесе

g(t) траекториясына
нүктесі сәйкес келеді.
нүктесі тепе-теңдік күйі болып табылады, яғни
![]()
егер g(t)=0 және
жүйенің операторы стационар болса, онда мұндай жүйе автономды
деп аталады. Мұндай жағдайларда
, ![]()
Орнықтылықтың математикалық
анықтамасы
Математическое понятие устойчивости
кейбір аймақтары сфера деп
есептейік. Осы сфералы аймақтың болуына Коши шарты орындалады
және жүйенің бірлік шешімі

Онда осы аймақтың әрбір нүктесінде кейбір х(t) траекториясы өтеді. Жүйенің
тепе-тендік күйі бастапқы коорднаторлармен теңестірілген.

1 сурет
Тепе-тендік
күйі орнықты состояние равенства считается уместным когда....деп есептейміз, егер кез-келген R< ρ үшін r ≤ R болатын болса,
яғни S(r) сфералық аймағында х0
нүктесінен басталса, х(t) траекториясы
әр қашанда S(R) сфералық аймақта қалса тепе-теңдік күйі орнықты
болып есептелінеді.
Егер R< ρ, онда S(R) сфералық
аймақта басталатын х (t) траекториясы уақыттың шексіз артуы
кезінде бастапқы координатаға ұмтылса асимптотикалық күй орнықты деп есептелінеді.
Егер R< ρ немесе R< r, онда S(r) сфералық
аймақтағы X0 нүктесінен
басталатын х(t) траекториясы H(R) сферасына шекті уақытта жетсе күй орнықсыз деп есептеледі.
А.М. Ляпуновтың ассимптотикалық
тұрақтылық теоремасы.
Ассимптотическая теорема постоянства А.М. Ляпунова.
Автономды
сызықтық жүйенің нолдік шешімі асимтотикалық
тұрақты болу үшін оң анықталған Q матрица үшін
анықталған Р матрица болу керек және ол келесі теңдеуді
қанағаттандыру керек.
![]()
Сызықтық
жүйе теңдеулер жүйесінде жазылады
немесе 
мұндағы 
матрица теңдеуін сипаттайтын
түбір анализімен байланысты келтірілген қатарға басқа
әдіс қолданылады:

- бірлік матрица
Анықтауышты ашып
жазсақ
![]()
Егер
теңдеудің барлық түбірлерінің теріс заттық
бөлігі болса, онда
жүйенің нолдік шешімі асимптотикалық
орнықты.
Егер теңдеудің түбірлерінің
арасында біреуі заттық оң бөлігі болса , онда жүйенің нолдік шешімі орнықсыз.
Егер
теңдеудің заттық оң бөлігі бар түбірі
болмаса, бірақ нолдік заттық бөлігі бар түбірі болса,
онда орнықты да орнықсыз да бола алады.
Негізгі әдебиеттер:[1,3,5,6];
Қосымша
әдебиеттер: [11,12].
7 тақырып. АБЖ орнықтылығының
алгебралық критерийлері.
Алгебраические критерии устойчивости системы автоматического
управления.
7 лекция.
Гурвица
критериі
Сызықтық
автоматты жүйенің нолдік шешімі асимптотикалы орнықты болу
үшін, құрылған матрицаның сипаттамалақ
теңдеулерінің коэффициеттері
![]()

оң
анықталған болу керек, яғни оның бұрыштық
минорлары оң болады ∆к>0, мұнда к=1,2,…n
и.т.д
Раус критериі.Критерий Рауса
АБЖ орнықты
болу үшін сипаттамалық теңдеудің коэффициентерімен
құрылған Раус таблицасының бірінші
бағанасының барлық элементтері оң болу қажет (
)
Раус кестесі
|
Жол номері |
Бағана номері |
|||
|
1 |
2 |
3 |
4 |
|
|
1 |
1 |
|
|
|
|
2 |
|
|
|
|
|
3 |
|
|
|
|
|
4 |
|
|
|
|
Тұжырымдалған
критерий сызықты емес жүйеге типтес орнықтылық
анализіне қолданылады.
Функциялар Х1; Х2
; … Хn
Жүйелер

онда

Жүйе 
Сызғыш
бірінші жуықтау жүйесі
деп аталады. Система первого приближения
называется линейка. А.М.Ляпунов үш теореманы дәлелдеді: А.М.Ляпунов обосновал три теоремы:
1)
Егер бірінші жуықтау
жүйелерінің сипаттамалық теңдеулерінің
барлық түбірлерінің заттық бөліктері теріс болса,
онда жүйелердің нолдік шешімдері бірінші ережеден жоғары
жіктелген мүшелерге тәуелсіз асимптотикалық
орнықты.
2)
Егер бірінші жуықтау
жүйелерінің сипаттамалық теңдеулерінің
түбірлерінің арасында біреуінің оң заттық
бөліктері болса, онда жүйенің нолдік шешімі бірінші ережеден
жоғарғы талданған мүшелерден тәуелсіз орнықты
болмайды.
3)
Егер
бірінші жуықтау жүйелерінің сипаттамалық
теңдеулерінің түбірлерінің арасында нолдік
бөліктері болса, онда
жүйенің нолдік шешімінің орнықтылығын баяндау
үшін бірінші ережеден жоғары талдау мүшелерін ескеру
қажет.
Негізгі әдебиеттер [1, 5, 6]
Қосымша
әдебиеттер [11, 12].
8 тақырып. АБЖ орнықтылығының жиіліктік
критерийлері Критерии частоты устойчивости
автоматического системы управления
8-9
лекция.
А.В.Михайловтің тұрақтылық критерийі
Тұйықталған
АБЖ сипаттамалық теңдеулері
![]()
немесе
![]()
мұндағы
- сипаттамалық теңдеулердің түбірлері.
деп және
әрбір
көбейткіштерді
және
екі векторлар айырымы
түрінде қарастырайық.
-тен
-дейін өзгерген кезде
және
векторлары
сағат тіліне бағыттас айналса олардың аргументінің
өсуі
дейін болады.
және
векторлары сағат тіліне қарсы айналса, онда
олардың аргументі
болады.

Реттеуші аргументінің
өсуі
![]()
мұндағы
- сипаттамалық теңдеудің
түбірлерінің саны.
- оң заттық бөліктің түбірлер
саны.
-ның 0 ден
дейін өзгеруі
кезінде

Жүйенің орнықты
болу үшін
Онда

Михайловтің орнықтылығының жиіліктік критерийі. критерий частоты устойчивости Михайлова.
Тұйықталған
АБЖ орнықты болуы үшін Михайловтің годографы шын остің
оң бөлігінен басталу қажет және оң бағытта
тізбектей өтуі керек.
Михайлов-Найквисттің орнықтылығының амплитуда-фазалық критерийі. критерий Михайлов-Найквиста амплитуда-фазалық устойчивости .
Берілген критерий
тұйықталған АБЖ годогрофының орнықтылығын
жоруға мүмкіндік береді.
Михайлов-Найквисттің теоремасы.
Егер ажыратылған
жүйенің
годографы
0- ден
дейін өзгерген
кезде және
сипаттаушы
жүйенің полюстерінде
есе нүктелерін
оң бағытта қамтыса, тұйықталған АБЖ
орнықты болады.
Михайлов-Найквисттің теоремасының салдары.
Егер ажыратылған
жүйе орнықты болса, онда тұйықталған АБЖ орнықты
болу үшін
годограф
0- ден
дейін өзгерген
кезде
нүктелерін қамтымау керек.

1 сурет
АБЖ 2 класы бар: абсолютті орнықты және шартты орнықты.
АБЖ бірінші класында тек
күшейту коэффициентінің осуі олардың орнықтылығының
жайылуына әкелуі мүмкін.
Жүйенің екінші класында К
күшейту коэффициентінің артуы немесе кемуі орнықтылықтың
жойылуына әкелуі мүмкін. (1,б,в, сур.)
Егер
векторы
модулі мәндерінде жүйе орнықтылық шартын
қанағаттандыратын болса, жүйе қажет ететін орнықтылық
қоры бар деп саналады. Фаза және модулі бойынша сәйкесті орнықтылық
қоры 2 суретте келтірілген. Осындай бейнеде алынған тыйым
салынған аймақ Михайлов-Найквист годографына кірмеу керек.

2 сурет
2,а суретіндегі
қисықтарға сәйкес логарифмді жиілікті сипаттама 2,б
суретінде салынған. Годографтың ережелер белгілерін енгізіп, орнықтылық критерийін тәжірибеде
қолдану үшін неғұрлым ыңғайлы түрде
қалыптастыруға болады.
годографының
қимасы
арқылы, үстіңгі жартылай жазықтықтан
төменгіге өтуін оң деп санаймыз, ал төменнен
жоғарыға өтуін теріс деп санаймыз.
Егер ажыратылған жүйенің годографының нақты
остің
қимасы арқылы оң
және теріс ауысулары арасындағы айырмашылық
тең болса,
тұйықталған күйде автоматты реттеу жүйесі орнықты
болады.
3 суретте
болғанда Михайлов-Найквисттің
орнықты жүйесі годографы
көрсетілген.
![]()
3 сурет
Негізгі
әдебиеттер [1-6 ]
Қосымша
әдебиеттер [8, 11, 12].
Тақырып 9.
Логарифмдік жиіліктік сипаттамалары бойынша бір контурлы АБЖ-нің
орнықтылығын талдау.
Обсуждить устойчивость системы контурно
автоматического управления одного согласно логарифмическим
описаниям частоты
10 лекция.
Тұйықталмаған
жүйелердің логарифмдік сипаттамаларын құрастыруға
годографтарға қарағанда азырақ шығын қажет
етеді, ал оларды қолдануымен АБЖ-нің орнықтылығын
талдау, инженерлік практикада ең көп таралған.
1 суретте көрсетілгендей,
қисығы
орнықты жүйеге сәйкес келеді.

1
сурет
Годографтың бірлік шеңбермен
қиылысу нүктесіне сәйкес келетін жиілік
. Онда
фаза бойынша
орнықтылықтың артықтығы
.
Орнықтылықтың
артықтығы модуль бойынша мынаған тең
, яғни
нүкте мен
болатын
жиілікке сәйкес
келетін нүкте арасындағы кесіндіге тең.
Егер
болса, онда
жүйе орнықсыз. Орнықты
және
орнықсыз
АБЖ үшін
логарифмдік сипаттамалары 2 суретте келтірілген.

2 сурет
Тұйықталмаған
беріліс функцияларында тек орнықты қатарға ие болатын АБЖ
орнықсыздығының логарифмдік критерийі. Логарифмический критерий
неустойчивости системы автоматический управления, обладал тому, что устойчивому
твердеет на функциях передачи, которые не замкнулись.
АБЖ орнықты болу үшін
осьтің
фазалық сипаттамаларының оң және теріс ауысулардың
арасындағы айырымы логарифмдік амплитудалық сипаттамасы теріс
болмайтын жиіліктердің мәндері кезінде нольге тең болу керек.
(
осьтің фазалық сипаттамасының
төменнен жоғары қарай ол оң, ал жоғарыдан
төменге – теріс).
Тұйықталмаған
беріліс функцияларында тек орнықсыз қатарға ие болатын АБЖ
орнықтылығының логарифмдік критерийі. Логарифмический критерий
устойчивости системы автоматический управления, обладал тому, что неустойчивому
твердеет на функциях передачи, которые не замкнулись.
Беріліс функциясы
орнықсыз
қатарға ие болатын АБЖ тұйықталған күйде
орнықсыз болу үшін
осьтің
фазалық сипаттамаларының оң және теріс
ауысулардың арасындағы айырымы логарифмдік амплитудалық
сипаттамасы теріс болмайтын жиіліктердің мәндері кезінде
-ге тең болу керек.
«Таза» кешігуші қатарына ие болатын
АБЖ-ң беріліс функциясын қарастырайық
![]()
мұндағы
- кешігуі болмайтын
тұйықталмаған жүйе элементтерінің беріліс
функциясы,
- «таза» кешігу
қатарының беріліс функциясы
![]()
Өрнектен байқайтынымыз,
Михайлов Найквист годографын құрастыру үшін біріншіден
кешігусіз амплитудалы-фазалық сипаттаманы құру керек, кейін
өзгермейтіндей,
ал аргументі
-ге кемитіндей етіп
барлық нүктелердің орнын ауыстыру керек.
Кешігуі болатын жүйе кемірек
орнықты, себебі онда орнықтылықтың артықтығы
фаза бойынша
-ге, сонымен бірге модуль бойынша кемиді.
Кешігудің критикалық
уақыты
![]()
мұндағы
- критикалық
жиілік.
Егер годографтың модулі
барлық
жиіліктері кезінде бірден кем болса
, онда жүйеде үзіліс жиіліктері жоқ болады
да, жүйе кез келген
кезінде орнықты
болады.
Негізгі әдебиеттер [1-6]
Қосымша әдебиеттер [10-12].
10
тақырып. АБЖ-ның сапасын зерттеу. исследовать качество системы управления автоматического.
10 лекция.
Орнықтылық қажетті,
бірақ та АБЖ-ның жұмыс істеуінің жеткіліксіз шарты
болып табылатындықтан, оны реттегіш сапасының көрсеткішін
біле тұра бағалауға болады.
1 суретте көрсетілген бірлік
әсер етудегі
өңдеудің көшу процесінің сипаттамасын пайдалана
отырып негізгі көрсеткіштерін анықтауға болады.

1 сурет
1)
уақытқа
сәйкес келетін А нүктесінде реттеу
шамасының максималды ауытқуы орын
алады.
2) Қайта реттеудің максимумы ![]()
![]()
мұндағы
- реттегіш
шамасының орнатылған мәні;
3)
Реттеу уақыты
АБЖ-ның тез әрекеттігін
бағалауға мүмкіндік береді. АБЖ-дағы толық
өшу тек
кезінде жүреді,
яғыни шартты түрде көшу процесінің аяқталуы
процесс графигінің
шамасынан
ауытқуы
мүмкін.
4)
көшу процесінің уақыты кезіндегі
реттегіш
шамасының тербеліс саны.
5) Жүйенің
тербелістерінің меншікті жиілігі
, мұндағы
жүйенің меншікті тербелістерінің периоды.
6)
Жүйенің өшуінің
логарифмдік декременті
процесінің тез
арада өшуінің лездігін
сипаттайтын шама.
![]()
Логарифмдік декремент
неғұрлым көп болған сайын, соғұрлым
өшу тезірек жүреді.
7)
Реттегіш шамасын
өңдеудің максималды жылдамдығы
.
Тербелмелі көшу процесіне ие
болатын әрбір АБЖ үшін сапаның келтірілген
критерийлерінің негізінде реттегіш шамасының рұқсат
етілген ауытқулардың облысын анықтауға болады. (сурет
2).

2 сурет
АБЖ-дағы көшу
процестерінің барлық әралуандығын төрт
топқа бөлуге болады.:
-
қайтареттеудің
бірнеше мәндерімен сипатталатын
тербелмелі процесс (1 - қисық , 3 - сурет )
-
кішітербелмелі
процесс – бір қайтареттеуі болатын көшу процесі (2- қисық
, 3- сурет )
-
апериодты процесс,
бүкіл
мен
болғанда
дәлдікпен
болуы (3-
қисық , 3- сурет ).
-
монотонды процесс,
кезінде (4 -
қисық , 3 - сурет ).

3 - сурет
Тұйықталған жүйелердің
берілген беріліс функциялары бойынша көшу процестерін құру.
АБЖ келесі дифференциалдық
теңдеумен сипатталады

Бастапқы шартымен
:

Функция үшін Лаплас
түрлендіруі
![]()
Теңдеудің бірінші
мүшесі жүйеге
әрекет
етуінің әсерін, ал екіншісі – бастапқы шарттардың
әсерін сипаттайды
Бастапқы шарттардың
әсерін зерттейік,
яғни
.
1
жағдай. Сипаттамалық
нақты (еселі
емес) түбірге ие. Сонда
![]()
мұндағы
.
Көшу процесі келесі функциямен
сипатталады
![]()
2
жағдай.
түбірлердің ішінде комплексті түйіндескен
түбірлер бар болады:
мен
.
Онда
![]()
![]()
мұндағы
; ![]()
Комплексті түйіндескен
жұптары мен
нақты түбірлері бар болғанда біз келесіні аламыз
![]()
мұндағы
.
3 жағдай. Сипаттамалық теңдеу
еселі түбірлерге ие
Онда

Нольдік бастапқы шарты кезіндегі жүйе тәртібіне
әсер ететін басқарушы әрекеттесуінің әсерін
зерттейік.
![]()
-
бөлшектік-рационалды функция ![]()
![]()
Егер
нақты еселі
емес түбірлерге ие болса, онда

Егер
комплексті
түйіндескен
жұптары мен
нақты
түбірлерге ие болса, онда

Бір нольдік түбірдің болу жағдайында ![]()
![]()
Негізгі әдебиеттер [1-6]
Қосымша әдебиеттер [10-12].
11
тақырып. Тұйықталған жүйенің беріліс
функциясының нольдері мен полюстерінің орналасуы бойынша
сапаның көрсеткіштерін анықтау.
Функция передачи системы, которая
замкнулась, располагаться нули и полюса согласно показатели качества
выявлять.
12 лекция.
Тұйықталған жүйенің
сапа көрсеткіштерін анықтау үшін, комплексті
жазықтықтағы бұл жүйенің беріліс
функциясының нольдері мен полюстерінің орналасу суретін білу керек.
Жүйенің тәртібіне негізгі әсерін жалған осьте
орналасқан түбірлер мен полюстер келтіреді. Кейбір жүйе
үшін сипаттамалық теңдеудің түбірлер мен
полюстерінің орналасуы 1 суреттедегідей болсын.

1 сурет
Жалған оське ең жақын
комплексті-түйіндескендер болып табылады.
![]()
Жалған осьтен алыстатылған сайын көшу
процесінің құраушыларының амплитудалары
, басым полюстері
мен
салыстырғанда
полюстің модулі
үлкен болған сайын тезірек кемиді.
Келтірілген сүлбе үшін
анықтауыштың нольдері мен полюстерінің орналасуы тербелмелі
құраушысы болып табылады
![]()
Қалған құраушылары
ертегірек өшіп
қалады, себебі
-дан кем.
Өтпелі
үрдістің жүру уақыты Переходящей тенденции время хождения
![]()
мұндағы ![]()
Егер басым полюс нақты болса, онда
![]()
Бұндағы қалған полюстер мен
нольдер компенсацияланған деп аталды.
Қайтареттеудің
максимумы келесі уақытта жүреді Максимум
упорядочения заново в следующее время ходит

![]()
Бірінші максимумының пайда болу уақытын
анықтау кезіндегі
.
Комплексті
амплитуданың аргументі
.
мұндағы
-
нольдерден
полюстеріне
келтірілген векторлардың бұрыштары.
- полюстерден
полюсіне келтірілген
векторлардың бұрышы.

Сәйкесті құру 2 суретте
көрсетілген.

2 сурет
Келесі құрастыруды ескерсек
![]()
Өтпелі
үрдіс қарапайымдалған суреті келесі формуламен анықталады Рисунок, который упростилась
переходящая тенденция
![]()
Қайтареттеудің
максимумы Максимум заново упорядочения

мұндағы 
Кез келген
полюсінің
доминалаушы
полюсіне
жақындауы және де кез келген
түбірдің
координаттар басына жақындауы көшу процесінің жүру
уақытының
және
қайтареттеудің
максимумының
артуына әкеледі..
Негізгі әдебиеттер [1-6]
Қосымша әдебиеттер [10-12].
12
тақырып. АБЖ-ның динамикалық дәлдігі. динамическая точность.автоматический систем управления
13
лекция.
Басқарушы мен қозушы
әсер етулердің барлық түрлері регулярлы мен
кездейсоқты болып бөлінеді. АБЖ-ның
дәлдігі орнатылған режимінде былай анықталады -
.
Әркезде әсер ету - өту үрдісінің сипаттамасымен
салыстырғанда баяу өзгеретін уақыт функциясы болып саналады.
Бұл жағдайда АБЖ-нің дәлдігі қателік бойынша
тұйықталған жүйенің беріліс функциясы
көмегімен алынатын қателіқ коэффициентерімен анықталынады.
Егер де басқарушы және
қоздырушы әсер етулер – ықтималдылықты сипаттамаларымен
берілетін кездейсоқтық функциялар болса, онда АБЖ-нің
дәлдігі қателіктің орташа шамасымен анықталады. Ондай
өлшем ретінде қателіктің квадратының орташа мәні
қолданылады
![]()
Статистикалық
АБЖ-дағы қателіктердің коэффициенттері. Ошибка на системах управления
статистически автоматического коэффициенты.
Қателік бойынша тұйықталған
жүйенің беріліс функциясы
![]()
Онда АБЖ-дағы қателік
![]()
Жалпы жағдайда ![]()
![]()

![]()
Маклорен қатарына жіктеуден
соң
![]()
-статистикалық АБЖ-дағы қателіктер
коэффициенттері.
-ке Лапластың кері түрлендіруін
қолдансақ келесіні аламыз
![]()
![]()
-ні келесі жуықтау қатары түрінде келтіруге
болады:

мұндағы
- статизм коэффициенті
-жылдамдық
бойынша беріктілік коэффициенті
- үдеу бойынша
беріктілік коэффициенті
- удеудің
бірінші туындысы бойынша беріктілік коэффициенті.

АБЖ-дағы бірінші ретті аститизмге
ие болатын қателіктер коэффициенттері ошибка, у которой обладает первый раз на системах
управления автоматического аститизмге, коэффициенты
![]()
![]()
Лапластың кері түрлендіруінен кейін

мұндағы
Онда


АБЖ-дағы екінші ретті аститизмге ие
болатын қателіктер коэффициенттері
![]()
![]()
![]()
Лапластың кері түрлендіруден
кейін

![]()
Онда


Алынған формулалар кез келген кіру
дабылдары кезінде олардың спектрі төмен жиіліктер облысында
жатқан кезде АБЖ-дағы қателіктерді есептеу үшін
қолдануға болады.
Негізгі әдебиеттер [1-6]
Қосымша әдебиеттер [10-12].
13 тақырып. Дискретті жүйелер жайлы түсінік. понятие дискретных системах
14 лекция.
Дискретті әрекет
етудің жүйесі деп кіру шамасының
үздіксіз өзгеруі кезінде бір қатардағы шығу
шамасы үздіксіз емес, ал уақыттың кейбір аралықтарда
пайда болатын жеке импульстердің түріне ие болатын жүйені
атайды. Кіру дабылын импульстердің тізбегіне
түрлендіретін қатар импульстік модулятор деп аталады. Дискреттік жүйелерге импульстік жүйелер, сонымен бірге сандық есептеуіш құрылғылары бар жүйелер жатады. Бұл құрылғылар өлшеуіш
құралдар қажетті мәндерден басқарушы
шаманың тікелей ауытқуын өлшей алмайтын жағдайларда
қолданылады, ал ол өлшенуі тиіс. Көп жағдайларда
сандық құрылғы ауытқуды өлшеуге ғана
емес, сонымен бірге берілген жүйенің жұмыс істеуінің ең
жақсы сапасының критерийлері бойынша басқарушы шаманың
бағдарламалық мәнін өлшеуде қолданылады.
Жүйе контурына сандық есептеуіш құрылғыны
қосу кірісіндегі үздіксіз шамалардың сандық кодқа
түрленуі мен шығысында кері түрленуімен түйіндеседі.
(сурет1).


1 сурет.
Шығу шамасы әдетте амплитуда немесе ені бойынша модуляцияланатын
импульстердің тізбегі түрінде құрылады.
Жалпы жағдайда импульстік жүйенің жалпыланған
құрылымдық сұлбасын (сурет 2)
келесідей бейнелеуге болады: барлық үздіксіз қатарлар бір блокта жинастырылған (НЧ), ал
импульстік элемент өздік функциональдық
құрылғы (ИЧ) болып
келтіріледі.

2 сурет.
Үздіксіз дабылдың дискретті импульстік элементке түрлену
процесінде екі операция орындалады: уақыт бойынша квантталу мен импульстік модуляция
(3 сурет).

3 сурет.
Олардың біріншісінде u*(t)
дабылы уақыттың t=ti (i=0,1,2,…) дисреттік моменттерінде пайда болады. Амплитудалық -импульстік
модуляциясы кезінде реттегіш параметрдің ролін импульстердің
амплитудасы атқарады, әдетте ол уақыттың дискреттік
t=iT(i=0,1,2,…) моментеріндегі u(t) дабылдың мәндеріне
пропорционалды болады.
мұндағы k –пропорционалдық коэффициенті
γ=const – импульстердің скваждылығы (0<γ≤1).
Ендік – импульстік модуляциясы кезінде модуляциялаушы параметрдің
ролін импульстердің ені немесе ұзақтылығы τi =γi T атқарады. Бұндағы импульстердің
амплитудасы тұрақты болады. Импульстік элементтің
шығысында дабыл келесідей құрылады.
мұндағы h – импульстер
амплитудасы;
sign u(iT) – u(iT)
шаманың таңбасы.
Импульстер ұзақтылығын анықтаудың
әдістерінің бірі 4 суретте келтірілген.

4 сурет.
Амплитудалық-импульстік модулятор
сызықты қатар, ал
ендік-импульстік
– сызықсыз болып табылады.
Импульстік жүйедегі үздіксіз бөліктің кірісінде
амплитудасы бойынша модуляцияланған импульстердің u*(t) тізбегі кірсін делік. Үздіксіз бөлік сызықты
дифференциалдықтеңдеумен сипатталуына мен импульстік
элементтің өзі сызықты болғанына қарамастан,
жүйенің дифференциалдық теңдеуін алу мүмкін емес.
Сондықтан импульстік жүйелерді зерттеуде дифференциальды емес, ал айыратын
теңдеулер қолданылады.
Импульстік элементпен үздіксіз бөліктен құрылатын
тұйықталмаған жүйені қарастырайық (5
сурет).

5 сурет.
W0
(s)
– үздіксіз бөліктің беріліс функциясы;
WФ
(s)
– құрылушы құрылғының
беріліс функциясы.
Импульстік элемент
шартты түрде кілт пен кейбір құрылушы
құралдың тізбектей қосылуымен ауыстырылуы мүмкін.
Кілт уақыттың қысқа аралықта Т периодпен жабылады
және үздіксіз u(t) дабылдан оның u(iT) лездік мәндерін
бөледі. Құрылушы құрылғы олардан тікбұрышты
формалы импульстер түзед. Мұдағы кіру дабылы u(iT)=u(i), ал шығу – y(iT)=y(i)
болсын.
Кез келген f(i) тізбектелуінің үздіксіз функциясының
бірінші туындысының аналогының ролін бірінші реттіліктің
ақырғы айырымы атқарады
Δf(i)=f(i+1) – f(i).
Тізбектлуі үшін үздіксіз функциясының екінші
туындысының аналогының ролін екінші реттіліктің
ақырғы айырымы атқарады
k-шы айырымы
,![]()
мұндағы
биномиальды коэффициенттері.
Дифференциалды теңдеудің аналогы ретінде ақырғы
айырудағы теңдеуді қарастыруға болады.
мұндағы
.
Дисреттік жүйелерді есептеу кезінде айырғыш теңдеуді
қолдану ыңғайлы:
![]()
Айырғыш теңдеулер тізбектей шығу y(i) шамасының мәндерін анықтауға мүмкіндік
беретін рекурренттік қатынастар болып табылады.
Біртекті емес айырғыш теңдеуінің жалпы шешімі
көшуші мен еріксіз құраушыларының қосындысы
түрінде іздеуге болады. Көшуші құраушы
,
мұндағы
- сипаттамалық теңдеудің еселі емес түбірлері
![]()
Орнықтылық шарты
, ![]()
Негізгі әдебиеттер: [1,2]
Қосымша әдебиеттер: [7-9]
14 тақырып.
Сандық реттегіштері бар жүйелердегі орнықтылықты
зерттеу ерекшеліктері. Особенности исследования устойчивости, когда регуляторы
систематизируют.
15 лекция.
Сандық жүйенің бір каналының
құрылымдық сұлбасын келесі түрде келтіруге болады (сурет 1):

y
1 сурет.
Сандық есептеуіш машинасы басқарудың сызықты
алгоритмін жүзеге асырады делік, ал кешігудің қосынды уақыты
жүйенің үздіксіз бөлігіне сәйкестендірілген.
АЦП-да жүзеге асырылатын аналогтік g(t)
немесе y(t) шаманың сандық
немесе
кодқа түрлену процесі үш операциядан
құрылады: уақыт бойынша
кванттау,
деңгей бойынша кванттау және кодтау.
Уақыт бойынша кванттау АЦП-дағы ақпараттың
командалар бойынша СЕМ-дан уақыттың t
=iT моменттерінде енгізілетіндіктен пайда болады. Деңгей бойынша кванттау процесінде үздіксіз шаманың
өзерудің бүкіл диапазоны өзара тең
бөліктерге бөлінеді. Кедлесі шама
![]()
АЦП-ның ажырату қабелетін анықтайды.
Кодтау процесінде
интервалыныің әрқайсысына анықталған екілік код
сәйкестендіріледі.. Бұндай
сәйкестендірілу бірмәнді болу үшін, келесі шарт орныдалу керек
,
мұндағы
- екілік разрядтардың саны.
Линеаризацияланған сипаттама үшін АЦӨ-дағы беріліс
коэффициенті
![]()
ЦАӨ
сандық есептеуіш машинадан келетін
кодты в аналогтік
u* дабылға түрлендіреді,
Түрлендіру процесінде кодтың әрбір мәніне
үздіксіз u дабылдың
анықталған тіркелген мәні сәйкес келеді, ал бұл деңгей бойынша квантталудың болатындығын
білдіреді.
Нольден өзгеше рұқсат етілген
деңгейледің саны
,
мұндағы
- ЦАП разрядтар саны.
Уақыттың
=iT моментінде u(iT)
үздіксіз дабылдың алынған мәндері
тіркеледі де, Т дискреттіліктің периоды кезінде бір деңгейде
ұсталынады. Ал бұл ЦАП-дағы беріліс WФ(s)
функциясына ие болатын құрылушы құрылғының
бар болуына сәйкес келеді.
СЕМ басқарудың қажетті
алгоритмін құрады немесе
келесі сызықтық айырғыш теңдеумен берілетін
есептеуіш процедура түріндегі дискреттік коррекцияны іске асырады:
![]()
.
Нольдік бастапқы шарты кезінде теңдеуге z-түрлендіруді қолдансақ, келесі СЕМ –нің беріліс функциясын аламыз:
![]()
Бастапқы құрылымдық сұлбаны келесі түрде
түрлендіруге болады (сурет 2):

2 сурет.
АЦП мен ЦАП-тың беріліс коэффициенттері,
сонымен бірге
кешігу жүйенің үздіксіз бөлігіне
сәйкестендіріледі.
Сандық жүйенің құрылымдық сұлбасы импульстік жүйенің құрылымдық
сұлбасынан D(z) беріліс функциясына ие
болатын қатардың болуымен ерекшелінеді.
Тұйықталмаған сандық жүйенің беріліс функциясы
W(z)=D(z)WO (z).
Сандық жүйелерге импульстік жүйелерді талдау кезіндегі
қолданылатын орнықтылықты зерттеудің барлық
әдістері таралады.
Жүйе орнықты болады, егер оның сипаттамалық
теңдеуінің барлық түбірлері бірлік радиусы
болатын шеңбердің ішнде жататын болса.Егер де
түбірлердің біреуі шеңберден тыс жатса, онда жүйе
орнықсыз деп есептелінеді.
Жүйе орнықтылықтың апериодты шекарасында болады,
егер де оның сипаттамалық теңдеуінде z=1 түбір бар
болса, ал қалған түбірлері бірлдік радиусты
шеңбердің ішінде жатса.
Егер де сипаттмалық теңдеуде бірлік радиусты шеңберде
орналасқан комплексті-түйіндескен түбірлердің
жұбы болса, онда мұнда орнықтылықтың тербелмелі
шекерасы орын алады. Бұл жағдайда уақыттың
өтуімен жүйеде өшпейтін периодты тербелістер пайда болады.
Импульстік жүйелер үшін типтес үшінші типті
орнықтылықтың шекарасы болып табылады, оған
сипаттамалық теңдеудегі z = -1 түбірдің бар болуы
сәйкес келеді. Бұл жағдайда
жүйеде периоды 2T болатын өшпейтін тербелістер пайда болады.
Негізгі әдебиеттер: [1,2]
Қосымша әдебиеттер: [7-9]
Сұрақтар:
1.
Жүйенің операторы дегеніміз не?
2.
Тұйықталмаған цикл бойынша
реттеу принципінің мәні неде?
3.
Тұйықталған цикл бойынша
реттеу принципінің мәні неде?
4.
Комбинацияланған цикл бойынша реттеу принципінің
мәні неде?
5.
АБЖ-лардың қайсысы басқару
құрылғыларының өзгерістеріне сезімтал?
Тапсырма: Берілген АБЖ
үшін жүйе параметрлерінің өзгеруі кезіндегі
реттеудің қателіктерін анықтау.
Әдістемелік
нұсқау: Тапсырманы орындауда АБЖ-де жұмыс істеу
кезінде статистикалық пен динамикалық қателіктердің
пайда болуын ескеру керек.
Негізгі
әдебиеттер: [1-3]
2 сабақ.
Сұрақтар:
Тапсырма:
Әдістемелік
нұсқау: Тапсырманы орындауда АБЖ-ның типтік
блок-сұлбасын қолдану керек.
Негізгі әдебиеттер: [1-3]
3 сабақ.
Тақырып: АБЖ-ның
құрылымдық сүлбелері. Структурная схема автоматической системы управления
Сұрақтар :
Тапсырма: Ядролық реактордың кинетика теңдеуін
қолдана отырып, объекттің динамика теңдеуін құру.
Әдістемелік
нұсқау: Тапсырманы орындауда кешігетін
нейтрондардың алты тобын ескеру
керек.
Кинетика теңдеуі: ![]()
Кешігуші нейтрондардың концентрациясының
өзгеру жылдамдығы:
![]()
Әдебиеттер: [1-3]
4 сабақ.
Тақырып:
Динамикалқ қатарлар, олардың
амплитудалы-фазалық және
логарифмдік жиіліктік сипаттамалары.
Динамические ряды, и их амплитудно-фазавые и логарифмические, частотные характеристики.
Сұрақтар:
1.
Түрлендіргіштердің қайсысы
ең жоғары дәлдік пен тез әрекеттілікке ие?
2.
АБЖ күшейткіштеріне қойылатын
талаптар?
3.
Электрондық күшейткіштермен
салыстырғанда магниттік күшейткіштер қандай
артықшлыққа ие?
4.
Серводвигатель деген не?
5.
Пассивті мен активті коррекциялаушы
құралдардың арасындағы принципиалды айырмашылық
неде?
Тапсырма: Пассивті мен активті коррекциялаушы
құралдардың жұмысын сипаттайтын дифференциалдық
теңдеуді құру.
Әдістемелік
құралдар.
жиіліктік диапазондағы
құралдардың жұмысын талдау.
Әдебиеттер: [1-3]
5 сабақ.
Тақырып: Тізбектей
жалғанған типтік топтардың амплитуда – фазалық
және логарифмді амплитудалы, фазалы жиіліктік сипаттамаларын
құру. Последовательно
соединенные звенья и их амплитудно-фазавые и логарифмические, частотные
характеристики.
Сұрақтар:
Тапсырма: беріліс функцияны тауып, ол бойынша ядролық
реактордың құрылымдық сұлбасын құру.
Әдістемелік
нұсқау: Тапсырманы орындау кезінде объект
динамикасының теңдеуін қолдану керек.
Негізгі әдебиет: [1-3]
6 сабақ.
Тақырып:
АБЖ-ның орнықтылықтың алгебралық критерийлері. Алгебраические критерии устойчивости системы автоматического управления.
Сұрақтар:
Тапсырма: Апериодты орнықты және орнықты емес
қатарлардың амплитудалы-фазалық мен логарифмдік
амплитудалық мен
фазалық жиіліктік сипаттамаларын құру.
Әдістемелік
нұсқау: Логарифмдік сипаттамаларын құру
кезінде қатардың беріліс функциясын келесі түрде келтіру
керек: ![]()
Негізгі әдебиеттер: [1-3]
7 сабақ.
Тақырып:
АБЖ-ның орнықтылығының алгебралық критерийлері. Алгебраические критерии устойчивости системы автоматического
управления.
Сұрақтар:
Тапсырма: Орнықты тербелмелі және екінші ретті
дифференциалдаушы типтік қатарлардың амплитудалық
–фазалық пен логарифмдік
амплитудалық мен фазалық
жиіліктік сипаттамаларын құру.
Әдістемелік
нұсқау: Тапсырманы орындау кезінде логарифмдік
амплитудалық сипаттамаларының түріне өшу
коэффициентінің
әсерін ескеру.
Негізгі
әдебиеттер: [1-3]
8 сабақ.
Тақырып:
АБЖ-ның орнықтылықтың жиіліктік критерийлері.
Критерии
частоты устойчивости системы автоматического управления.
Сұрақтар:
Тапсырма: Типтік динамикалық қатарлардың тізбегі
үшін амплитудалық – фазалық
және логарифмдік амплитудалық және фазалық жиіліктік сипаттамаларын құру.
Әдістемелік
нұсқау: Тапсырманы орындау кезінде келесі
қатынасты қолдануға болады:
![]()
![]()
Негізгі әлебиеттер:
[1-3]
9 сабақ.
Тақырып:
Логарифмдік жиіліктік сипаттамалары бойынша бір контурлы АБЖ-дің
орнықтылығын талдау. Устойчивость
контурно Автоматический системы управления одного согласно логарифмическим
описаниям частоты обсуждать.
Сұрақтар:
Тапсырма:
Ляпуновтың териясын қолдана отырып,
сызықты жүйенің орнықтылығын талдау.
Әдістемелік
нұсқау: тапсырманы орныдау кезінде оң
анықталған матрица ретінде бірлік матрицаны қолданған
жөн.
Негізгі әдебиеттер:
[1-3]
10 сабақ.
Тақырып: АБЖ-ның сапасын
зерттеу. Исследовать качество системы автоматического управления.
Сұрақтар:
2.
Раус критерийін тұжырымдау.
3.
Гурвиц пен Раус
критерийлерінің Ляпунов әдісімен салыстырғанда қандай
артықшылықтарға ие?
4.
Дифференциалдық теңдеулердің
сызықтық жүйесінің сипаттамалық теңдеуі
қалай құрылады?
5.
Матрицаның бұрыштық минорлары деген не?
Тапсырма:
Гурвиц пен
Раус критерийлерін пайдалана отырып, берілген жүйенің
орнықтылығын анықтау. Сипаттамалық теңдеуді
талдап, алынған нәтижелерді тексеру.
Әдістемелік нұсқау: Тапсырманы орындау кезінде АБЖ параметрлерінің
өзгеру диапазонын анықтау.
Әдебиеттер: [1-3]
11 сабақ.
Тақырыбы:
Тұйықталған жүйенің беріліс функциясының
нөлдері мен полюстерінің орналасуы бойынша сапа
көрсеткіштерін анықтау. Функция передачи системы, которая замкнулась,
располагаться нолей и полюстерінің согласно показатели качества выявлять.
Сұрақтар:
1.
Беріліс функциясының нөлі
дегеніміз не?
2.
беріліс функциясының полюсі деген не?
3.
АБЖ-ның сапасын талдау кезінде неліктен
жалған комплексті жартылайжазықтығында солырақ
орналасқан нөлдер мен полюстер қарастырылады?
4.
Полюстердің қайсысы жүйе
тәртібіне әсер етеді?
5.
АБЖ-дағы көшу процесінің
жүру уақыты қалай өзгереді?
Тапсырма:
Тұйықталған АБЖ-нің берілген
беріліс функциясының түбірлері мен полюстерін анықтау, оларды
комплекстік жазықтығында құру мен негізгі сапалық
көрсткіштерін анықтау.
Әдістемелік
нұсқау: тапсырманы орындауды доминациялаушы полюсті
анықтаудан бастау керек.
Әдебиеттер: [1-3]
12-13 сабақ.
Тақырып:
АБЖ-нің динамикалық дәлдігі. Динамическая точность системы
автоматического.управления
Сұрақтар:
1.
Қандай режимде АБЖ-нің
динамикалық дәлдігі анықталады?
2.
Статистикалық мен астигматизмді
АБЖ-лардың арасындағы принципиалдық айырмашылық
қандай?
3.
Қандай жүйелер жоғары
дәлдікке ие (статикалық
немесе астатикалық)?
4.
Қателіктер коэффициентері қандай байланыста болады?
Неліктен
жүйелердің жұмыс істеуін талдаған кезде
олардың динамикалық дәлдігі соңында анықталады?
Тапсырма:
Берілген логарифмдік амплитудалық сипаттмасы
бойынша жүйенің астатизм
дәрежесін анықтау.
Әдістемелік
нұсқау: Астатизм дәрежесі логарифмдік амплитудалық
сипаттамасының көлбеу бұрышы бойынша анқталады .
Әдебиеттер: [1-3]
14 сабақ.
Тақырып:
дискреттік жүйелер түсінігі. понятие дискретность систем .
Сұрақтар:
2. Дисреттік жүйелерге қандай жүйелер жатады?
3. Сандық есептеуіш құрылғының белгіленуі.
4. Уақыт бойынша кванталудың мәні неде?
5. Деңгей бойынша кванталудың мәні неде?
Тапсырма:
Берілген
дискреттік жүйе үшін құрылымдық
сұлбаны құру.
Әдістемелік
нұсқау: Тапсырманы орындау кезінде үздіксіз
әрекеттің бүкіл элементтері бір беріліс функциямен
өрнектеу. Әдебиет: [1-3]
15 сабақ.
Тақырып:
Сандық реттегіштері бар жүйелердегі орнықтылықты
зерттеудің ерекшеліктері. Особенности
исследования устойчивости, когда регуляторы систематизируют
Сұрақтар:
1.
Сандық реттегіш деген не?
2.
АЦП деген не?
3.
ЦАП деген не?
4.
Сандық жүйенің
орнықтылық шарты.
5.
Сандық жүйе үшін
сипаттамалық теңдеудің түрі қандай.
Тапсырма:
Берілген сандық жүйенің
орнықтылығын анықтау.
Әдістемелік
нұсқау: Тапсырманы орныдау кезінде сандық
құрылғының уақыттық тежелуін таза
кешігудің қатары түрінде көрсету.
Әдбиеттер: [1-3]
Студенттердің
өздік жұмысы сабағына оқытушының берген
теориялық сұрақтары және практикалық тапсырмалар
талданады (дәріс және практикалық сабақ аумағындағы).
Тапсырма: Берілген АБЖ әсерлесу принципі бойынша жіктеу.
Әдістемелік нұсқау:
Тапсырманы орындау барысында АБЖ әрбір классы
группаларға бөлінетінін ескеру керек (ажыратылған,
тұйықталған, комбинерленген циклдер және
өздігінен реттелетін).
Негізгі әдебиеттер [1-6]
Қосымша әдебиеттер
[10-12].
Тақырып 2. АБЖ
құрылымдық сүлбесі. Структурная схема системы автоматического управления.
Тапсырма: Реттеу объектілерінің, сезімтал
элементтердің, түрлендіргіштердің, күшейткіш
элементтерінің, орындаушы элементтердің және түзету
құрылғылардың жұмыстарының маңыздылығын
қарастыру керек.
Әдістемелік
нұсқау:
Тапсырманы орындау барысында АБЖ
құрылымдық бөліктеріне ұсынылған ережелерге
ерекше көңіл аудару керек.
Негізгі әдебиеттер [1-6]
Қосымша әдебиеттер [10-12].
3 тақырып. АБЖ
құрылымдық сүлбесі. Структурная схема системы автоматического управления.
Тапсырма: Берілген реттеу объектісінде өтетін
физикалық үрдістерді ескеріп, оның жұмысын
анықтайтын теңдеуді қорыту керек.
Әдістемелік нұсқау:
Тапсырманы орындау барысында реттелетін шама аз
диапазонда өзгеретіндігінен шығатынын ескеру керек.
Негізгі әдебиеттер [1-6]
Қосымша әдебиеттер [10-12].
4 тақырып. Динамикалық
бөліктер, олардың амплитуда-фазалық және логарифмды
жиіліктік сипаттамалары. Динамические части, и их амплитудно-фазавые и логарифмические,
частотные характеристики.
Тапсырма: Берілген динамикалық теңдеу бойынша немесе
АБЖ принципиалды сүлбесі арқылы АБЖ құрылымдың
сүлбесін құру керек.
Әдістемелік
нұсқау: Құрылымдық сүлбені
құру барысында детектрлеуші қасиетке ие бөліктерді
қолдану керек.
Негізгі әдебиеттер [1-6]
Қосымша әдебиеттер [10-12].
5 тақырып. Тізбектей
жалғанған типтік топтардың амплитуда – фазалық
және логарифмді амплитудалы, фазалы жиіліктік сипаттамаларын
құру. Последовательно
соединенные звенья и их амплитудно-фазавые и логарифмические, частотные
характеристики.
Тапсырма: он алты негізделген типтік бөліктердің
амплитуда – фазалық және логарифмдік жиіліктік сипаттамасын
құру керек.
Әдістемелік
нұсқау:
Тапсырманы орындау барысында екі типтер сипаттамалары
арасындағы байланысты құру керек.
Негізгі әдебиеттер [1-6]
Қосымша әдебиеттер [10-12].
6 тақырып. Ляпуновтың
орнықтылықтық есептерінің жалпы қойылымы. общая постановка устойчивости
Счета Ляпунова.
Тапсырма: Берілген ажыратылған АБЖ беріліс функциясы бойынша
амплитуда-фазалық және логарифмдік жиіліктік сипаттамаларын
құру.
Әдістемелік
нұсқау:
Логарифмдік жиіліктер сипаттамаларын құрар
алдында берілген беріліс функциясын типтік бөліктердің тізбектей
жалғанған топтары қосындысы түрінде қарастыру
керек.
Негізгі әдебиеттер [1-6]
Қосымша әдебиеттер [10-12].
7 тақырып. АБЖ-ның
орнықтылығының алгебралық критерийлері.
Алгебраические
критерии устойчивости системы автоматического управления.
Тапсырма:
оң
анықталған квадраттық форманы қолданып, сонымен
қатар матрицаның сипаттамалық теңдеуінің
түбірін талдау арқылы берілген автономды сызықтық
жүйенің тұрақтылығын зерттеу керек.
Әдістемелік
нұсқау: Тапсырманы орындау алдында жүйені
келесі түрге келтіру керек:

Негізгі әдебиеттер [1-6]
Қосымша әдебиеттер [10-12].
8 тақырып. АБЖ-ның орнықтылықтығының
жиіліктік критерийлері. Системы автоматического управления устойчивость критерии
частоты .
Тапсырма: Сызықты дифференциалдық теңдеулер
жүйесімен жазылатын АБЖ жұмысы үшін Гурвиц матрицасын
және Раус кестесін құру керек. Оларды қолдана отырып
АБЖ тұрақтылығын тексеру қажет.
Әдістемелік
нұсқау: Тапсырманы орындау кезінде
сипаттамалық теңдеуді келесі түрде жазу керек
.
Негізгі әдебиеттер [1-6]
Қосымша әдебиеттер [10-12].
9 тақырып. Логарифмдік
жиіліктік сипаттамалары бойынша бір контурлы АБЖ-нің
орнықтылығын талдау. Устойчивость
системы контурно Автоматический управления одного согласно логарифмическим
описаниям частоты обсуждать.
Тапсырма: Берілген АБЖ үшін Михаилов және
Михайлов-Найквист годографтарын құр.
Әдістемелік
нұсқау: Тапсырманы орындау барысында
ажыратылған жүйенің беріліс функциясы бойынша
тұйықталған және ажыратылған
жүйелердің сипаттамалық теңдеулерін құру
қажет.
Негізгі әдебиеттер [1-6]
Қосымша әдебиеттер [10-12].
10 тақырып. АБЖ
сапасын зерттеу. Исследовать
качество системы автоматического управления.
Тапсырма: Ажыратылған жүйенің беріліс
функцияларының АБЖ үшін логарифмді амплитудалық және
фазалы жиіліктік сипаттамаларын құру керек.
Әдістемелік
нұсқау: Берілген беріліс функциясын тапсырманы
орындау алдында тізбектей жалғанған типтік динамикалық
бөліктер кобинациясы түрінде қарастыру керек.
Негізгі әдебиеттер [1-6]
Қосымша әдебиеттер [10-12].
11 тақырып. Тұйықталған
жүйенің беріліс функциясының нөлдері мен
полюстерінің орналасуы бойынша сапа көрсеткіштерін анықтау. Функция передачи системы, которая
замкнулась, располагаться нолей и полюстерінің согласно показатели
качества выявлять.
Тапсырма: Тұйықталған жүйенің
беріліс функциясы бойынша үрдісті құр және
алынған график бойынша АБЖ негізгі сапа көрсеткіштерін
анықта.
Әдістемелік нұсқау: Шығатын теңдеуге Лапластың
түрлендіруін қолдан, сипаттамалық теңдудің
түбірлерін тап және алынған түбірлер түріне
тәуелді
шешімін анықта.
Негізгі әдебиеттер [1-6]
Қосымша әдебиеттер [10-12].
12 тақырып. АБЖ
динамикалық дәлдігі. Динамическая точность системы автоматического управления.
Тапсырма: Берілген жүйе үшін ауысу
үрдісінің уақытын және максималды қайта реттеу
уақытын анықта.
Әдістемелік нұсқау: Тапсырманы орындау үшін доминерлеуші полюстерді
бөліп алу керек.
Негізгі әдебиеттер [1-6]
Қосымша әдебиеттер [10-12].
13 тақырып.
Дискретті жүйелер түсінігі. Понятие
дискретных систем.
Тапсырма: Жүйенің тез әрекеті оның
динамикалық дәлдігіне қалай әсер ететінің
анықта.
Негізгі әдебиеттер [1-6]
Қосымша әдебиеттер [10-12].
14 тақырып. Сандық
реттегіштері бар жүйелердегі орнықтылықты зерттеудің
ерекшеліктері. Особенности исследования
устойчивости, когда регуляторы систематизируют
Тапсырма: Жүйеге компенсирлеуші бөлікті енгізе отырып,
басқарушы әрекетке толық инвариантты жүйені
құр.
Әдістемелік нұсқау:
Тапсырманы орындау барысында
жүйенің астаизм ретін артыру керек.
Негізгі әдебиеттер [1-6]
Қосымша әдебиеттер [10-12].
1 тапсырма.
Тақырып: Объектілердің,
құрылғылардың және АБЖ динамикасы
теңдеулері. Объекты, устройства и динамические уравнения автоматических систем управления.
Тапсырма: Берілген
принципиалды сүлбе үшін дифференциалдық теңдеу
құр.
Әдістемелік
нұсқау: Тапсырманы орындау барысында
жүйенің элементтерін идеалды деп санау керек.
Негізгі әдебиеттер [1-6]
Қосымша әдебиеттер [10-12].
2 тапсырма.
Тақырып: АБЖ
құрылымдық сүлбесі. структурная схема.Системы автоматического
управления
Тапсырма: Схема үшін (1тапсырмадағы) құрылымдық сүлбе
құр.
Әдістемелік
нұсқау: Сүлбені құру кезінде
жүйенің жұмысына үздіксіз әрекет жасамаған
элементтерді ескермеу керек.
Негізгі әдебиеттер [1-6]
Қосымша әдебиеттер [10-12].
3 тапсырма.
Тақырып. Динамикалық
бөлік, олардың амплитуда-фазалық және логарифмді
жиіліктік сипаттамалары. Динамическая часть, их амплитудно-фазавые и логарифмические и частотные
характеристики
Тапсырма: 2 тапсырмадағы құрылымдық
сүлбені динамикалық бөліктердің типтік комбинациялары
түрінде қарастырып, олардың амплитуда-фазалық
және логарифмді жиіліктік сипаттамаларын құру керек.
Әдістемелік нұсқау: Типтік динамикалық бөліктің өте
жоғарғы тәртібі екеуден аспайды.
Негізгі әдебиеттер [1-6]
Қосымша әдебиеттер [10-12].
4 тапсырма.
Тақырып: Тізбектей
жалғанған типтік бөліктері топтарының
амплитуда-фазалық және логарифмді амплитудалық және
фазалы жиіліктік сипаттамаларын құру. Последовательно соединенные звенья и их амплитудно-фазавые и логарифмические, частотные
характеристики.
Тапсырма: 1 тапсырмадағы сүлбенің жұмысын
жазатын амплитуда-фазалық және логарифмді сипаттамасын
құр.
Әдістемелік нұсқау: Логарифмдік сипаттамаларды жартылай логарифмдік
қағазда сал. Фазалық сипаттаманы құру кезінде кем
дегенде 10 нүкте қолдан.
Негізгі әдебиеттер [1-6]
Қосымша әдебиеттер [10-12].
5 тапсырма.
Тақырып: АБЖ
орнықтылығының алгебралық критерийлері. Алгебраические критерии
устойчивости систем автоматического управления.
Тапсырма: Гурвицтің және Раустың
орнықтылық критерийлерін қолданып 1-тапсырмадағы
жүйенің орнықтылығын тексер.
Әдістемелік
нұсқау: Тапсырманы орындау үшін
сипаттамалық теңдеуді жазу қажет.
Негізгі әдебиеттер [1-6]
Қосымша әдебиеттер [10-12].
6 тапсырма.
Тақырып: АБЖ
орнықтылығының жиіліктік критерийлері. Критерии частоты устойчивости систем автоматического
управления.
Тапсырма: Михайлов және Михайлов-Найквисттің
годографтарын құрып, олардың көмегімен
жүйенің орнықтылығын және орнықтылық
қорын анықта (1- тапсырмадағы
жүйенің).
Әдістемелік нұсқау:
Тапсырманы орындау барысында алдында
алынған нәтижелерді қолдану керек (5 - тапсырма).
Негізгі әдебиеттер [1-6]
Қосымша әдебиеттер [10-12].
7 тапсырма.
Тақырып: Логарифмді
жиіліктілік сипаттамалары бойынша бір контурлы АБЖ орнықтылығын
талдау. Логарифм
согласно частоте описаниям один управлять контурно Автоматический устойчивость
систем обсуждать.
Тапсырма: Логарифмді амплитудалы және фазалы жиіліктік сипаттамаларды
қолданып жүйенің орнқтылығына көз жеткізіп,
орнықтылық қорларын анықтау керек.
Әдістемелік
нұсқа: Тапсырманы орындау барысында 4, 6
тапсырмаларда алынған нәтижелерді қолдану керек.
Негізгі әдебиеттер [1-6]
Қосымша әдебиеттер [10-12].
8 тапсырма.
Тақырып: АБЖ
сапасын зерттеу. исследовать
качество Автоматических систем управления.
Тапсырма: 1- тапсырмадағы негізгі сапа көрсеткіштерін
анықта.
Әдістемелік
нұсқау: Тапсырманы орындау үшін ауыспалы
үрдістің сипаттамасын құру қажет.
Негізгі әдебиеттер [1-6]
Қосымша әдебиеттер [10-12].
9 тапсырма.
Тақырып: Тұйықталған
жүйенің беріліс функцияларының нөлдерінің
орналасуы және полюстері бойынша сапа көрсеткіштерін анықтау.
Ноли функций
передачи системы, которые замкнулись, располагаться и согласно полюстері
показатели качества выявлять.
Тапсырма: Тұйықталған жүйенің
беріліс функцияларының нолдерінің орналасуы және полюстері
бойынша 1- тапсырмадағы жүйенің сапа көрсеткіштерін
анықта.
Әдістемелік
нұсқау: Тапсырманы орындау үшін алдын ала доминирлеуші полюстің күиін
қайта анықтау керек.
Негізгі әдебиеттер [1-6]
Қосымша әдебиеттер [10-12].
10 тапсырма.
Тақырып: логарифмді
амплитудалар сипаттамалары
көмегімен АБЖ қателік коэффециеттірін анықтау. системы Автоматического
управлением помощью описаний логарифм амплитудалар ошибка коэффециеттірін
выявлять.
Тапсырма: Берілген басқарушы әрекеттегі
жүйенің қателігін анықта. (1- тапсырмадағы).
Әдістемелік
нұсқау: Тапсырманы орындау кезінде қарастырылып
отырған жүйенің астатизмін ескеру керек.
Негізгі әдебиеттер [1-6]
Қосымша әдебиеттер [10-12].
11 тапсырма.
Тақырып: Комбинерленген
басқаруды қолдану бағытында АБЖ дәлдігін арттыру. Точность системы Автоматического
управления на направлении применения увеличивания
комбинирования.
Тапсырма: Астатизм тәртібін арттырып, жүйенің
жұмысының қателігін кеміту керек (1- тапсырмадағы).
Әдістемелік
нұсқау: Түзетуші бөліктің беріліс
функциясын ала отырып, басқарушы әрекетке инвариантты жүйені
құру қажет.
Негізгі әдебиеттер [1-6]
Қосымша әдебиеттер [10-12].
2.7 Оќу
сабаќтарына баѓдарламалыќ жєне мультимедиалыќ ілеспе
|
Таќырып |
Сабаќ т‰рі |
Баѓдарламалыќ µнім т‰рі |
Ќолайлы орын |
Арнайы дєрісхана атауы |
|
Автоматты
басқарудың теориялық негіздері. Автоматты басқару
жүйелері және түрлері |
Лек-ция |
Power-Point |
Академик Ж.С.Ақылбаев атындағы
инженерлік жылуфизикасы кафедрасы |
№8 мультиме-диалық кеңейтілген
дәрісханалар |
|
Автоматты басқару жүйесінің сапасын
зерттеу. Тұйықталған автоматты жүйелер.
Тұйықталған жүйенің беріліс функциясының
нольдері мен полюстерінің орналасуы бойынша сапаның көрсеткіштерін
анықтау |
Лек-ция |
Power-Point |
Академик Ж.С.Ақылбаев атындағы
инженерлік жылуфизикасы кафедрасы |
№8 мультиме-диалық кеңейтілген
дәрісханалар |
1. Қандай реттегіштер жоғары дәрежеге ие?
А) тура әсер реттегіштері
В) тура әсерлеспейтін реттегіштер
С) механикалық реттегіштер
Д) гидравликалық реттегіштер
Е) электрлік реттегіштер
2.
Тура әсерлеспейтін реттегіштерінің
қажетті компоненттері болып:
А) тізбектей түзету құрылғысы
В) параллель түзету құрылғысы
С) қуат және серводвигатель күшейткіші
Д) жергілікті қайтымды байланыс
Е) сумматорлар
3. Ажыратылған цикл бойынша жұмыс істейтін АБЖ жататындар:
А) компенсация және бағдарламалы реттеу жүйелері
В) қадағалау жүйелері жәгне бағдарламалық
реттеу жүйелері
С) тек қана қадағалау жүйелері
Д) тек қана тұрақтандыру жүйелері
Е) өздігінен қалыптасатын жүйелер
4. Қандай бөлікте тербеліс пайда болуы мүмкін?
А) ![]()
В) ![]()
С) ![]()
Д) ![]()
Е) ![]()
5. Келтірілген бөліктердің қайсысы типтік емес?
А) ![]()
В) ![]()
С) ![]()
Д) ![]()
Е) ![]()
6. Типтік бөліктердің қайсысы төменгі
жиіліктердің фильтрі болып табылады?
А) ![]()
В) ![]()
С) ![]()
Д) ![]()
Е) ![]()
7. Төменде келтірілген жүйе дифференциалдық теңдеумен
жазылады:
Бұл
жүйе
А) орнықсыз
В) орнықты
С) асимптотикалық орнықты
Д) шартты орнықты
Е) абсолютті орнықты
8.
Автономды жүйенің жұмысын жазатын,
сызықтық жүйе коэффициенттерінен құрылған А
матрицасының сипаттамалық теңдеуінің барлық
түбірлері
А) орнықсыз
В) орнықты
С) асимптотикалық орнықты
Д) шартты орнықты
Е) абсолютті орнықты
9. Раус коэффициеттері кестесінде оның бірінші бағанасы
коэффициенттерінің оң жүйесі
А) орнықсыз
В) орнықты
С) асимптотикалық орнықты
Д) шартты орнықты
Е) абсолютті орнықты
10. Тұйықталған АБЖ сипаттамалық теңдеуі келесі
түрде болғанда
жүйе
А) орнықсыз
В) орнықты
С) асимптотикалық орнықты
Д) шартты орнықты
Е) абсолютті орнықты
11. Ажыратылған жүйе орнықты болады, ал годографы компекстік
жазықтықтардың (-1; 0j)
нүктелерін қамтымағанда тұйықталған жүйе
А) орнықсыз
В) орнықты
С) асимптотикалық орнықты
Д) шартты орнықты
Е) абсолютті орнықты
12.
Ажыратылған жүйенің сипаттамалық
теңдеуі 3 жолаққа ие. Тұйықталған
жүйе орнықты болу үшін Михайлов-Найквист годографы
комплекстік жазықтықтың (-1; 0j) нүктесін неше рет
қамту қажет?
А) оң бағытта 3 рет
В) 3 рет
С) оң бағытта 3 К рет
Д) теріс бағытта 3 К рет
Е) оң бағытта 3/2 рет
13. Ажыратылған жүйенің беріліс функциясы келесі түрде
жазылғанда ![]()
Жүйенің
тәртібі қандай?
А)1
В)2
С)3
Д)5
Е)3/2
14. Жүйенің құрамына «таза» кешігу бөлігін
енгізгенде оның орнықтылығы
А) артады
В) өзгермейді
С) ереже бойынша кемиді
Д) кешігу уақытына пропорциональді артады
Е) К пропорцианалды кемиді
15.Жүйенің
статикалық коэффициентін арттырған кезде оның
орнықтылығы
А) артады
В) өзгермейді
С) кемиді
Д) К теңдеуіне пропорциональді артады
Е) К пропорциональді кемиді
16. Жүйенің
ауыспалы үрдісінің өшуінің логарифмдік декременті нені
сипаттайды?
А) ауыспалы үрдістің жүру уақытын
В) реттелетін шаманың өңдеу жылдамдығын
С) қайта реттелудің максималдылығын
Д) көшпелі процестің тез өшуі
Е) үрдістің монотондығын
17. Тұйықталған жүйенің беріліс
функциясының доминерлеуші полюсіне оның кез-келген полюсінің
жақындауы:
А) жүйенің орнықтылығын арттырады
В) ауыспалы үрдістің уақытының артуына әкеледі
С) қайта реттеудің максималды артуына әкеледі
Д) жүйенің
астатизмі ретінің артуына
Е) үрдіске
қажетті уақыттың кемуіне әкеледі
18. АБЖ қателік коэффициенттері C0=С1=0 бұл АБЖ
А) сематикалық
В) бірінші ретті астатизмділігі
С) екінші ретті
астатизмділігі
Д) үшінші
ретті астатизмділігі
Е) ажыратылған
типті
19.Астатизм
ретінің өсуімен АБЖ дәлдігі
А) кемиді
В) өзгермейді
С) артады
Д) жоғарғы
бөліктерде ғана артады
Е) қозушы
әрекетке тәуелді емес
20.Қозушы әрекетке инвариантты жүйе
А) қозу әрекетіне байланысқан
В) қозу
әрекетін толығымен компенсациялайды
С) қозған
әрекеті дифференциалдайды
Д) қозған
әрекеттерге тәуелді
Е) қателік
коэффициентеріне ие болады
|
Сұрақ |
Дұрыс жауаптар (А,В,С,Д,Е) |
Сұрақ номері
|
Дұрыс жауаптар (А,В,С,Д,Е) |
|
1 |
В |
11 |
В |
|
2 |
С |
12 |
Е |
|
3 |
А |
13 |
А |
|
4 |
С |
14 |
С |
|
5 |
Д |
15 |
С |
|
6 |
Д |
16 |
Д |
|
7 |
В |
17 |
В |
|
8 |
С |
18 |
С |
|
9 |
В |
19 |
С |
|
10 |
А |
20 |
В |
|
Сұрақтар
саны |
1 |
2 |
3 |
4 |
5 |
6 |
7 |
8 |
9 |
10 |
|
Балдар |
2 |
4 |
6 |
8 |
10 |
12 |
14 |
16 |
18 |
20 |
|
Сұрақтар
саны |
11 |
12 |
13 |
14 |
15 |
16 |
17 |
18 |
19 |
20 |
|
Балдар |
22 |
24 |
26 |
28 |
30 |
32 |
34 |
36 |
38 |
40 |
1. АБЖ әсерлесу принципі
2. АБЖ босты
құрылғылары
3. Басқарушы және қозған әрекеттер түрлері
4. АБЖ классификациясы
5. Реттеу объектілері
6. Сезімтал
элементтер және датчиктер
7. Күшейткіш элементтер
8. Қызметші элементтер
9. Түзетуші құрылғылар
10. Объектілердің, құрылғылардың
және АБЖ динамикасы теңдеулері
11. АБЖ құрылымдық сүлбелері
12. Түрлендіргіш құрылымдық сүлбелер
13. АБЖ беріліс функциялары
14. Динамикалық бөліктер
15. Тізбектей жалғанған типтік бөліктердің
топтарының логарифмдік сипаттамалары
16. Ляпунов әдісі бойынша АБЖ орнықтылық анализі
17. АБЖ орнықтылығының алгебралық критерийі
18. АБЖ орнықтылығының жиліктік критерийлері
19. Логарифмдік
сипаттамалары бойынша АБЖ орнықтылық
анализі
20. АБЖ
Динамикалық
21. Қателік коэффициенттері
22. АБЖ дәлділігін арттыру
Мазмұны
|
1. |
ПӘННІҢ ОҚУ БАҒДАРЛАМАСЫ – SYLLABUS |
3 |
|
1.1 |
Оқытушы
туралы мәліметтер |
3 |
|
1.2 |
Пән
туралы мәліметтер |
3 |
|
1.3 |
Пререквизиттері |
3 |
|
1.4 |
Постреквизиттері |
3 |
|
1.5 |
Пәннің
қысқаша мазмұны |
3 |
|
1.6 |
Пән
бойынша тапсырманы орындау және өткізу кестесі |
4 |
|
1.7 |
Әдебиеттер
тізімі |
5 |
|
1.8 |
Баға
туралы ақпараттар |
6 |
|
1.9 |
Курстың
саясаты мен процедурасы |
6 |
|
2. |
ПӘН БОЙЫНША ОҚУ - ӘДІСТЕМЕЛІК
МАТЕРИАЛДАР |
8 |
|
2.1 |
Курстың
тақырыптық жоспары |
8 |
|
2.2 |
Дәрістік
сабақтардың тезистері |
10 |
|
2.3 |
Семинарлық сабаќтардыњ жоспары |
66 |
|
2.4 |
Тәжірибелік
сабақтар жоспары |
74 |
|
2.5 |
Оқытушының жетекшілігімен орындалатын
студенттердің өздік жұмыстары бойынша өткізілетін
сабақтардың жоспары (СОӨЖ) |
74 |
|
2.6 |
Студенттердің
өзіндік жұмыстары бойынша сабақтар жоспары Оќу
сабаќтарына баѓдарламалыќ жєне мультимедиалыќ ілеспе |
78 |
|
2.7 |
82 |
|
|
2.7 |
Өзіндік бақылау үшін тест тапсырмалары және
олардың дұрыс жауаптары |
82 |
|
2.8 |
Курс
бойынша емтихан сұрақтары |
88 |
Е.А.Бөкетоватындағы ҚарМУ
ғылыми-әдістемелік
кеңесінде
мақұлданды, бекітілді
№5 хаттамасы17 сәуір 2009ж.
АВТОМАТТЫ БАСҚАРУ ТЕОРИЯСЫ
пәні бойынша
050717 – «Жылу энергетика» мамандығы үшін
ОҚУ-ӘДІСТЕМЕЛІК КЕШЕН
Сатыбалдин Аманкелді Жарылғасын ұлы
|
Басуға ___.____.200__ж. қол
қойылды. Пішімі 60´84 1/16. Кітап-журнал қағазы. Көлемі ___,___ ес.-б.т. Таралымы ___
дана. Тапсырыс № ___. |
Е.А.Бөкетов атындағы ҚарМУ
баспасының баспаханасында басылып шықты 470061,
Қарағанды қ., Гоголь к-сі, 38
