Динамічні навантаження мостового крана при
гальмуванні вантажу, що піднімається
При розрахунку динамічних навантажень крана при підйомі вантажу найчастіше
розглядають підйом вантажу "з підхопленням", при якому динамічні
навантаження мають максимальні значення. Проте, дослідники обмежуються
розглядом трьох етапів при підйомі вантажу "з підхопленням": 1) вибір
провисання каната та зазорів в приводі; 2) зміна зусилля в канаті від нуля до значення,
рівного вазі вантажу; 3) підйом вантажу. В той же час, проведені нами дослідження
показали, що в деяких випадках максимальні динамічні навантаження в канатах і
металоконструкції крану виникають після спрацьовування колодкового гальма в
період гальмування вантажу, що піднімається (четвертий етап).
Метою роботи є аналіз впливу різних чинників на динамічні зусилля в канатах
і металоконструкції крану при гальмуванні вантажу, що піднімається.

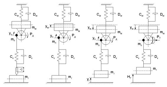
а) б) в) г)
Рис. 1 - Розрахункова схема мостового крану при підйомі вантажу
Рух мостового крана, що розглядався у вигляді розрахункової схеми (дивись
рис. 1) описується наступними диференціальними рівняннями:
на першому етапі (рис. 1а)
(1)
на другому етапі (рис. 1б)
(2)
на третьому (рис. 1в) і четвертому (рис. 1г) етапах
(3)
де
- приведена до канатів
маса частин механізму підйому, що обертаються;
- приведена до
середини прольоту маса середніх частин моста і порожнього візка;
- маса вантажу;
- коефіцієнт
жорсткості металоконструкції крана;
- коефіцієнт
загасання коливань металоконструкції крана;
- коефіцієнт
жорсткості вантажних канатів;
- коефіцієнт загасання
коливань канатів;
- шляхи, що проходять
відповідні маси
;
- приведена до
канатів сила асинхронного двигуна, що змінюється за нелінійними механічними
характеристиками.
Чисельне
інтегрування диференціальних рівнянь (1 - 3) здійснювалося за розробленою
програмою в середовищі Delphi [1]. На рис. 2 представлені типові графіки зусиль
в канатах
і металоконструкції
мостового крана
вантажопідйомністю 10т при розгоні по першій механічній характеристиці.
Аналіз
графіків показав, що зусилля в канатах
і металоконструкції
на четвертому етапі
перевищують відповідні навантаження на третьому етапі. Так динамічні
коефіцієнти в канатах kк на четвертому етапі перевищують вказані
коефіцієнти на третьому етапі при розгоні за першою характеристикою на 8,4%. А
динамічні коефіцієнти в металоконструкції kм відповідно - на 5,6%.
Аналогічні коефіцієнти kк і kм на четвертому етапі
перевищують вказані коефіцієнти на третьому етапі при розгоні за шостою
характеристикою відповідно на 20,85%. і 15,4%. Зусилля в канатах і
металоконструкції на четвертому етапі залежать від фази коливань вантажу і
перевищують відповідні навантаження на третьому етапі тільки у тому випадку,
якщо у момент зупинки механізму підйому швидкість вантажу спрямована вгору.

Рис.2 - Графіки зусиль
і
при розгоні по 1-ій
механічній характеристиці
Аналіз
перехідних процесів показав, що динамічні коефіцієнти kк і kм
залежать від механічної характеристики, по якій здійснюється розгін електроприводу
і від висоти, на яку піднімається вантаж. На рис. 3 наведено графіки залежності
динамічних коефіцієнтів kк і kм від механічних
характеристик при висоті підйому вантажу рівної 0,4 м. Як видно, із збільшенням
порядкового номера механічної характеристики росте відмінність між динамічними
коефіцієнтами розрахованими на третьому і четвертому етапах. Якщо при підйомі
за першою характеристикою коефіцієнт kк на третьому етапі дорівнює
1,53, а на четвертому - 1,67, то при підйомі за шостою характеристикою вказаний
коефіцієнт дорівнює 1,56 і 1,96, відповідно. Динамічний коефіцієнт kм
змінюється аналогічно і набуває значень при підйомі за першою характеристикою
1,39 і 1,47, а по шостій, відповідно - 1,35 і 1,59.
На
рис. 4 приведені графіки залежності динамічних коефіцієнтів kк і kм
від висоти, на яку піднімається вантаж. Графіки показують, що при малих значеннях
висоти підйому (до 0,15 м) динамічні коефіцієнти на четвертому етапі значно
перевищують відповідні коефіцієнти третього етапу. По мірі збільшення висоти
підйому, відмінності між динамічними коефіцієнтами на третьому і четвертому
етапах зменшуються.
Слід
зазначити, що при розрахунку динамічних коефіцієнтів kк і kм
не враховувалося запізнення спрацювання гальма механізму підйому, оскільки це
може як збільшити, так і зменшити вказані коефіцієнти, залежно від фази зупинки
механізму підйому.

Рис. 3 - Графіки залежності динамічних коефіцієнтів kк і kм
від механічних характеристик на III-му і на IV-му етапах
Отже,
прагнення кранівників знизити динамічні навантаження в канатах і металоконструкції
крану шляхом зупинки вантажу на малій висоті може призвести до зворотного ефекту,
тобто до їх збільшення на 6 - 21%. Така картина також має місце при проведенні
статичних випробувань мостових кранів, коли вантаж відповідно до норм
Держгірпромнагляду піднімається на висоту не більше 200 - 300 мм. При цьому
маса вантажу складає 1,25.Q і динамічні навантаження в канатах і
металоконструкції навіть на першій механічній характеристиці можуть перевищити
1,4.Q.
Таким
чином, для зниження динамічних навантажень доцільно здійснювати підйом вантажу
відразу на робочу висоту шляхом одноразового включення приводу на підйом (без
проміжних зупинок і повторних включень).
а)

б)

Рис. 4 - Графіки залежності динамічних коефіцієнтів kк і kм
від висоти, на яку піднімається вантаж на III-му і на IV-му етапах: а) - підйом
на 1-й механічній характеристиці, б) - підйом на 6-й механічній характеристиці
Литература
1. Аветисян С.М., Неженцев А.Б. Программное обеспечение для исследования переходных
процессов грузоподъемных кранов (часть 2: при работе механизмов подъема грузов //
Підйомно-транспортна
техніка, № 1(9). - Дніпропетровськ, 2004. – с. 83-95.