Кужелев И. А.
Магистрант Таразского
Государственного Университета имени М.Х. Дулати.
АНАЛИЗ СУЩЕСТВУЮЩИХ
КОНСТРУКЦИЙ ВОДОПРИЕМНЫХ УСТРОЙСТВ ДЛЯ ОСНОВНЫХ ГИДРОТЕХНИЧЕСКИХ СООРУЖЕНИЙ.
Аннотация.
Водоприемник – устройство, с помощью
которого осуществляется забор воды из водотока или водоема [1]. Сооружение
должно сохранять работоспособность при возникновении самых разных осложнений,
вызванных: снижением глубин воды или расходов воды у водоприемных отверстий;
транспортировкой потоком наносов, сора и т.п.; захватом загрязнений водотока
или водоема; переформированием русла или побережья водотока или водоема;
вдольбереговыми перемещениями наносов и др. Водоприемники на реках для
хозяйственно-питьевого и технического обеспечения размещают выше населенных
пунктов и промышленных предприятий в зоне, удовлетворяющей основным санитарным
условиям [2].
Благоприятными в гидрологическом и
топографическом смысле условиями для размещения водоприемника являются места,
расположенные на незатапливаемом берегу, к которому прижимается русло реки,
имеющее большую глубину. Для предотвращения заноса водоприемников отложениями
во время паводков их не следует сооружать возле примыкания с притоками или
оврагами. Во избежание размыва берегов, их укрепляют бетонными плитами или
вымащивают камнями.
Наша цель - провести подробный анализ
существующих водоприемных устройств для основных гидротехнических
сооружений.
1. Поверхностные водоприемники для насосной
станции. По способу забора воды
поверхностные водоприемные сооружения бывают:
— береговые, совмещенные с насосной станцией и отделенные от нее;
— с самовсасывающими и сифонными трубопроводами;
— ковшовые; — инфильтрационные; — передвижные или плавучие.
Наибольшее распространение получили водоприемники первых трех типов [3].
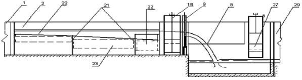
Береговые водоприемники сооружают на глубоководных реках со стойкими берегами. Водоприемники данного типа могут быть раздельными или совмещенными с насосными станциями. Раздельный береговой водоприемник состоит из двух отдельных сооружений: приемника и насосной станции. Оба сооружения соединены между собой проходной галереей, в которую монтированы всасывающие трубы. Конструкция водоприемника представляет собой пустотелую береговую опору с двумя отделениями: приемным и всасывающим. По длине водоприемник делится на две секции, работающие независимо одна от другой. Вода от источника поступает в приемное отделение колодца через размещенные в два ряда по высоте водоприемные отверстия, перекрытые снаружи грубыми решетками. В верхние отверстия вода поступает при высоком уровне (УВВ), а в нижние — при низком (УНВ). Насосные станции сооружают на достаточно большом расстоянии от приемника (Рис.1).

1
Рис. 1. Береговой водоприемник: А — водоприемник; Б — насосная станция.
1 — насосы с электромоторами; 2 — всасывающие трубы; 3 — напорный водопровод; 4 — приемное отделение; 5 — всасывающее отделение; 6 — окна с решетками; 7 — выступ; 8 — площадка; 9 — металлические выдвижные сетки: 10 — разделительные стенки: И — проходная галерея; 12 — вакуум-насос для удаления воздуха ив всасывающей трубы
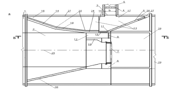
Береговой водоприемник совмещенного типа
сооружается тогда, когда геологическая структура речного берега своей
неравномерной осадкой не угрожает сооружениям приемника и насосной станции (Рис. 2). Обычно это делается тогда,
когда местные условия позволяют разместить насосную станцию рядом с
водоприемником. Совмещенный водоприемник компактный, удобный в эксплуатации и
требует гораздо меньших строительных затрат. Для автоматизации управления работы насосов их
устанавливают под заливом. В этом случае пол станции возводят на одной отметке
с водоприемником. При установке горизонтальных насосов схема сооружения выходит
громоздкой и дорогой, т.к. помещения насосной большие и их необходимо
значительно заглублять. Поэтому применение вертикальных станций
предпочтительнее горизонтальных. Разделительные стенки между водоприемным и
насосным отделениями делают водонепроницаемыми. Напорные трубы при выходе с
насосной станции прокладывают в галерее, где размещается арматура, водомеры,
обратные клапаны, задвижки и т.п. Благодаря этому размеры машинного отделения
насосной станции можно значительно уменьшить [4].

Рис. 2. Водоприемники
совмещенного типа: А — с незаливными насосами; Б — с насосами под заливам:
1 — насосы; 2 — всасывающие трубы; 3 — приемное отделение; 4 — всасывающее
отделение; 5 — окна с решетками; б — выступ; 7 — напорная труба; 8 —
перегородка.
Водоприемное сооружение для забора воды из
поверхностных источников, оборудованное в виде берегового водозабор может быть
использовано в тех системах водоснабжения, где обычно наблюдаются колебания
уровней воды в течение времени, например: в период паводков и межени. Данное
сооружение содержит водоприемную камеру с водоприемными окнами, всасывающую
камеру с насосами первого подъема. Водоприемное сооружение выполнено в виде
поплавка с воздушной камерой в нижней части водоприемного сооружения и крепится
к вертикальным направляющим опорам с помощью кольцевых муфт. Такое
оборудование берегового водоприемника дает возможность использовать всего один
ярус водоприемных отверстий при изменениях уровней воды в водоисточнике, что
повышает эксплуатационные качества водоприемного сооружения и позволяет
существенно уменьшить его размеры, уменьшается количество наносов, поступающих
в водоприемную камеру, вследствие чего повышается надежность работы
водоприемного сооружения. Недостаток этого устройства состоит в том, что оно не
может использоваться на водных объектах при изменении их состояния, в частности
при большой скорости течения. Для устранения этого недостатка необходимо
повысить эксплуатационные качества водоприемного сооружения.
Данная цель достигается за счет оборудования
берегового водоприемника водоприемной
2
камерой с водоприемными
окнами и всасывающей камеры с насосами первого подъема в виде поплавка. При
изменениях уровней воды на водном объекте, которые в период паводков и
половодья повышаются, а в период межени находятся на минимальных отметках,
водоприемная камера и всасывающая камера, работая как поплавок, вслед за
уровнем воды будет подниматься или опускаться, обеспечивая возможность забора
требуемого расхода воды вне зависимости от уровня воды в водоисточнике [5].

Рис.3. План водоприемного сооружения. Рис.4.
Поперечный разрез водоприемного
сооружения по
водоприемному окну по А-А
на фиг.1 при низких
уровнях воды в водном источнике.
2. Водоприемные устройства для малой ГЭС.
Водоприемники малых ГЭС, как правило, оборудуются аварийно-ремонтными затворами
и сороудерживающими решетками. Со стороны нижнего бьефа на выходах отсасывающих
труб предусматривают паз для ремонтного переносного заграждения. Наиболее
уязвимой частью гидротехнических сооружений малых ГЭС является водозаборное
сооружение. Среди его основных недостатков следующие: отсутствие средств
гидравлической автоматизации и измерения расходов воды, позволяющих повысить
надежность сооружений в различных режимах эксплуатации; низкие наносозащитные
характеристики; неприспособленность сооружений к зимнему режиму работы. Эти
недостатки приводят к тому, что не обеспечивается безопасный пропуск паводков
через сооружение; расход воды, забираемой в отвод, зависит от уровня воды в
верхнем бьефе водозаборного сооружения; в деривационный канал попадает большое
количество наносов; в зимний период возникают сложности с обледенением,
пропуском наносов и т.п. В связи с чем возникает необходимость
усовершенствования конструкции водозаборного сооружения, максимально
учитывавшая все перечисленные недостатки [6].

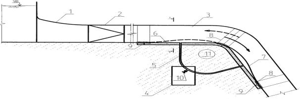
Рис. 5. Компоновочная схема
водозаборного сооружения для малой ГЭС:
1 - зарегулированное русло; 2 - подводящее русло; 3 - водоприемный
оголовок; 4 -стабилизатор расхода; 5 -
отводящий канал; 6 - подпорное сооружение; 7 - авторегулятор предельного уровня
верхнего бьефа; 8 - катастрофический водослив; 9 - сдвоенный затвор; 10 -
промежуточный бычок; 11 - разделительный бычок; 12 - промывной тракт; 13 -
водоприемная камера; 14 - наносоотбойный порог; 15 - поперечный уступ
водоприемной камеры; 16, 17 - повышенная и пониженная части водоприемной камеры;
18 - придонный затвор зимнего водозабора; 19 – внутренняя грань порога; 20 -
закладные части; 21 - вертикальные пазы;
3
22- телескопические шандоры; 23 - пазухи затвора; 24 - концевая секция; 25 - продольная ось сооружения; 26 - боковые устои сооружения; 27 -сдвоенный затвор водоприемника; 28 - водобойный колодец; 29 - отводящее русло.

Рассмотрим две усовершенствованные конструкции водозаборных сооружений:
Первая - водозаборное сооружение с
косонаправленным циркуляционным порогом, включающее в себя размещенный на
берегу отводящего русла водоприемный оголовок с регулятором отводящего канала,
водоприемную галерею с мусорозащитной решеткой, повышенную часть
наносозащитного порога и его пониженную часть с щитовым отверстием зимнего
водозабора, промывник, подпорное сооружение, состоящее из фронтального
автоматического водослива и щитового сброса, оборудованного датчиком управления
[7].
Вторая - водозаборное сооружение, включающее в конструкцию размещенный на берегу подводящего русла водоприемный оголовок, оборудованный стабилизатором расхода в голове отводящего канала; размещенное в русле подпорное сооружение в виде катастрофического водослива и запорного устройства, имеющего промывное отверстие с затвором; примыкающими к нему криволинейным порогом и разделительной стенкой, расположенными в подводящем русле; водоприемную камеру, расположенную перед водоприемным оголовком и ограниченную от русла криволинейным порогом.
3. Водоприемные устройства для
гидроаккумулирующие электростанции.
Гидроаккумулирующие электростанции работают в двух режимах — насосном и турбинном. Предлагаемое устройство может эффективно применяться в напорных водоводах гидроаккумулирующих электростанций, особенностью которых является реверсивное движение водного потока в связи с работой ГАЭС в турбинном и насосном режимах. Эффект от использования данного устройства состоит в следующем: обеспечивается упрощение эксплуатации из-за применения автоматического регулирования гидравлических сечений напорного водовода на участках, изменяющих направление движения водного потока; снижение потерь энергии потока в водоводе, вследствие чего повышение производительности участка, изменяющего направление движения водного потока, независимо от направления движения потока в турбинном или насосном режимах, а также исключения жестких потоконаправляющих элементов и увеличения надежности работы всей конструкции [8].
На рис.6 изображен поперечный разрез напорного водовода ГАЭС со следующими обозначениями: водоприемно-водовыпускной оголовок 1, переходной участок 2, колено напорного водовода 3, сухая смотровая потерна 4, соединительный водовод 5, опорная прокладка 6, потоконаправляющий элемент в виде эластичной оболочки 7, уплотнительная лента 8, шпилька 9, регулирующий патрубок с запорной арматурой 10, анкерная опора 11[ 8].
4

Вывод: В
результате проведенного анализа существующих водоприемных устройств для основных
гидротехнических сооружений мною были определены наиболее перспективные
конструкции водоприемников для основных видов гидротехнических сооружений.
Однако лучшими можно считать
водоприемные
устройства для малых ГЭС, поскольку малые ГЭС являются наиболее эффективным
направлением развития нетрадиционной энергетики. Это объясняется, с одной
стороны, значительным потенциалом водотоков при сравнительной простоте их
использования, а с другой – практическим исчерпанием гидроэнергетического
потенциала крупных рек. Между тем, постоянный рост цен на органическое топливо
приводит к значительному удорожанию электрической энергии. В последнее время
вопрос восстановления и сооружения новых малых ГЭС приобрел все большую актуальность
в связи с нехваткой электроэнергии для большинства городов и сельских
территорий. На этом фоне малая гидроэнергетика может вдохнуть новую жизнь в
энергетическую отрасль.
Список использованной
литературы:
1.
Образовский А. С. и др. Водозаборные сооружения для водоснабжения из поверхностных источников.
— М.: Стройиздат, 1976г.
2. Чудновский С.М., Степанов
А.И., Мезенцева Е.А. Водозаборные сооружения из поверхностных источников:
Учебное пособие – Ленинград: СЗПИ, 1989г.
3. Проектирование сооружений для забора
поверхностных вод. - М.: Стройиздат, 1990г.
4. Патент № 2254415,
действующий от 24.02.2004г, выданный Дальневосточный
научно-исследовательский институт гидротехники и мелиорации" (ФГУП
ДальНИИГиМ) на имя Головин В.Л.
5. Патент № 2364680, действующий от 20.06.2007г. и выданный Государственному образовательному учреждению высшего
профессионального образования "Российский государственный открытый
технический университет путей сообщения" (РГОТУПС) на имя Кузьминский Р.А.
6.
Забабурин И. А. Регулирование потоков у водозаборных сооружений (гидравлические и
гидрологические обоснования). — Харьков, Высшая школа, 1982г.
7. Карелин В.Я.,
Волшаник В.В. Сооружения и оборудования малых гидроэлектростанций. М., «Энергоатомизат» 1986 г.
8. Патент № 4447351/23-15, действующий от 30.12.1990г. и выданный Всесоюзному научно-исследовательскому
институту гидротехники им. Б.Е.Веденеева на имя Векслер
А.Б., Квасова И.Г. и Васильев Ю.Н.
5