ПОЛИМЕРЛІ ЕРІТІНДІЛЕРДІ ҚАБАТҚА АЙДАУ
НЕГІЗІНДЕ МҰНАЙБЕРГІШТІКТІ АРТТЫРУҒА ТАЛДАУ
Магистрант
6М070800-«Мұнай-газ ісі» Есен А.Б.
Ғылыми жетекшісі: м-ф.ғ.к, доцент Баймухаметов М.А.
Қ.И. Сәтбаев атындағы Қазақ
ұлттық техникалық зерттеу университеті,
Алматы, Қазақстан
Қабаттың мұнай бергіштігін арттырудың заманауи
перспективті тәсілдерін үш
категорияға бөлінеді:
1.
Қабатқа
химиялық ерітінділерді айдау;
2.
Мұнаймен араласқан
сұйықтық пен газдарды айдау;
3.
Жылу арқылы
қабатқа әсер ету.
Осы аталған перспективті үш категориялардың ішінде
экономикалық тұрғысынан расталған, яғни
дәлелденген келесідей алты технология бар:
1.
Судың мұнайды жуу
қасиетін арттыру;
2.
Беттік-активті заттарды (БАЗ),
сілтілерді қосу;
3.
Қабатқа
көмірқышқыл газын айдау;
4.
Қыздырылған бу беру;
5.
Қабаттық флюидтерді
еріту;
6.
Оларға полимер
ерітінділерін қосу.
Осы секілді, әртүрлі геолого-физикалық шарттарда
мұнайды толық шығарудың тәжірибелік
мәселелерін шешу, кендерге әсер етудің заманауи жаңа
әдістері мен технологиялық әсер ету әдістерін, сонымен
қатар процесстердің заманауи теоретикалық әдістерін
және екі фазалы фильтрацияның гидродинамикалық моделін
және мұнайды сумен, газбен және белсенді қоспа
ерітінділерін шығару әдістерін білуді талап етеді.
Мұнайбергіштік - бұл, қабаттан өндірілген
мұнай көлемінің қабаттағы бастапқы
мұнай көлеміне қатынасы.
Көмірсутегі кендерін пайдалану кезінде геологиялық және
технологиялық факторлар әсер етеді.
Қабаттың мұнайбергіштігін арттырудың ең
тиімді тәсілін қолданудың маңызды шарттары,
тәсілді қолдану үшін кешенді дұрыс таңдау немесе
керісінше кешен үшін тәсілді дұрыс таңдау болып
табылады.
Негізінде тәсілдерді қолдану критерилері үш
категорияға бөлінеді:
1.Геолого-физикалық (қабат
сұйықтықтарының қасиеттері, жатыс
тереңдіктері және мұнайға қаныққан
қабат қалыңдығы), параметрлер және мұнайлы
коллекторлардың ерекшеліктері (кеуекті кеңістіктің
қабат сұйықтықтарына қанықтылығы,
жатыс шарттары) және т.б;
2.Технологиялық (жиектеу өлшемі, ерітіндідегі агент
концентрациясы, ұңғымалардың орналасуы, айдау
қысымы және т.б.);
3.Материалды-техникалық (жабдықпен, химиялық
реагенттермен және олардың қасиеттерімен және т.б.
қамтамасыздандырылуы);
Мұнайға қаныққан
қабаттан мұнайды алу үшін мұнайбергіштікті арттыратын
тәсілдерді қолданған жөн, себебі бұл
тәсілдер суландырылған және сонымен қатар нашар
өткізгіш қабаттардағы шашыраңқы немесе
бытыраңқы мұнайларға тиімді әсер ету керек.
Қабаттың мұнайға
қаныққан аймақтарындағы
өткізгіштіктің, судың, мұнайдың және
газдың әртүрлі болғандығынан олардың
барлығына әмбебап бір тәсілді қолдану мүмкін
болмайды.
Қабаттың мұнайбергіштігін
арттырудың белгілі тәсілдері бағыттылық, кумулятивті
іс-әрекеттік сипатта болады, олардың әрқайсысы
қадық мұнайға қанықтылыққа алып
баратын бір немесе екі себеп тудырады.
Қабаттың мұнайбергіштігін
арттырудың барлық тәсілдерінің негізі су айдау
тәсілі болып табылады, яғни су – химиялық өнімдер, газ,
ауа, жылу тасығыштар және еріткіштер қосылатын барлық
жұмысшы агенттердің негізгі компоненті болып табылады.
Егер де қабаттың геологиялық
құрамына баса назар аударатын болсақ, онда су айдау
тәсілі арқылы қабаттың мұнай бергіштігін арттыру
ықтималдылығы жоғары болып келеді.
Суға активті агенттерді (БӘЗ,
полимерлер, сілтілер, көміртегінің қос тотығы,
көмірқышқыл газы, мицеллярлы ерітінділер) қоссақ, онда су айдау
тәсілі арқылы қабаттағы қалдық
мұнайларды ығыстырып шығару мүмкіндігі
анағұрлым жоғарылайды.
Бұл тәсілдердің барлығы
қабаттың мұнайбергіштігін арттырудың түрлі
мүмкіндіктерімен сипатталады, яғни
1.5-2 %-дан 25-35 %-ға дейінгі баланстық қорымен.
Қабаттың суланған
бөліктеріндегі қалдық мұнайларды тиімді түрде
тек мицеллярлы ерітінділер мен
көмірқышқыл газдары ғана ығыстырып шығара
алады, олар ығыстырушы агенттердің мұнаймен араласуын
қамтамасыз етеді, яғни мұнайды ұстап тұратын
капиллярлы күштердің әсерін реттейді (1-кесте).
1- кесте -
Қабаттың мұнайбергіштігін арттырудың потенциалды
мүмкіндіктері мен критикалық факторлары
|
Жұмысшы
агент |
Мұнайбергіштікті
арттыру, % |
Жұмысшы
агентін қолданудағы критикалық фактор |
|
Су+газ |
5-10 |
Өнімділіктің
төмендеуі |
|
Полимерлер |
5-8 |
Қабаттың
және судың тұздылығы, өнімділіктің
төмендеуі |
|
Сілтілер |
2-8 |
Мұнай
белсенділігі |
|
Мицеллярлы
ерітінділер |
8-20 |
Қабаттың
және судың тұздылығы, өнімділіктің
төмендеуі |
|
Көміртегінің
қос тотығы |
8-15 |
Коррозия мен
оқшаулауды төмендету |
|
Бу |
15-35 |
Жылу
жоғалту, аз тереңдік, құмды шығару,
техникалық мәселелер |
|
Ауа+су (жану) |
15-30 |
Жанумен
оқшаулау, техникалық мәселелер, қоршаған ортаны
қорғау |
Суландыру арқылы
біртексіз-қабаттық және аймақтық-біртексіз
қабаттық аудандарды оқшаулау тек қана судың
қозғалысын және ағынның біртексіздігін
төмендететін полимерлі ерітінділер, көмірқышқыл
газдары, су-газыд қоспалар, циклдік әрекеттер, сілтілер
көмегімен іске асыруға болады.
Тұтқырлығы жоғары
қабаттардағы мұнайларды ығыстыру үшін бу айдау
және қабатты ішінен жағу әдістерін қолдану су
айдау тәсіліне қарағанда анағұрлым тиімді болып
келеді.
Суда ерігіш БАЗ-тар және күкірт
қышқылы ұңғымадағы игеріліп жатқан
қабат қалыңдықтарының жоғарылауының
есебінен қабаттың мұнайбергіштігін арттырумен
қамтамасыз етеді.
Тұтқырлығы аз және
суландыру тәсілі арқылы пайдаланылатын мұнай кен орындарына
анағұрлым тиімді әдістер төмендегідей:
1.Көміртегінің қос тотығы
2.Су-газды қоспа
3.Мицеллярлы ерітінді, ал мұнайының
тұтқырлығы жоғары кен орындар үшін:
- бу
- қабатты ішінен жағу.
Қалған тәсілдердің
барлығы көбінесе мұнайды игеруді интенсифтендіру және
пайланану процесін реттеу үшін қолданылады.
Полимерлердің
негізгі және ең қарапайым қасиеттері судың
қоюлануында жатыр. Олар ерітінді құрамында 0,01-0,1 % болса
онда оның тұтқырлығы 3-4 мПа-с дейін жоғарылайды.
Бұл дегеніміз соған сәйкес мұнай мен судың тұтқырлығын
төмендетеді, сонымен қатар өткізгіштігі бойынша қабат
біртектілігімен және ондағы сұйықтықтың
тұтқырлығымен байланысты сулардың келуін
тоқтатады. Кеуекті ортада полимер ерітінділерін сүзгілеу процесі
кезінде олар көзге көрінетін тұтқырлықты
құрайды, вискозиметрмен өлшеген кезде олардың
тұтқырлығы тіпті 10-20 есе жоғары. Сол себепті де,
полимерлі ерітінділерді рационалды түрде біртексіз қабатта
қолданады, сонымен қатар мұанйдың
тұтқырлығы жоғары болған кезде оларды кеуекті
ортадан мұнайды ығыстырып шығару үшін қолданады.
Полимерлерді
қолданудың ғылыми және технологиялық негіздері
көптеген авторлардың еңбектерінде кездеседі.
Су еріткіш полимерлерді
қолданудың тиімділігі өнімді қабаттың
геолого-физикалық сипаттарына және ерінтінділерді айдау кезіндегі
технологиялық шешімдердің тиімділіктеріне, сонымен қатар
полимер қасиеттерінен және басқа да қабатқа айдау
үрдістеріне байланысты. Қабаттық шартта полимер
қасиеттеріне температура, қабаттық сулардың
құрамы, кернеу, бактериалық әсерлерге әсерін
тигізеді және олар айдалып жатқан ерітіндінің игеру
қасиетін нашарлатады.
Қазіргі
таңда полимерлерді қолдана отырып қабаттың
мұнайбергіштігін арттырудың келесідей негізгі технологиялары
игерілген жақсы қолданысқа ие:
1.
Полимер ерітіндісін жеке-жеке айдау (полимерлі суландыру);
2.
«Жапсырылған» полимерлерді қолдана отырып қабатқа
әсер ету;
3.
Тұтқырлы созылмалы құрамдармен (ТСҚ) бірге
полимерлі суландыру;
4.
Қабаттың түп маңы аймағына ТСҚ-мен
әсер ету;
5. Басқа да
физико-химиялық тәсілдермен бірге полимерлі суландыру.
Полимерлі
ерітіндіні бастапқы айдаудың үш шартты уақыты бар:
1. Кен орынды
пайдаланудың бастапқы кезінен бастап;
2. Ұңғыма
өнімінің 95-100 % сулануы кезіндегі кен орынды пайдаланудың
соңғы кезеңінде;
3.Сусыз дебит тоқтатылғаннан
кейінгі пайдаланудың аралық кезеңінде.
Полимер
ерітінділерін айдау түрлі мұнай-газды аудандарда орналасқан
кешендерде жүргізілді. Қабаттар терригенді және карбонатты
коллекторлардан тұрды, олар өткізгіштігі бойынша (0,075 - 0,96 мкм2),
мұнай тұтқырлығы және қабаттық
шарттары бойынша (2,1 - 36,0 мПа-с),
қабаттық температурасы (24 - 68 °С) бойынша ерекшеленеді.
Полимерлік суландыру кен орынды
игерудің түрлі кезеңдерінде қолданылды.
Анағұрлым ірі кешендердегі полимерлердің кәсіпшілік
қолданыстарының нәтижелері 6-кестеде келтірілген.
Егер
қабат температурасы 70 °С градустан асса онда, полимер молекулалары
бұзылады және оларды қабаттың мұнайбергіштік
қасиетін арттыруға қолдануға жарамай қалады,
яғни тиімділік дәрежесі азаяды. Қабаттың
өткізгіштік коэффициенті 0,1 мкм2-ден төмен кезде
полимерлі суландыру жүйесін қолдану өте қиын, себебі
ерітінді молекулаларының көлемі кеуек көлемінен
жоғарылап кетеді және забой маңы аймағында оның
кульмитациясы немесе полимер молекулаларының мехникалық
бұзылымдары пайда болады.
Егер де
қабат сулары аса тұзды болып кетсе және құрамында
кальций және магний тұздары болса, полимерлерге арналған сулы
ерітінділер беріктік қасиеттерін жоғалтады, олардың
құрылымдары бұзылады және сулардың қоюлану
тиімділіктері жоғалады, ал биологиялық түзілімдермен пайда
болатын анағұрлым берік полимерлер алу өзекті
мәселелердің бірі.
Полимерлер
негізінен өте аз және қымбат өнім болып келеді,
яғни оларға қол жеткізу оңай шару емес. Сол себепті де,
қабаттың мұнайбергіштік қасиетін арттыру үшін
басқа көптеген арзан және оңай табылатын химиялық
өнімдерді қолданған жөн.
Полимерлі ерітінділер
кеуектермен салыстырғанда көлемі 40-50 % құрайтын
жиектер түрінде қолданылады. Жиектер көлемі, ерітінді
концентрациясы және полимер түрі қабаттың
біртексіздігіне және қабат суының тұздылық
құрамына қарамастан таңдалуы қажет.
Қабаттық тұзды сумен полимер ерітінділерін араластыру кезінде
ерітінді құрылымының бұзылымы және
тұтқырлықтың төмендеуі байқалады.
Полимер ерітінділерін айдау
қысымы су айдау кезіндегі қысымнан жоғары. Егер де
айдаудың қажетті қысымдарымен қамтамасыз етілсе
полимерлі суландыру әдісіне арналған
ұңғымалардың орналасу жүйелері суланыру жүйесіндегідей
болып қалады. Полимерлі суландыру үшін
ұңғымалардың берік торларын қолданған
дұрыс, олар тек қана ішкі контурлы жағдайларда ғана
қолданылады.
Барлық
жүргізілген жұмыстарды ескере отырып жалпы полимерлі ерітінділерді
қолдана отырып қабаттың мұнайбергіштік қасиетін
арттыруға болатынына көз жеткіздік, яғни орташа есеппен 200-300
тонна мұнай шығаруға 1 тонна полимер керек екенін
көруге болады (1-сурет).

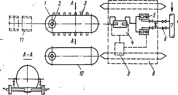
1- полимерлі
ерітіндіге арналған сыйымдылық; 2- жүктеме люгі; 3- электр
қыздырғыш; 4- блокты мөлшерлеуші
қондырғылардағы электр қыздырғыштар;
5-мөлшерлеуші сораптар; 6-ілмекті-реттеуші арматура; 7-КНС(БКНС)-тан
арынды коллектор; 8-блогты қондырғының түп негізі;
9-басқару станциясы; 10-сақталған қордың
сыйымдылығы; 11-полимерлі ерітінділерді шығарып жіберуге
арналған эстакада.
1-сурет - Полимерлі ерітіндіні айдауға дайындауға
арналған технологиялық сұлба
Дәл
осы технология бойынша полимерлі ерітінді қабаттың
мұнайға қаныққан бөлігіндегі кеуекті
кеңістікке 1-1,1 көлемінде үздіксіз айдалады. БашНИПИ
мұнай институтының ұсынысы бойынша ПАА-ны қолдану
кезінде айдалып жатқан заттың бірінші бөлігі (кеуек
көлемінен 0,2 %) 0,1 %-ды болуы
керек, одан ары реагенттің мөлшері
0,05 пайыз болуы қажет.
Әдебиеттер.
1.
Желтов Ю.П.
Разработка нефтяных месторождений. М.: Недра, 1986ж.
2.
Щелкачев В.Н., Лапук Б.Б. Подземная гидравлика.
М.:Недра, 2001ж.
3.
Алмаев Р. X.
Исследование эффективности нефтеизвлечения вязко-упругими растворами полимеров
и ПАВ//ВИНИТИ/Депонированные научные работы.- 1992.- № 8.- С. 61.
4.
Березин Г. В., Горбунов А. Т., Швецов И. А.
Основы полимерно-щелочного воздействия для увеличения нефте-извлечения//Нефтяное
хозяйство.- 1990.- № 7.- С. 27-29.
5.
Алмаев Р.X.,
Рахимкулов И.Ф. Основы полимерного
воздействия на пласт чередующейся закачкой растворов. М.: ВНИИОЭНГ, 1992.-
Нефтепромысловое дело.- № 8.- С. 22-26.
6.
Голубева П.А., Алмаев Р.X., Зельдина
С.3.Стабилизация полиакриламида в агрессивных средах.- М.: "Нефть и
газ", 1992.- С. 45-52.
7.
Газизов А.А.
Увеличение нефтеотдачи неоднородных пластов на поздней стадии разработки. – М.:
ООО «Недра-Бизнесцентр», 2002, 639 с.
8.
Ибрагимов
Г.З. и др. Применение химических реагентов для интенсификации добычи нефти. М.
Недра, 1991г.
9.
Ибрагимов
Г.З. и др. Применение химических реагентов для интенсификации добычи нефти. М.
Недра, 1991г.