Демченко О. Н., Коробова
А. Б., Иващенко М. А.
Омский
государственный институт сервиса, Россия
Автоматизированное проектирование комплекта одежды с
использованием компьютерной программы
В настоящее время разработано большое количество
автоматизированных систем для проектирования швейных изделий. Тем не менее, в
легкой промышленности не встречаются проектирующие системы, которые тесно
взаимодействуют с методами комбинаторики и трансформации, и предлагают
разработку изделий из простых элементов, исключая необходимость создавать
сложные конструктивные формы. Поэтому, разработанное программное обеспечение по
проектированию подростковой одежды из комбинаторных геометрических элементов
актуально на сегодняшний день [1].
Важной частью в разработке автоматизированных
систем является создание алгоритма, отражающего последовательность действий,
которые совершает специалист-конструктор одежды при создании гардероба с
помощью программного средства. Такая последовательность представлена в виде
блок-схемы с поэтапной структурой.
При формировании гардероба из комбинаторных
геометрических элементов [1] переход работы конструктора от ручного
проектирования одежды к автоматизированному проходит ряд этапов, которые
отражены в таблице 1:
Таблица 1. – Основные этапы перехода к автоматизированному
проектированию гардероба
|
№ |
Наименование этапа |
Краткое описание |
|
1 |
2 |
3 |
|
1. |
Формализация
исходных данных для проектирования |
-
математическое описание методов комбинаторики и трансформации; -
установление параметров простых геометрических элементов и их преобразование
в конструкции с учетом требуемых форм будущих изделий; -
распределение по группам готовых унифицированных деталей/ элементов простых
геометрических форм, которые используются в конструкциях. |
|
2. |
Формализация
основных узлов, соединений и параметров |
-
определение взаимосвязи элементов/ деталей с горизонтальными и вертикальными
линиями базовых конструкций; -
проектный анализ, направленный на установление соответствия размеров стыковых
линий элементов. |
|
3. |
Создание
баз данных |
-
группировка формализованной информации в программном комплексе в соответствии
с последовательностью проектирования гардероба. |
|
4. |
Разработка
алгоритма проектирования гардероба на базе программного средства |
-
разделение процесса/крупной части процесса проектирования на более мелкие
этапы; -
определение последовательности действий, формализованной с помощью блок-схемы. |
Для выявления необходимой информации и формы ее
представления в базе данных анализируются основные этапы проектирования и
учитываются требования к изготовлению подросткового гардероба, на основании
которых выявляются данные для последующего структурирования. Формализованная
информация включает базу данных, которая представлена в форме логически
упорядоченных взаимосвязей ее элементов – таблиц, включающих эскизы, ID
изделий, комбинаторных геометрических элементов, их коды по классификатору и
некоторые другие значения.
Эффективная работа программы проектирования
подросткового гардероба зависит от корректного представления информации в БД, а
также от создания универсального для всех гардеробов алгоритма проектирования.
Последовательность, представленная в блок-схеме,
описывает пошаговое интерактивное взаимодействие специалиста с программой, в
результате которого заказчик получает готовый гардероб с рекомендациями по сборке
комплекта комбинаторных элементов и эксплуатации гардероба.
Описание блок-схемы:
1. В первую очередь в программе необходимо
задать число изделий – m (m > 0, m – целое число), для
гардероба. В соответствии с требуемым количеством создаются базисные сетки
будущих изделий. Блок-схема предусматривает возможность корректировки
количества изделий путем добавления новых сеток (рис. 1):

Рис. 1. Блок-схема последовательности
проектирования подросткового гардероба в компьютерной программе в части
формирования базисных сеток
Количество базисных сеток – k, должно быть не меньше,
чем количество самих изделий (k
≥ m,
k, m > 0, k, m – целые числа), с учетом
того, что каждое изделие может иметь больше одной сетки, например, рукава для
платья или блузы имеют отдельную базисную сетку (рис. 2):

Рис. 2. Окно программы для добавления
сеток изделий
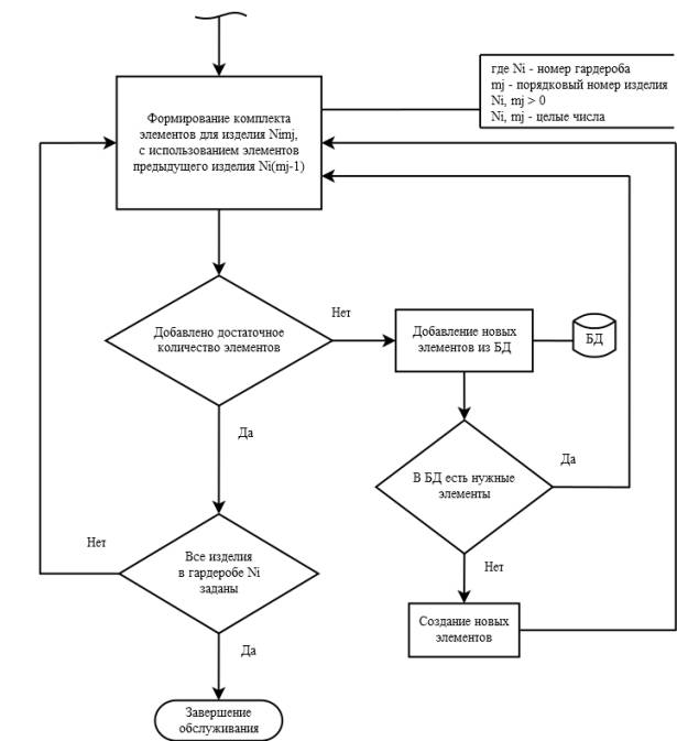
2. После формирования достаточного количества
базисных сеток осуществляется переход к комплектации гардероба элементами последовательно
для каждого изделия. При этом для проектирования каждого последующего изделия
используются элементы предыдущего с возможным добавлением новых элементов.
Данная последовательность повторяется до того
момента, пока гардероб не будет укомплектован достаточным количеством элементов
для установленного числа изделий, то есть, пока число комплектов n геометрических элементов
не будет равно числу изделий m
в гардеробе
Ni (рис. 3, 4).
Помимо возможности создания геометрических
элементов, необходимых для разработки гардероба, программа содержит готовые
комбинаторные геометрические элементы, которые могут быть использованы для
проектирования, а также 12 базовых элементов, геометрическая форма которых
используются для создания всех остальных [1].

Рис. 3. Блок-схема последовательности
проектирования подросткового гардероба в компьютерной программе в части
формирования комплектов элементов

Рис. 4. Окно программы для формирования
комплектов элементов
3. После того как весь гардероб проработан, и
для каждого изделия составлен комплект геометрических элементов, конструктор
разрабатывает технологические узлы и соединения элементов, а также рекомендации
по сборке и эксплуатации готового комплекта комбинаторных элементов.
Алгоритм перебора элементов реализуется в
проектирующей автоматизированной системе, на выходе которой представлен
наиболее оптимальный комплект комбинаторных геометрических элементов, имеющих
конкретные форму и размеры, составляющих изделия гардероба [1].
Литература:
1. Демченко, О. Н.
Использование математических методов комбинаторики и частичного порядка в
автоматизированном проектировании подросткового гардероба / Демченко О. Н.,
Коробова А. Б. // Актуальные проблемы современной науки. - 2012. - № 2. - С.
177-181.