К.т.н. Боканова А.А.
Казахский национальный
технический университет им.К.И.Сатпаева
Республика Казахстан
РАЗРАБОТКА
НОВЫХ ПРОЦЕССОВ И АППАРАТОВ ДЛЯ ОЧИСТКИ СТОЧНЫХ ВОД
До приобретения независимости
развитие экономики Республики шло экстенсивным путем без учета собственных
потребностей и воздействия на окружающую среду. Богатство недр привело к
бурному развитию добывающей промышленности. Активно расширялись старые и
строились новые города, обширные пастбища и плодородные земли способствовали
развитию животноводства и освоению целинных земель. Интенсивное и не рациональное
развитие орошаемого земледелия в
бассейне рек Амурдарьи и Сырдарьи
привело к деградации природной среды в
Приаралье. С подъемом Каспия и
затопления ряда нефтяных месторождений
резко обострились экологическая обстановка в Прикаспийском регионе. Под угрозой
исчезновения находятся богатейшие запасы промысловых осетровых.
Казахстан обладает
огромным потенциалом природных ресурсов. Установленные запасы нефти, угля,
черных руд, цветных металлов, фосфоритов могут обеспечить долговременные
потребности республики [1]. Недра Казахстана от общих запасов стран СНГ
содержат: до 60% вольфрама, 50% свинца, 40% цинка и меди, 30% бокситов, 25%
фосфоритов, 15% железной руды, свыше 10% угля, 90% хромитов. Казахстану
принадлежит одно из ведущих мест в мире по запасам нефти и газа. По данным
исследований, запасы Северного шельфа Каспийского моря составляют 3,0-3,5 млрд
т нефти и 22,5 трлн м3 газа. Интенсивное
развитие нефтедобывающего сектора привело к загрязнению окружающей среды,
водных ресурсов в том числе. Очистка воды является одной из приоритетных задач
в нашей республике. Для достижения этой цели проводится много исследований и
разработок. Среди многих способов озонная очистка воды занимает не последнее
место. Существуют различные озонаторы, в
том числе разработанные при непосредственном участии автора, о чем ранее
публиковалось [2].
Предлагаемое устройство отличается от известных тем, что обеспечивает ведение процессов очистки и обеззараживания водной среды
озоном в оптимальном режиме, то есть в этом случае процессы образования озона и
взаимодействия его с обрабатываемой средой объединены и протекают одновременно
в рабочей зоне водоструйного насоса. При этом эффективность применения озона
существенно повышается из-за отсутствия действия по доставке и транспортировке
озона к рабочему месту.
При
образовании озона в озонаторах в качестве кислородсодержащего газа чаще всего
используется атмосферный воздух, который в большинстве случаев имеет
атмосферное давление [3]. В некоторых
случаях имеет место снижение давления газа ниже атмосферного, что связано с
высокими скоростями потока газа, протекающего через озонатор. Между тем, ввиду
малости снижения давления газа оно не влияет заметным образом на эффективность
выхода озона. Во всех этих случаях при атмосферном давлении воздуха, для
возникновения и поддержания электрического разряда (барьерный, коронный и др.)
требуется высокое напряжение питания. Если учесть, что удельные энергозатраты
озонирующего элемента определяются количеством выработанного озона (г) на
единицу затрачиваемой электроэнергии (
), то очевидна необходимость уменьшения значений питающего
напряжения при тех же токах разряда. Снижение удельных энергозатрат необходимо
также при многозвенных и многомодульных соединениях озонирующих ячеек с целью
повышения общей производительности озонатора.
Для
снижения удельных энергозатрат при получении озона в предлагаемом способе
используется известная зависимость вольтамперных характеристик коронного
разряда от давления воздуха в разрядной зоне. Установлено, что со снижением
давления воздуха в разрядном промежутке также снижается величина напряжения
питания при поддерживании постоянным значения силы тока коронного разряда [4].
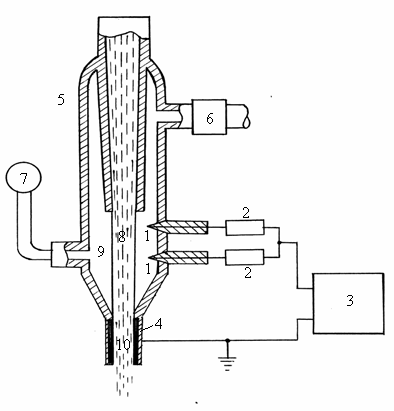
На рис. 1 представлена функциональная схема устройства для получения озона.
Устройство содержит коронирующие электроды 1, балластные сопротивления 2,
источник питания 3, контактное кольцо 4, водоструйный насос 5 с вентилем 6 для
регулировки поступления воздуха и с измерителем давления 7. Кроме того,
водоструйный насос 5 имеет струю воды 8, зону образования озона 9 и зону
взаимодействия озона с обрабатываемой средой 10 [5]. Устройство работает следующим образом. Вода
вытекает с повышенной скоростью из узкой трубки и создает сужающуюся струю воды
8 в свободном пространстве водоструйного насоса. Струя воздуха 8, входя в узкое
горлышко 10 корпуса насоса захватывая с собой воздух, оказывает всасывающее
действие, что, в конечном итоге, обеспечивает отсасывание воздуха из свободного
пространства насоса, понижая в нем давление. При подаче достаточно высокого
напряжения (обычно отрицательной полярности) от источника питания 3 через
балластные сопротивления 2 на коронирующие электроды 1 между ними и струей воды
возникает коронный разряд, и в зоне 9 начинается процесс образования озона.
Озон вместе с другими молекулами воздуха струей воды увлекается вниз в сторону
узкого горлышка корпуса насоса, где в зоне 10 взаимодействует с обрабатываемой
средой. Внешним электродом коронного разряда служит поверхность водной струи 8,
которая контактирует с металлическим кольцом 4, расположенным в узком горлышке
10 корпуса насоса и электрически соединенного со вторым полюсом источника
питания 3, причем при этом предполагается достаточность электропроводности
водной среды струи. Необходимая величина пониженного давления воздуха в рабочей
зоне устанавливается с помощью вентиля 6 по показанию измерителя давления 7.

Рис.1. Устройство для получения озона
Основные разрядные процессы при коронирующей игле и
при коронирующей микропроволоке принципиально не отличаются и разнятся они только
по мощности разряда. В связи с этим для исследования влияния давления воздуха
на характеристики коронного разряда использована цилиндрическая система
электродов, которая представляет собой устройство для получения озона в
коронном разряде. На рис. 2 приведены зависимости напряжения коронного разряда
от давления атмосферного воздуха для случая концентрических цилиндров
диаметрами 50 микрон и 10 мм соответственно. Как видно из рисунка эти
зависимости измерены при постоянстве значений силы тока в диапазоне от 100 мм
рт. ст. до 680 мм рт. ст. изменения давления. Полученные данные, снятые
озонометром типа ЛЭК разработки Санкт-Петербургского технического университета
позволяют определить удельную производительность озонирующей ячейки на коронном
разряде, что составило порядка 1 г озона в час при силе тока разряда 5 мА.
На
рис. 2 приведены зависимость напряжений (U) от давления воздуха (Р) для
различных постоянных значений тока разряда (I),
измеренных при давлениях, начиная от 100 мм рт. ст. вплоть до атмосферного
давления в 680 мм рт. ст. (в условиях Алматы). Из этих данных следует, что при
постоянстве значений I (мкА) и в случае снижения Р (мм рт. ст.)
оказывается, что насколько снижается величина U (кВ),
настолько повышается удельный энергетический выход озона (г/
).
В
соответствии с законами состояний идеального газа снижение давления воздуха
также уменьшает концентрацию молекул кислорода в единице объема, что может
привести к снижению образования озона в разрядном промежутке. Между тем,
снижение Р приводит также к обратному эффекту: усилению ионизационных процессов
из-за удлинения длины свободного пробега электронов и поэтому, повышению их
энергии. Таким образом, снижение Р не может существенным образом оказать
влияние на степень выхода озона, так как при снижении Р постоянство значений I обеспечивается необходимой
плотностью потока зарядов, состоящих, в основном, из ионов кислорода и озона.

Рис.2. Вольтамперные характеристики озонатора
Следующим этапом было – разработать
устройство для озонной обработки жидкости, позволяющее обеспечить стабильность
и высокую производительность образования озона и эффективность его
взаимодействия с обрабатываемой жидкостью независимо от ее электропроводности и
состава. В новой разработке коронирующая игла и внешний электрод, выполненный в
виде сетки, объединенные в озонирующий элемент, расположены на крышке корпуса,
причем озонирующий элемент снабжен фильтром для очистки воздуха. Здесь также
используется эффект «пониженного давления» воздуха в зоне образования озона,
что обеспечивается работой водоструйного насоса.
Изменение в устройстве
некоторым образом ведет к снижению удельных энергозатрат при получении озона.
Устройство содержит коронирующие электроды в виде игл, внешние электроды в виде
сеток, фильтры для очистки воздуха, балластные сопротивления, источник питания
и водоструйный насос.
Литература:
1.
Обревко Л.А. Окружающая среда и здоровье населения в
экологически неблагоприятных регионах Республики. Аналитический обзор. –Алматы:
КазгосИНТИ, 2005. –72 с.
2.
Боканова А.А. и др. Повышение эффективности очистки питьевых
и сточных вод. Мат. 1 Межд. науч.-практ.конф. Становление современной науки
–2006. –Днепропетровск, 2006. Т. 9. –С. 3-5.
3.
Бахтаев Ш.А. и др. Озонаторы на коронном разряде: Аналит.
обзор. – Алматы: КазгосИНТИ, 1998, 32 с.
4.
Бахтаев Ш.А. Коронный разряд на микропроводах. Алма-Ата,
Наука, 1984, 208 с.
5.
Боканова А.А. и др. Способ
получения озона и устройство для его осуществления. Патент РК. № 12180. Бюлл.№7
от 15.07.07. –7 с.