Технологии подготовки воды для заводнения залежей нефти
Акрамов Б.Ш., Хайитов О.Г., Умедов Ш.Х., Нуриддинов Ж.Ф.
Среди методов искусственного воздействия на пласт наибольшее
распространение получили гидрогазодинамические методы, связанные с с управлением
величиной пластового давления путем закачки в залежь различных флюидов. Сегодня
в мире в большинстве случаев используется система поддержания пластового
давления (ПДД) путем закачки воды.
Для закачки воды в
нагнетательные скважины используются открытые водаемы (озера, реки, моря),
грунтовые и подрусловые воды, глубинные воды, а также сточные, промысловые и
ливневые воды.
Система водоснабжения и объем добываемой воды зависят от источника и
стадии разработки месторождения. Если система ПДД применяется с самого начала
разработки месторождения, то объемы добываемой воды не велики и примерно равны
объему добываемой нефти, приведенному к пластовым условиям (в предположении,
что добывается безводная нефть). При обводнении продукции скважин появляется
попутная вода, которая реализуется для закачки в пласт, а потребность в воде из
внешних источников водоснабжения снижается. Это предопределяет определенную
гибкость системы на различных этапах разработки месторождений с возможностью
полной утилизации промысловых сточных вод, что диктуется экологическими
требованиями.
Важным вопросом при любой системе водоснабжения является подготовка воды
до требуемых кондиций, при этом сточные воды требуют специальной очистки от
нефти. Естественно, это делает систему более сложной и дорогой.
Большое значение при закачке вод имеет их совместимость с пластовой
водой, в противном случае в пласте могут образоваться и выподать в осадок
труднорастворимые соли. Общие требования к закачиваемой воде следующие:
1.
Она должна быть по возможности чистой и не
содержать больших количеств механических примесей, соединений железа и нефти.
Например, для трещиноватых песчаников предельное содержание механических
примесей 20-30 мг/л, содержание закисного железа до 1 мг/л, нефти до 50 мг/л;
2.
Вода не должна содержать сероводорода и углекислоты
во избежании коррозии оборудования;
3.
Не должна содержать органических примесей
(бактерий, водорослей и т.п.);
4.
Должна быть химически инертной по отношению к
пластовым жидкостям, т.е. химически совместима с пластовой водой.
Практика показывает,
что вышеперечисленным требованиям в большинстве случаев удовлетворяют воды
закрытых источников: подрусловые, артезианские воды или воды глубинных
водоносных горизонтов. Вода, используемая из открытых водоемов, на водоочистной
установке подвергается следующим операциям:
1.
Коагуляция – укрупнение мельчайших взвешенных в
воде частиц добавлением в воду глинозема (сернокислого алюминия
или железного купороса (
), в результате чего взвешенные частицы осаждаются в виде хлопьев;
2.
Фильтрация – очистка воды от взвешенных частиц
после коагуляции в песчаных фильтрах;
3.
Обезжелезивание – удаление из воды закисей или
окисей железа;
4.
Умягчение – подщелачивание гашеной известью с целью
доведения pH воды до 7-8, что
приводит к интенсивной коагуляции;
5.
Хлорирование – угнетение бактерий и
микроорганизмов;
6.
Стабилизация – придание воде стабильности
химического состава.
Параметрами качества воды для закачки в пласт являются: количество
механических взвешинных частиц; нефти и нефтепродуктов; железа и его
соединений, которые при окислении выподают в виде нерастворимого осадка;
сероводорода, существенно повышающего коррозионную активность воды; бактерий и
микроорганизмов. Осубую роль играет солевой состав воды.
Закачивыемые воды обычно бывают загрязнены взвешенными частицами глины,
ила, песка, которые закупоривают поры пород призабойной зоны и уменьшают
приемистость нагнетатильной скважины. Для осаждения мельчайших частиц
необходимо их укрупнять, выделять в осадок. Реагенты, добавляемые к воде для
коагуляции взвеси (укрупнения взвешинных частиц), называеются коагулянтами.
Наиболее широко применяемый на практике коагулянт – сернокислый алюминий
(сернокислый глинозем).
Техническая вода,
использующаяся в различных районах для промышленных целей содержит различные
соли одно- двух- и трехвалентных металлов. Однако, минерализация подавляющего
большинства типов технических вод обусловлена наличием в них следующих
соединений: NaCl, KCl, CaCl2, MgCl2, CaSO4, MgSO4.
Для подготовки воды,
закачиваемый в пласт нами предложено
установка предназначенная для обработки минерализованной воды с
содержанием растворенных солей натрия, калия, кальция, магния, железа и др. до
50г/л. В результате обработки происходит устранение жесткости воды за счет
перевода солей двух и более валентных металлов в нерастворимый осадок. Соли
одновалентных металлов (натрия, калия) в процессе обработки превращаются в
соответствующие основания.
Принцип работы установки заключается в следующем:



Установка УЭВ (рис.1) состоит из источника питания - 1, шкафа управления
- 2, насоса - 3, рабочей - 4 и осадительной - 5 емкостей, смонтированной на
общей раме - 6. В рабочей емкости 4 размещены электродные блоки - 7, а
осадительная емкость - 5 имеет перегородку - 8, которая образует полость - 9.
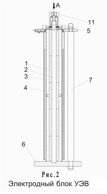
На рис,2 и 3 показан электродный блок электроактиватора в разрезе.
Электродный блок состоит из графитового вспомогательного электрода - 1,
внутри которого расположен металлический стержень - 2, являющийся тоководом;
трех секторных основных электродов - 3, выполненных из нержавеющей стали:
диафрагмы - 4, изготовленной из двух отрезков корундовой трубы; верхнего - 5 и
нижнего - 6 дисков и трех стяжек - 7, вставка определенного зазора между
наружным электродом - 3 и диафрагмой - 4 осуществляется с помощью винта - 8 и
линейки - 9 на верхнем диске электродного блока установлена крышка -10 имеющая
два пазовых отверстия для заливки буферной жидкости в анодную зону.
В верхней части токопровод центрального электрода закрыт защитным
колпаком 2.Основной электрод - 3 (см. рис. 1) подключается к отрицательному
полису, а вспомогательный электрод – 1 к положительному полюсу источника
постоянного тока 1.В зону между вспомогательным электродом 1 (рис.1) и
диафрагмой 4, заливается анолит, после чего в рабочую емкость - 4 (см. рис. 1)
подается исходная обрабатываемая жидкость.
Электрообработка природной воды с целью осаждения солей жесткости и
повышения pH производится в зоне отрицательного электрода, т.е. во всем объеме
емкости. Ионы магния быстро переходят в гидроокись и осаждаются в нерастворимый
осадок в виде хлопьев. Ионы кальция осаждаются, в основном, в виде карбонатов в
присутствии углекислого газа при достаточно высоком рH (более 11,5) воды.
Поэтому в процессе электрообработки воды, при достижении рН в пределах 11-11,5
ед. рекомендуется вводить в воду углекислый газ.
В процессе всего времени ввода CO2 насос - 3 (см. рис. 1) установленный
на раме - 6, выполняет роль смесителя воды с CO2.
Подача CO2 в обрабатываемую воду проводится в течение 3 5 минут, после
чего на напорной линии насоса закрывают вентиль (на рис. не показан) подводящий
воду к рабочей емкости - 4 и открывают вентиль для перекачивания жидкости в
осадительную емкость 5, 9.
Обработанная жидкость в зоне основного электрода - 3 подается из рабочей
емкости 4 в осадительную емкость - 5 насосом - 3, для очистки ее от твердых
примесей и нерастворимых осадков солей жесткости. Вода из емкости - 5 через
фильтр - 8 поступает в емкость - 9 очищенная от твердой фазы, а из емкости - 9
к потребителю.
Рассмотрим некоторые
электрохимические реакции, происходящие в установке УЭВ при обработке воды, в
которой содержатся указанные электролиты.

В рабочей камере установки УЭВ происходят реакции восстановления, в
результате которых образуются соединения типа Мg(ОН). Отрицательные ионы под действием
двух сил – электрической и гидродинамической – переходят из рабочей камеры в
зону вспомогательных электродов.
Разность давлений в электродных зонах (в рабочей камере установки
давление больше, чем в зоне вспомогательных электродов) препятствует
проникновению ионов Н+ в рабочую камеру, но способствует перетоку воды,
насыщенной отрицательными ионами в зону вспомогательных электродов.
После того, как вода, подвергнутая электрообработке приходит в контакт с
окружающим воздухом, содержащим СО2, в ней начинают протекать с большей или
меньшей интенсивностью (в зависимости от условий) следующие реакции:

Как видно, все эти реакции ведут к образованию нерастворимых соединений,
выпадающих в осадок.
Таким образом, при помощи установки можно получать воду, практически
лишенную вредных примесей и пригодную для закачки в пласт в целях поддержания
пластового давления.
Литература
1.Джуварлы Ч.М., Багиров М.А., Вечхайзер Г.В.
Экспериментальные исследования
электрохимического
воздействия на нефтяной
пласт // Нефтяное хозяйство,
1960, №12, с. 28-33.
2.Мархасин И.Г. Физико-химическая
механика нефтяного пласта. -М., Недра, 1977, 183 с.