UDK 541.13

SCIENTIFIC RESEARCH  CLEANING WASTE WATER FROM OIL

Iztleuov G.M.-professor, Zhusabek A.S

SKSU by M.Auezova

Oil production is a new industry in Kazakhstan that promotes the economy and makes noticeable social development. This industry has many environmental impacts such as air pollution, soil pollution and hazards associated with waste production. Petroleum products are the most common pollutants. A large number of these impurities contained in the effluent of motor and car companies, railway companies and agricultural equipment, tank farms, pumping stations and loading points. Wastewater treatment, there are certain difficulties associated with the release of these parts of the emulsified oil and oil products, which form water

 
 

 

 

 

 

 

 

 

 


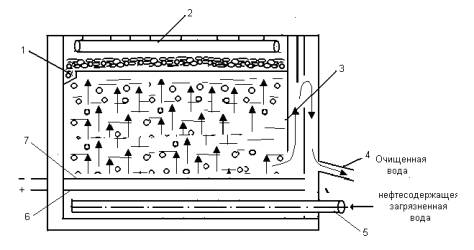
Figure-9. Elektroflotator for cleaning waste water from oil: 1 pocket charges foam 2- peno device 3- emergents partition 4,5 getting and supply line, he cathode,6-(titanium),7-an anode (graphite)

 

At present, the actual problem is the development of effective methods of nonchemical intensification elektroflotatsion cleaning oil and oily water. Positive results were obtained in the purification of water high effect can be achieved by using a combination of titanium and graphite electrodes. Concentration of oil in this case decreases from 350 to 10 mg / l (see Table 1.2)
In Table 1 we studied the effect of current density on the degree of purification titanium water from oil.

The current density was varied 25-200 A / m2, and the degree of purification of water has increased from 69.6% Oil - 89.2%, depending on the salinity of the power consumption of 0.2-1.2 kWh / m3. In Table 2 we studied the effect of electrolysis duration of the degree of purification of water from oil. Electrolysis time value varied 10-60 minutes while the degree of purification of water from petroleum increased 89.2% - 99.8%. Use of insoluble electrode-cleaning  preferred emulsions, despite this increase in energy consumption. Increased electrode life, decrease in foam volume and simplify the technology of its processing compensates for the extra power consumption. Test installation with such elektroreaktor revealed some features of cleaning water from oil products. Thus, the cleaning efficiency in floto depends primarily on the concentration and dispersion of oil particles.

Effect of extraction increases with their size and quantity without changing the cleaning, the residual oil wherein the concentration of 1-5 mg / l.
In addition to the electrical parameters, on the degree of extraction of oil and oil products is greatly affected by hardware design and hydraulic parameters of the process electroflotation. For example, proposed by "Ford Motor" elektroflotator countercurrent movement of the water and gas bubbles, as well as a rotating feed and collection device allows more uniform distribution of water in the unit volume and to increase cleaning efficiency.

Electroflotation is one of the most effective ways to purify water from oil and butter, it is carried out in devices with insoluble or soluble electrodes.
Experiments were carried out special electrochemical cell (Figure 4). Design of the apparatus for cleaning elektroflotatsion quite simple. The electrodes can be carried out in the form of plates disposed at the bottom of the unit horizontally or vertically, occupies almost the entire area of
​​the bottom to prevent the flow patterns that prevent flotation contaminants Politkovskaya was found that the efficiency of this method is equivalent to the treatment of urban wastewater in the aeration tanks to incomplete cleaning, more efficient and easier to use than biochemical methods of aeration or biofiltration. When using insoluble electrodes flotation efficiency depends on the size of recoverable drops. For example, if the recovery rate of the particle diameter of 18 micrometers is 62.5%, the diameter of 10 micron - 23.3%. Particle diameter of 5 m oil electroflotation almost recovered, and a diameter greater than 22 microns are removed effectively

Physical and chemical processes taking place in the water purification devices elektroflotatsion include electrolytic generation of gas bubbles, the adhesion of gas bubbles and dirt particles, transportation of aggregates formed "gas bubble - particle pollution" on the surface of the liquid to be treated.
An important and often determined by the stage of the process is elektroflotation adhesion of gas bubbles and dirt particles, which occurs at the molecular level. Approximation vesicle particles is effected by external hydrodynamic forces, and the distance between them is reduced to 10 ~ 6 mm, molecular forces start to act. In this case, the act of sticking particles to the bubble is accompanied by a sharp decrease in the surface energy of the boundary layers and the emergence of forces that seek to reduce the wetted surface.
The flotation process flows more successfully than the more general surface of the gas bubbles and the greater area of ​​contact with them floatable particles. In systems with the same degree of liquid gas filling the total surface of the smaller bubbles will be greater and the distance between the particles and smaller bubbles, which enhances the probability of their collision.

Electroflotation method has some significant advantages over other methods of flotation wastewater: ease of manufacturing devices and the simplicity of their service; possibility of regulating the degree of cleaning fluid depending on a phase state of particulate contamination by changing only one parameter (current density) in the process; high degree of dispersion of the gas bubbles, which provides the efficiency of attachment of insoluble impurities; no moving parts in the work area devices, ensuring their reliability and precluding mixing liquid to be treated and grinding it contains suspended particles; additional mineralization of organic pollutants with simultaneous disinfection of wastewater generated due to the anode of the electrolysis products - atomic oxygen and chlorine.

 

Table 5

Effect of current density on the degree of purification of titanium water from Oil

N

The current density on titanium     À/ì2

The duration of the electrolysis,
(min)

Concentration of oil in the waste water before purification
(Mg / l)

Concentration of oil in the waste water after cleaning
(Mg / l
)

The degree of purification,
%

1

25

10

350

110

69,6

2

50

10

350

82

77,6

3

100

10

350

50

85,8

4

150

10

350

38

89,2

5

200

10

350

38

89,2

 

 

LITERATURE

 

1.     Carter, R. E., MacKenzie, M. D., and Gjerstad, D. H. (1999). Ecological land classification in the Southern Loam Hills of south Alabama. Forest Ecology and Management, 114, 395-404.

2.     Castaneda, F. , Collaborative action and technology transfer as means of strengthening the implementation of national-level criteria and indicators. In Criteria and indicators for sustainable forest management, ed. R. J. Raison, A. G. Brown, and D. W. Flinn, 2001, pp. 145-163. IUFRO Research Series No. 7. CABI Publishing, Wallingford.

3.     Castley, J. G. and Kerley, G. I. H.  The paradox of forest conservation in South Africa. Forest Ecology and Management, 85,1996,  pp35-46.

  1. Caswell, H. Matrix population models: Construction, analysis and interpretation. Sinauer Associates, Sunderland,1989, pp 45