Технические науки/3.
Отраслевое машиностроение
Дудников В.С.
Днепропетровский
национальный университет, Украина
Мероприятия по уменьшению шарнирного момента на лопастях ветроколеса
В
большинстве современных ВЭУ для регулирования их мощности используется поворот
лопастей. С этой целью разработаны различные устройства поворота лопастей как
вращательного, так и поступательного типов действия. Для привода этих устройств
используются электродвигатели. Мощность привода определяется величиной
управляющего усилия, тянущего (для поступательного перемещения исполнительных
органов) или момента (при вращательном перемещении), а также скорости изменения
углового положения лопасти (скоростью угловой перекладки лопастей).
Величина
управляющей нагрузки (осевой силы или крутящего момента), пропорциональна
величине шарнирного аэродинамического момента на лопастях ветроколеса,
возникающего вследствие того, что центр давления (точка приложения
равнодействующей аэродинамических сил) смещена относительно оси вращения
лопасти ветроколеса.
Вопрос
определения аэродинамических нагрузок на лопасти ветроколеса подробно
рассмотрены в отчете [1]. В частности, приведены результаты расчета для ВЭУ USW56-100
с номинальной скоростью ветра
и электрической мощностью генератора
.
Ось вращения лопасти проходит на расстоянии ¼ хорды в каждом сечении от
передней кромки, а центр давления, как правило, на расстоянии 1/3 хорды В (по
экспериментальным данным) (рис.1), поэтому расстояние между осью вращения лопасти
и центром давления составляет
хорды. Шарнирный момент на каждой лопасти
создается силами лобового сопротивления, равнодействующая которых
приложена на радиусе
,
и окружными силами, равнодействующая которых
приложена на радиусе
.
Силы
и
прилагаемые относительно
оси вращения лопастей на расстояниях
и
соответственно (рис. 2),
при этом хорды профиля лопастей составляют углы
и
с плоскостью вращения
ветроколеса.
Для ВЭУ USW56-100
есть следующие значения:
(1)
Шарнирный момент лопасти
может быть вычислен по формуле
, (2)
где
; (3)
. (4)
Таким
образом, шарнирный момент на одной лопасти достигает величины 271,1 Нм. При
трех лопастях ветроколеса суммарный шарнирный момент уже достигает величины
813,3 Нм. Для уменьшения мощности устройства поворота лопастей целесообразно
свести к минимуму величину суммарного шарнирного момента на лопастях.
Из рисунка 1
видно, что этого можно добиться путем смещения оси вращения лопасти как можно
ближе к центру давления, обозначив это смещение как
можно записать условие
равенства нулю шарнирного момента в виде
ось вращения
![]()

Рисунок 1 --
Взаимное расположение оси вращения и центра давления
. (5)
Отсюда
(6)
Таким
образом, для получения нулевого значения шарнирного аэродинамического момента
на лопастях ВЭУ USW56-100 необходимо сместить ось вращения
каждой лопасти на 66,9 мм к середине хорды. В результате улучшаются условия
работы узла крепления лопасти.
Если обычно
этот узел нагружается изгибающими моментами от сил
и
,
действующих в двух взаимноперпендикулярных плоскостях, крутящим, от шарнирного
аэродинамического момента на лопасти, а также осевой отрывающей центробежной
силой при вращении лопасти, то после смещения оси вращения лопасти на величину
из совокупности нагрузок
исключается крутящий момент.
После
обнуления аэродинамического шарнирного момента на лопастях ветроколеса
устройства поворота лопастей при регулировании ВЭУ останется только
преодолевать моменты механического трения в подшипниковых узлах лопастей, то
есть нагрузка на них существенно уменьшится. Мощность приводного
электродвигателя уменьшится пропорционально изменению нагрузки. Соответственно
уменьшается количество потребляемой электроэнергии для собственных нужд ВЭУ.
Уменьшение мощности устройства поворота лопастей сопровождается уменьшением его
габаритов, массы, материалоемкости, стоимости. Уменьшение нагрузок приводит к
повышению надежности, долговечности, безотказности.
Кроме того,
может быть проведена унификация устройств поворота лопастей для ряда ВЭУ с
различной номинальной мощностью. Благодаря унификации может быть организовано
специализированное производство конкурентоспособных устройств поворота лопасти
с наиболее усовершенствованной конструкцией и технологией изготовления в
условиях Украины.
Все
вышесказанное целесообразно учитывать при новом проектировании ВЭУ.В настоящее
время, учитывая сложившуюся и отработанную технологию изготовления лопастей для
ВЭУ, которые эксплуатируются в Украине, более целесообразно смещение оси
вращения лопастей делать за счет переходников, устанавливаемых в разъеме между узлом
крепления лопастей на валу ступицы ветроколеса и самой лопастью (рис.2).





ветер ветер ось вращения лопасти плоскость вращения ветроколеса
Рисунок
2 - Составные части шарнирного момента от
аэродинамических усилий

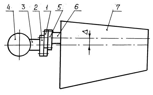
Рисунок 3 - Установка переходника для смещения оси
вращения лопасти
Переходник 1
с помощью шпилечного соединения соединяется, с одной стороны, с фланцем 2 вала
3 ступицы 4 ветроколеса, а с другой стороны, с фланцем 5 металических вставки 6
стеклопластиковой лопасти 7. Предлагаемая
доработка
ВЭУ не вызывает никаких принципиальных проблем. Она может быть осуществлена в
рамках предлагаемого увеличения коэффициента использования установленной
мощности ВЭУ за счет увеличения диаметра ветроколеса путем установки
соответствующих удлинителей лопастей
Литература:
1. Звіт про науково-дослідну роботу «Розробка методів розрахунку динаміки та
міцності вітроелектричних установок при перехідних процесах та виконавчих
регуляторів з метою підвищення ефективності ВЕУ в умовах України» д/б №
04-30-97 (заключний), № держреєстрації 0197V000641.- ДНУ.- 1998, 174 с.