АҚПА АПАРАТТАРЫНЫҢ
КОНСТРУКЦИЯСЫН ПАЙДАЛАНУ
Рh.D. Бимурзаева З.Е., Минарбекова Г.А.
Таразский государственный университет им.М.Х Дулати,
Казахстан
Сулы эжекторлар (гидроэлеваторлар)
гидротехзникалық құрылыста, гидромеханизацияда өз орнын тапты. Чаркав және
Нурек ГЭС – нде, Мәскеу, Петербор қалаларындағы сумен
қамту мен су әкету т.с.с. жүйелерінде қолданылысын
тапты.
Ұсынылған гидроэлеватор
кнструкцияларын мелиоративті сорғы станцияларында қолдануға болады.
Бұл жерде аз биіктікке көп мөлшер суды беру үшін
өте ыңғайлы. Көп мөлшер суды аз биіктікке беру
үшін құрылған сорғы станциялары қазіргі
кезде негізінен қалақшалары вертикаль (осьті) сорғылар
орнатылған, олар МЕСТ – 9366 – 80 сәйкес келеді.
1 – суретте айландыра соратын
гидроэлеватордың ірі сорғы
станцияларындағы қолдануы көрсетілген. Ұсынылған
сорғы станциясы осьтік
сорғыдан, қосымша су шығынын соратын бөліктен
және саптағы жұмысшы ағынның эжекциялау
түйіні, араласу камерасы мен диффузордан тұрады.
Электр қозғағыштан 2
жұмыс істейтін осьтік сорғы 1, жіңішкерген сап 4 арқылы
аван – камерадан 5 суды алып араласу камерасына 7 береді. Корпус 3 пен
қабының құбыр аралық кеңістігнен 6
айланған ағын арқылы аванкамерадан қосымша шығын қосып алады. Содан кейін
ағын диффузорға 8 келеді, оның ішінде кинетикалық
энергия потенциалды энергияға айналады және жыламдығы
тасмалдағыш құбыр желісіне 10 ыңғайлана
төмендейді.
2 – суретте вертикльды дренажды
скважинада орналасқан сору
бағыты тангенциальды
әкелінген гидрэлеваторлы қондырғыны байқауға
болады, ол негізінен жер асты суларының деңгейін төмендету
үшін қажеттілігі өте маңызды. Аса айта кететін бір
жағдай гидроэлеватордың сору бағыты тангенциальды әкелінген түрі қарапайым немесе
басқа да түрлері осынау гидроэлеватордың өнімділігі мен
сенімділігі жағынан көрсеткіштері төмен екендігі
дәлелденіп байқалған. Бұндай дәрежедегі
мақсатқа қол жеткізу үшін көптеген жылдар бойғы
ғылыми зерттеулердің бірнеше сатылы кезеңдерден өтуі
тиіс еді. Сол ғылыми сатылары көтеруге т. ғ. докторы,
профессор А. Абдурамановтың ашқан жаңалықтары
жетерлік.
Мелиорацияға арналған сорғы станциясы

1 –
сурет
Гидроэлеватор вертикальды дренажды ұнғымада

2 – сурет
ЭЦВ
тектес ұңғымалы сорғысының арынды
құбыр желісіне гидроэлеваторды орнату ативті ағынның
энергиясын пайдалану эффектісі жоғарлайды және жер асты су
деңгейін төмендете отырып су тасмалдайтын горизонттан қосымша
биіктік алуға болады.
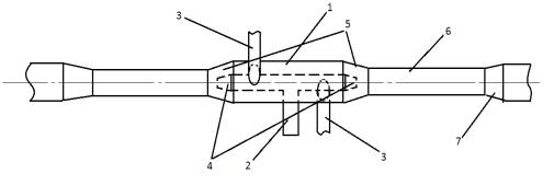
Екі жақты акпа апаратының сұлбасы

3-сурет
1-араласу камерасы, 2- екі жақты белсенді сап, 3-
әлсіз ақпаны құйындатып беретін сап, 4- белсенді сапта орналасқан диффузор,
5- араласу камерасынан кеінгі ақпа аппаратының диффузоры, 6- негізіг құбырлы
бөлік, 7- конфузорлы бөлік.
Екі
бетті ақпа аппараттарының жер всты суын көтеру
барысындағы сұлбасы

4 -
сурет
1-Екі бетті
ақпа аппаратының араласу камерасы, 2-сорғы, 3- ақпа
аппаратынан шыққан су құбыры, 4-сорғыдан
шыққан құбыр, 5- жер асты суын котеретін
құбыр, жбд- жер беті деңгейі, жасд-жер асты су
деңгейі. Соңында
мынаны аламыз:
(1)
(54)
формула ПӘК –ін анықтауға тура келеді. Теория жағынан
қарайтын болсақ
шамасы көбіне гидро ақпалы қоспалар үшін
0.7 ден 0.05 ке дейін өзгереді (54) формуланың есептеуі бұл
шаманың арасындағы өлшемді
жеткілікті түрде қанағаттандырады. Егер
арнайы бір қоспаларды ![]()
есептейтін болсақ, онда арын жылдамдығын есепке алу
қажет.
Гидроэлеватордың екуіне де
тәуелділік графигі
5 – суретте берілген :
1) қарапайым түрі ақпа тікелей қосылған.
2) сору ағыны тангенциальды әкелінген түрі.
Анализ көрсеткендей арынды
соратын ақпаның тангенциальді әкелгендегі ПӘК –
нің максимумы ![]()
болса аларынды
ақпа тікелей әкелінген конструкцияда ПӘК – і
ке тең болады.
Гидроэлеватордың арынды сору
ақпасы тангенциальды әкелінген конструкцияда ПӘК –і
қарапайым гидроэлеватордың ПӘК – нен 10.8 % - ға артық болады.
Тәуелділік графигі
4 – суретте
көрсетілген. Рейнольдс саны динамикалық
ұқсастықтың критериясы ретінде қабылданады, оны
мына формуламен анықтаймыз:
(2)
Мұнда
- саптың қимасының
кіреберіс шетіндегі диаметрі ;
- саптан жұмысшы
сқйықтықтың жылдамдығы;
- кинематикалық тұтқырлық.
Рейнольдс мәні графикада
максимумына жетеді
ол ағынды тік әкелген мен
тангенциальды әеклген гидроэлеваторлар үшін бірдей.
пен
тәуелділік
графигі 3, 4 – суреттерінде көрсетілген. Бұдан мынадай
қортынды шығады:
1) сұйықтықты
тангенциальді әкелінген гидроэлеваторладың ПӘК – і
қарапайым гидроэлеваторладан 10.8 % көп.
2) Конструкциясы тік ақпалы етіп әкелінген
гидроэлеваторладың ПӘК – ң эжекция коэфицентінің
максимумының мәні q = 0.44 ке тең.Екеуінің де
конструкциясының геометриялық параметрлерінің
маңыздылығы екіге тең:
Мұнда
- араласу камерасына кіретін жерінің диаметрі,
- канал диаметрі.
Литература
1.
Абдураманов
А.А., Касабеков М.И.К расчету камер смешения прямоточных и вихревых
гидроэлеваторов. – Механика и моделирование процессов технологии №1, Тараз,
2001,с. 87 – 92.
2.
Касабеков М.И. Теориялык механика. Оку кұралы, - Алматы, издательство Алаш, 2006, с. 56 – 67.