Технические науки/2. Механика
Аспирант Агарков А.М.,
студент Краснов В.В., студент Локтионов И.С.
Белгородский государственный технологический университет
им. В.Г. Шухова, Россия
Повышение эффективности
пылеконцентратора
Наиболее перспективным способом интенсификации сепарационной способности
циклонов является эжекция выделенного продукта через пылевыпускное отверстие
аппарата [1, 2, 3, 4].

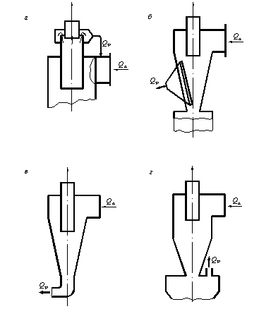
Рис. 1. Схемы отбора пылегазовой
смеси из проточной части циклонных пылеуловителей
Принудительный вывод части газа из бункера усиливает нисходящий, нагруженный
твердой фазой, газовый поток и ослабляет восходящий, что создает благоприятные
условия для процесса пылеулавливания за счет снижения радиальных течений, как в
самом циклоне, так и его бункере.
Аэродинамические процессы,
имеющие место в бункере (важнейшей составляющей циклонного пылеуловителя),
оказывают большое влияние на эффективность очистки. Интенсивность радиальных
течений будет снижаться при увеличении его габаритов и количества отбираемой
пылегазовой смеси. Однако необходимо помнить, что нарушение вращательного
движения газа и его структуры приводит к заметному снижению степени
пылеулавливания.
Анализ существующих способов отбора [1, 2, 3, 4] свидетельствует о их
негативном влиянии на структуру движения газа в бункере аппарата. Причем, чем
больше это влияние, тем меньше достигаемый эффект, который даже может быть
отрицательным.
Сказанным объясняется довольно противоречивая информация о снижении
проскока пыли через циклон при использующихся способах отбора газа из бункера
аппарата.
В случае отбора по схеме, представленной на рис.1в проскок пыли снизится на 33..34 % в сравнении с тем же
циклоном без бункера, но увеличится на 3 % в сравнении с циклоном, оснащённым
бункером. При отсосе же части несущего газового потока из бункера проскок
снизится на 15…40 % [1, 2, 4], причем наименьшие величины снижения наблюдаются
у одиночных циклонов, наибольшие – при групповой компоновке пылеуловителей, так
как в данном случае отбор газа из общего бункера способствует также снижению
негативного воздействия "эффекта батарейности".
Более высокая эффективность отбора газа из бункера, чем непосредственно
из пылевыгрузного отверстия конуса циклона (рис.1в), на наш взгляд, объясняется меньшей величиной
радиальных течений в бункере, обуславливаемой его более высокими габаритами в
сравнении с габаритами трубопровода.
Общеизвестно, что уменьшение размеров бункера влечёт за собой снижение
эффективности очистки, за счёт возрастания скорости радиальных течений, способствующих
выносу частиц пыли в восходящий вихревой поток. Увеличение количества
отсасываемого из бункера воздуха снижает расход газа в восходящем вихре, но
полностью устранить его не может, т.к. он обуславливается наличием перепада
давления по радиусу, вызываемым вращательным движением газового потока.
Известные способы отбора пылегазовой смеси из бункера одиночного циклона носят локальный характер
(отбор из конкретной точки бункерного пространства), что естественно влечет за
собой нарушение структуры течения газа. Наибольшей эффективности очистки будет
способствовать равномерный вывод газа по объему бункера.
Наряду с повышением эффективности очистки, вывод части газа из бункера
позволяет устранить отрицательное воздействие подсосов атмосферного воздуха,
вызываемых нарушением герметичности узла выгрузки уловленной пыли, и снизить
гидравлическое сопротивление аппарата, за счет падения скорости воздуха в
выхлопном патрубке. Однако на практике такие циклоны, называемые центробежными
пылеконцентраторами, не нашли широкого применения, что в основном объясняется
сложностью достижения присущего им эффекта.
Эффективность пылеулавливания пылеконцентратора определяется выражением
hпк = 1 - [ (1-h1)
+ h1
(1-h2)
(1-h3)
], (1)
где h1 – эффективность концентрирования пыли в циклоне;
h2 – степень осаждения пыли в бункере циклона;
h3 – эффективность дополнительного пылеуловителя.
Для сохранения общей эффективности очистки равной h1 необходимо полное осаждение пыли в бункере (h2=100 %) или дополнительном пылеуловителе (h3=100 %). На практике же из бункера эжектируется до 40 %, поступившей в
него пыли (h2=60 %), а в качестве дополнительного
пылеуловителя применяются циклоны (h3=80...95 %), что
и является основной причиной снижения общей степени очистки центробежных пылеконцентраторов.
При использовании пылегазовой смеси в качестве рециркуляционного потока,
пылеконцентраторы становятся наиболее перспективными очистными аппаратами
рециркуляционных систем. Присущая им высокая эффективность очистки и пониженное
гидравлическое сопротивление позволяют снизить как пылевой выброс АС, так и ее
энергоемкость. Кроме этого, деление аспирируемого потока воздуха на очищенный и
рециркуляционный осуществляется непосредственно в самом аппарате, что упрощает
схему системы.
Однако существующие конструкции пылеконцентраторов неприемлемы в этом
качестве в связи с несоответствием величин оптимальных объёмов пылегазового
концентрата (5…20% от объёмов очистки) величинам требуемых объёмов рециркуляции
(до 70% от объёмов аспирации) системы.
Существенным фактором, затрудняющим
формулировку требований предъявляемых к пылеулавливающему оборудованию рециркуляционной
системы, является отсутствие данных о степени влияния запыленности
рециркуляционного потока на концентрацию пыли в аспирируемом воздухе. Степень
зависимости пылединамики аспирационной системы от подачи в перегрузочные желоба
запыленного воздуха будет обуславливать как требования, предъявляемые к очистке
рециркуляционного потока, так и целесообразность использования центробежных пылеконцентраторов.
Литература:
1. Sage
P.W., Wright M.A. The use of gas bleeds
to enhance cyclone performance // Filtr. and Separ. - 1986. - V.23, № 1 – Р. 32.
2.
Шауберт
Г.Г., Сулейменов М.К. и др. Разработка, исследование и опыт внедрения
пылеуловителя новой конструкции в химическую промышленность //Сб. научных
трудов. "Разработка, исследование оборудования для получения
гранулированных материалов". – M., 1985. - С. 1О8-112.
3.
Тукало Н.П.,
Ульянов В.М. Улавливание синтетических смол в циклоне с эжекционной выгрузкой
материала // Пром. и сан. очистка газов.– 1984, № 3.- С. 12.
4.
Орлов Н.Л.,
Измоденов Ю.А., Харитонов В.Г. и др. Выбор оптимального режима инерционных
сепараторов // Сб. научных трудов НИПИОТстрома. "Вопросы охраны труда и
техники безопасности на предприятиях ПСМ". Вып. ХIV – Новороссийск, 1977.
- C. 3-9.