Д.т.н. Горшков Л.К.,
д.т.н. Яковлев А.А.
Санкт-Петербургский
государственный горный университет
Трещинообразование
в породах забоя скважины под действием буровых резцов
Механизм
образования трещин в породах забоя бурящейся скважины в общих чертах известен и
приводится во многих работах. Одна из версий этого механизма изложена в
монографии [1], но, тем не менее, существуют некоторые неясности, не
позволяющие принять имеющиеся представления для практического использования.
Попытаемся раскрыть детали механизма образования трещин круглого замкнутого
очертания при действии на породу единичного бурового резца.
В основе
решения такой задачи лежит понятие о возможном перераспределении напряжений,
наведенных на контуре указанной выше круглой трещины. Пусть породный массив, в
котором действуют естественные напряжения от горного давления Px,
Py, Pz по трем взаимно
перпендикулярным направлениям (осям декартовых координат), ослаблен круглой
трещиной некоторого радиуса a, образованной от
вдавливания в породу бурового резца. Возьмем на контуре трещины произвольную
точку OK и с ней свяжем новую (цилиндрическую) систему
координат
(рис.1). Размещение
напряжений (естественных и наведенных) на контуре этой трещины напоминает
систему напряжений при разрывных нарушениях сдвигового типа в тектонических
зонах земной коры [2].
При
вдавливании резца в породу соотношение естественных напряжений имеет следующий
вид: Px =Py =0,33Pz
при коэффициенте Пуассона для пород μ=0,25. для единичной осевой нагрузки
на буровой резец наведенные напряжения на контуре круглой трещины
распределяются следующим образом:
![]()
![]()
![]()
![]()
![]()
где
,
,
- нормальные
напряжения соответственно в направлениях ρ (радиальном), θ (тангенциальном)
и λ (продольном);
,
,
- касательные
напряжения в соответствующих плоскостях координатной системы
:
- коэффициенты
интенсивности напряжений для трещин соответственно продольного (вдоль оси
резца) и оперяющих последнюю в поперечном (по радиусу ρ) и тангенциальном
(по оси θ) направлениях; при этом следует заметить, что касательные
напряжения на рис. 1 не показаны, чтобы излишне не загромождать схему.

Рис.1.
Системы координат, естественные напряжения (Px, Py, Pz) и наведенные напряжения в т. ОК (
,
,
) на контуре круглой трещины вдавливания радиуса а: ось
λ вертикальна и параллельна z, оси ρ и θ располагаются в
горизонтальной плоскости, как и оси х, у
Так как на
забой скважины действуют одновременно несколько резцов буровой коронки, то поле
напряжений в породе забоя определяется как сумма напряжений от каждой из трещин
и всех точек приложения резцов, при этом главные напряжения и их направляющие
косинусы определяются по известной методике из курса теории упругости применительно
к разведочному бурению [3].
Главные
напряжения находятся путем раскрытия определителя из коэффициентов у
направляющих косинусов для напряжений, соответствующих граничным условиям
нагружения породы под буровым резцом. Раскрыв этот определитель, получим
кубическое уравнение, решив которое найдем искомые главные напряжения
. Определитель имеет следующий вид:

где σ – неизвестное
главное напряжение.
Кубическое
уравнение для нахождения главных напряжений:
![]()
где
- инварианты тензора
напряжений на контуре трещины:
;
;
.
Направляющие
косинусы главных напряжений определяются решением следующей системы уравнений:
![]()
![]()
![]()
где
- одно из значений главных
напряжений;
- направляющие
косинусы соответствующих главных напряжений; при этом
.
Решив
приведенную систему относительно
и
, найдем значения направляющего косинуса ![]()
![]()
а затем ![]()
Расчеты по
приведенной выше методике показали высокую концентрацию сжимающих напряжений в
породе вблизи фронтальной части резца (главное напряжение
) и растягивающих напряжений (главное напряжение
) сзади тыльной части резца (рис.2). При этом направление
главного напряжения
составляет угол
около 30º с горизонтальной поверхностью, а
- такой же угол с
вертикалью, что согласуется с результатами исследования эволюции разрывных
нарушений в породной толще [2]. Второе главное напряжение
(на фасадной
проекции резца, рис.2) отсутствует, то есть
в этом направлении
действуют только силы трения резца при его перемещении вдоль берегов
образовавшейся трещины вдавливания.

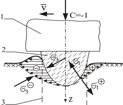
Рис.2. Зоны сжатия (-) и растяжения (+)
при перемещении по забою вдавленного в него алмазного резца при единичной
нагрузке С=-1: 1 - матрица коронки; 2 - алмазный резец; 3 - контур круглой
трещины вдавливания;
- главные
напряжения; v - скорость горизонтального перемещения резца вдоль забоя
бурящейся скважины
Действие
всех напряжений (естественных и наведенных), а также контактной силы трения
способствует развитию оперяющих и секущих трещин относительно контура основной
круглой трещины, что ведет к значительному ослаблению прочности буримого
массива, при этом главную роль играет чередование сжатых и растянутых зон на
забое в процессе перемещения вдавленных в породу осевой нагрузкой буровых
резцов, например, алмазных.
Развитие
растягивающего главного напряжения
вызывает отрывы
отдельных частиц породы от массива с образованием в нем
поперечно-тангенциальных трещин горизонтально-вертикальной ориентации, то есть
трещин II и III порядков, облегчающих
сдвиговые деформации на забое. При трещинообразовании такого рода в вершинах
трещин накапливается тепловая энергия, но при подаче очистного агента на забой
повышение температуры гасится, в общем мало содействуя разупрочнению породы,
что, тем не менее, можно наблюдать при использовании низкотеплоемких очистных
агентов, например, сжатого воздуха. Действующие главные напряжения, показанные
на рис.2, определяются по известной из курса сопротивления материалов
зависимости для плоской задачи, в нашем случае в плоскости
или
(см. рис.1):
![]()
Таким
образом, при конструировании алмазных породоразрушающих инструментов нового
поколения следует обратить особое внимание на необходимость обеспечения
появления на забое чередующихся зон растяжения и сжатия породы, поэтому
конструкция коронки при ее работе на забое должна в максимально возможной мере
способствовать развитию в буримой породе не только сжимающих и сдвиговых, но и
растягивающих напряжений, возникающих после смещения резца в столбике сжатой
породы за счет высвобождения потенциальной энергии упругой деформации
указанного выше столбика сжатой резцом породы.
Литература:
1. Горшков Л.K., Гореликов В.Г. Температурные режимы алмазного бурения. -
М.: Недра, 1992. - 173 с.
2. Лир Ю.В., Шакин С.С. Строение и эволюция рудовмещающих
разрывах нарушений сдвигового типа. - В сб.: Сдвиговые тектонические нарушения
и их роль в образовании месторождений полезных ископаемых. - М.: Наука, 1991. -
С.149-161.
3. Горшков Л.К. Основы теории упругости и пластичности в
разведочном бурении. - СПб.: СПГГИ, 1992. - 151 с.