Технические
науки/3. Отраслевое машиностроение
К.т.н. Дудников В.С., студент Векилов
С.Ш., студент Киба В.Д.
Днепропетровский национальный
университет, Украина
Центрифуга для биологических экспериментов в космосе
Большой научный интерес представляют медико-биологические
эксперименты по изучению влияния эффекта невесомости и искусственной силы
тяжести на фундаментальные процессы жизнедеятельности организмов. [1-12].
Известно, что отсутствие гравитации может нарушить нормальное протекание формообразовательных процессов [13, с. 128].
Известно применение искусственной силы тяжести в качестве средства
профилактики эффектов невесомости
[14]. Для этого на борту спутника устанавливается центрифуга с держателями для биологических объектов. Держатели закрепляются неподвижно на платформе центрифуги, при этом
ориентация развивающегося
биологического объекта в гравитационном поле искусственной силы тяжести остается неизменной.
Однако известно влияние изменения ориентации в гравитационном
поле на развитие оплодотворенного
яйца [13, с. 121]. Наземные эксперименты по дезориентированию яйцеклеток в гравитационном поле (метод клиностатического вращения) указывают определенную чувствительность
развитии к этому фактору [13, с.
123].
Известна центрифуга, содержащая корпус, вращающийся ротор, в котором с возможностью отклонения в радиальной плоскости закреплены на осях держатели для биологических объектов [15].
Держатели при вращении ротора отклоняются от вертикального
положения и самоустанавливаются по
вектору центробежных сил. При этом ориентация биологического объекта относительно гравитационного поля
остается постоянной, определяется
величиною угловой скорости вращения центрифуги и радиусом закрепления держателей.
Исследования по изучению влияния изменения ориентации гравитационного
поля искусственной силы тяжести на
развитие
организма в условиях космического
полета на известной центрифуге проведены быть не могут.
По нашему мнению
актуальной является задача обеспечения
возможности изменения угла
держателей на вращающемся роторе без его остановки непосредственно в ходе процесса инкубации
биологических объектов в условиях космического
полета.
Для решения этой задачи авторами была разработана
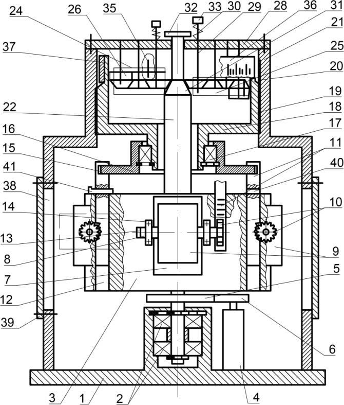
центрифуга, конструкция которой представлена на рисунке.
Центрифуга содержит основание корпуса 1, в котором на двух подшипниках 2 установлен ротор 3. Ротор 3 приводится во вращение от двигателя 4
через зубчатые колеса 5,6. В углублениях 7 корпуса ротора закреплены на осях 8 держатели 9 биологических объектов, например
яиц. Держатели 9 имеют возможность
отклоняться относительно ротора в радиальной плоскости. На осях 8 держателей 9 закреплены зубчатые колеса 10, которые находятся
в зацеплении с зубчатыми рейками Постановленными в сквозных пазах 12 корпуса ротора. Оси 8 предохраняются от выпадения из
гнезда 13 корпуса ротора планками
14. На выступающем над торцом корпуса ротора конце реек 11 выполнено углубление 15, которое охватывает диск 16. Диск 16 с
помощью подшипника 17 соединен со вторым диском 18.
Подшипник 17 зафиксирован в осевом направлении относительно дисков
16 и 18 с помощью буртиков и стопорных колец. Наружная поверхность диска 18 выполнена резьбовой
19 и находится во взаимодействии с внутренней резьбой 20 охватывающего его корпуса 21 центрифуги. Диск 16 и 18 выполнены с центральными отверстиями, внутри которых проходит выступ 22 ротора.
Между внутренней поверхностью 23
диска 18 и выступом 22

Рисунок – центрифуга
установлены две
системы 24 и 25 вращающихся
роликов 26. Оси 27 роликов закреплены на торцевой стенке 28 корпуса 21. Системы 24 и 25 отличаются числом роликов 26 на
единицу. Ролики 26 располагаются
последовательно друг за другом и соединяют между
собой диск 18 и выступ 22 ротора. Один из роликов 26 в каждой системе 24 и 25 установлен на подпружиненной оси 29 и поэтому в
свободном состоянии не
контактирует с другим роликом. Ось 29 может быть подпружинена пружиной 30 как вдоль оси, так и поперек (на рисунке не
показано). Целесообразно
подпружинивать ось первого от выступа 22 ролика. Остальные ролики 26 находятся в постоянном контакте между собой.
Наружные поверхности дисков 26
выполнены коническими.
Соответствующую
коническую поверхность 31 имеет
выступ 22 ротора. Наружная поверхность ролика 26, постоянно взаимодействующего с внутренней поверхностью 23 диска 16,
выполнена цилиндро-конической.
Выступ 22 выведен
за пределы корпуса центрифуги через
стенку 28. На его конце закреплена рукоятка 32. Концы подпружиненных осей 29 также выведены наружу через
стенку 28 и снабжены головками 33.
Диск 18 имеет кольцевой выступ 34,
расположенный выше резьбовой части 19. Выступ
34 установлен с зазором относительно корпуса
21 центрифуги, при этом часть корпуса 21 напротив выступа 34 выполнена из прозрачного материала,
например органического стекла, на
котором нанесена отсчетная риска 35. Прозрачным может быть выполнен весь корпус 21.
На выступе 34
закреплена шкала 36, которая выполнена
в виде кольца 37.
В корпусе 21
напротив держателей 9 выполнены окна
38, которые закрываются крышками 39.
На выступающих над
корпусом ротора 3 частях реек 11 выполнены
отверстия 40, в которые на стадии сборки центрифуги устанавливаются съемные штифты 41.
Центрифуга
работает следующим образом.
При включении
электродвигателя 4 вращение через
зубчатые колеса 5,6 передается ротору 3, установленному на двух
подшипниках 2 в основании 1 корпуса центрифуги.
Вместе с ротором 3 вращаются держатели 9
для биологических объектов.
При введении первого от выступа 22 ролика 26 в контакт с конической поверхностью 31 выступа 22 и другого ролика путем нажатия на головку 33 оси 29 вращение от ротора 3 через систему
роликов 24 или 25 передается на диск
18. Диск 18, имеющий резьбовое
соединение с корпусом 21, при
своем вращении перемещается
поступательно относительно корпуса 21 и
систем роликов 24 и 25 в
ту или другую сторону. Вместе с диском 18
перемещается поступательно и диск 16, соединенный с возможностью относительного вращения. Диск 16
передает поступательное перемещение зубчатым
рейкам 11, а те, в свою очередь, поворачивают зубчатые колеса 10, закрепленные на осях 8 держателей 9.
При этом происходит изменения угла наклона
держателей 9. Это продолжается до тех пор, пока нажата головка 33 оси
29. При отпускании головки 33
пружина 30 отводит ось 29 вместе с роликом 26 от конической поверхности
31 выступа 22. После этого прекращается вращение
системы роликов 24 или 25 и диска 18. Диски 18,16, зубчатые рейки
11 останавливаются на определенной высоте относительно корпуса 21, а держатели 9 под определенным углом к корпусу
ротора 3. Величина этого угла
определяется по показаниям шкалы
36 напротив отсчетной рейки 35, выполненной на прозрачной части корпуса 21.
Для изменения угла наклона держателей 9 в противоположном
направлении приводится в действие
вторая система вращающихся роликов 26.
Чередуя работу систем 24 и 25 роликов устанавливают любое
программное значение угла наклона
держателей 9 при неизменном направлении вращения ротора 3 без его остановки.
Ротор 3 вращается с определенной угловой скоростью в течении времени,
необходимого для инкубации
биологических объектов ,например яиц.
Величина угловой скорости ротора 3 определяется величиной
интенсивности искусственной силы
тяжести и задается с помощью регулируемого электродвигателя
4. Резьбовое соединение диска 18 и корпуса 21 выполнено
самотормозящимся, поэтому оно не
развинчивается под действием веса диска 16, реек 11 и момента трения в подшипнике 17, а угловое положение держателей
9 остается неизменным при
выключенных системах 24 и 25 роликов.
Предлагаемая центрифуга позволяет производить
программное изменение и
фиксирование угла поворота держателей для биологических объектов независимо от величины угловой скорости ротора, причем без
его остановки, так что режим
искусственной силы тяжести не нарушается.
Установка двух систем вращающихся роликов с разным числом
роликов позволяет осуществить
реверсирование направления поворота держателей для биологических объектов при одном неизменном направлении вращения ротора.
Подпружинивание оси одного из роликов системы исключает
возможность незапланированного
изменения угла поворота держателей, так как разрывается кинематическая цепь передачи движения от вращающегося
ротора на механизм изменения угла
поворота.
Подпружинивание оси ролика, первого от вращающегося выступа ротора, исключает вращение остальных роликов системы во время вращения
ротора с неизменным углом наклона
держателей, при этом наружная поверхность этих роликов не изнашивается.
Система роликов, поджатых друг к другу и диску, имеющему резьбовое соединение с корпусом центрифуги, повышает эффект самоторможения этого
резьбового соединения, что гарантирует
неизменность угла поворота держателей во
время их вращения вместе с ротором.
Выполнение наружных поверхностей роликов коническими
обеспечивает повышение коэффициента
трения в их взаимном контакте, что уменьшает возможность их пробуксовки, износа.
Выполнение в корпусе центрифуги окон, расположенных на уровне
расположения держателей,
обеспечивает возможность их мобильной замены, изменения первоначального угла установки держателей внутри корпуса
собранной центрифуги. Кроме того,
через окна после сборки центрифуги извлекаются съемные штифты, установленные в отверстиях зубчатых реек.
Выведение выступа ротора за пределы корпуса центрифуги и
снабжения его рукояткой позволяет
осуществлять изменения угла наклона держателей при отключенном электродвигателе. Кроме того, удержание ротора за рукоятку
при включенной системе роликов
обеспечивает возможность сборки-разборки резьбового соединения второго диска и корпуса центрифуги.
Выполнение стенки корпуса центрифуги напротив шкалы, закрепленной
на втором диске, прозрачной
обеспечивает визуальный контроль за изменением и настройкой угла наклона держателей.
Предлагаемая центрифуга обеспечивает возможность проведения
биологических исследований по
изучению влияния ориентации гравитационного поля искусственной силы тяжести на развитие организма в
условиях космического полета, что
представляет большой научный интерес для космической медицины.
Так как управление механизмом изменения угла наклона держателей осуществляется снаружи корпуса, то это не отражается на микроклимате, необходимом на определенной стадии инкубирования биологических
объектов.
Литература
1. Биоспутник
“Космос – 936” – первые эксперименты на млекопитающих в условиях невесомости и
искусственной силы тяжести [электронный ресурс]. – Режим доступа : http://www.volgaspace.ru/lit_tez 2_3.html.
2. Биологический
спутник “космос – 936” [электронный ресурс]. – Режим доступа : http://epizodsspace.no-ip.org/bibl/priroda/1977/11-k-936.html.
3. Готовится
продолжение биологических экспериментов в космосе [электронный ресурс]. – Режим
доступа : http://nature.web.ru/db/msg.html.
4. Космический
аппарат “Бион” [электронный ресурс]. – Режим доступа : http://www.plesetzk.ru/ka/bion.
5. Биология
в полетах беспилотных космических аппаратов [электронный ресурс]. – Режим
доступа : http://biosputnik.imbp.ru/bilogiya...
6. Программа
“Бион” [электронный ресурс]. – Режим доступа : http://biofizpribor.ru/science/projekt-bion/.
7. Эксперимент “Перепел” на орбитальной станции “Мир”
[электронный ресурс]. – Режим доступа :
http://www.perepelka.com/papers/bread_meat_and_space.php.
8. Российский
и американский космонавты проведут целый год на МКС [электронный ресурс]. – Режим
доступа : http://m.rg.ru/2015/01/21/kosmos.html.
9. Грызуны
снова осваивают космос [электронный ресурс]. – Режим доступа : http://preriya.narod.ru/worldnews/news330.html.
10. Генин А.М. и др. Человек в космосе – 2
[электронный ресурс]. – Режим доступа : http://epizodspace.airbase.ru/bibl/genin/chelovek_v_kosmose/02.html.
11. Дудников В.С. Инкубатор-центрифуга
[электронный ресурс]. – Режим доступа : http://www.rusnauka.com/16_NPRT_2013/Technic/3_140026.doc.html
12. Ильин Е.А., Парфенов Г.П. Исследования на
биоспутниках серии “Космос” [электронный ресурс]. – Режим
доступа : http://www.astronaut.ru/bookcase/spacebio/text/06.html.
13.
Пальмбах
Л.Р. «Некоторые результаты
экспериментов по изучению развития позвоночных животных в невесомости (в
условиях космического полета)». Экспериментальные исследования по космиеской
биофизике. АН СССР. Научны цент биологических исследований. 1976, с.119-130
14.
Адамович Б.А., Ильин
В.А., Носкин А.Д. и др. «Научная
аппаратура и среда обитания животных в эксперименте на биоспутнике
«Космос-936». Космическая биология и авиакосмическая медицина, 1980, том 14,
с.19, рис.1; с.20, рис.2.
15. А.С. СССР №1080877, В04В5/04. Центрифуга (её
варианты), 1984.