К.т.н. Твердоступ Н.И.
Днепропетровский национальный
университет им. Олеся Гончара
ИЗМЕРИТЕЛЬНЫЙ ГЕНЕРАТОР НА ОСНОВЕ
КОМБИНИРОВАННОЙ ОПЕРАЦИОННОЙ СХЕМЫ
В устройствах измерения и контроля широко используют
метод F-метра, позволяющий преобразовывать
реактанс датчика в частоту гармонических колебаний [1]. Недостатком метода
является его ограниченная чувствительность к изменению контролируемого
параметра.
Целью работы является разработка F-метра с повышенной чувствительностью
к изменению индуктивности параметрического датчика.
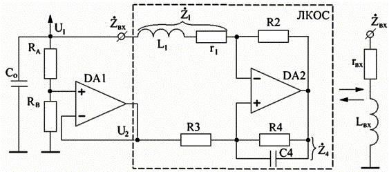
Измерительный генератор (рис. 1) на основе линейной комбинированной
операционной схемы (ЛКОС) в цепи отрицательной обратной связи усилителя DA2 содержит индуктивный датчик. Из [2] следует, что входной
импеданс ЛКОС равен
= (
(1)
где
– комплексный
импеданс индуктивности L1 с
активным

а) б)
Рис. 1 – Измерительный генератор на
основе ЛКОС (а);
эквивалентное представление ЛКОС (б)
сопротивлением r1; R2, R3 – сопротивления цепи
комбинированной обратной связи усилителя DA2;
– импеданс параллельно соединенных сопротивления
и емкости
; n = U2 / U1, U1 и
U2 –напряжения сигналов возбуждения.
Повторитель на усилителе DA1 с делителем RА, RВ
представляет собой источник напряжения возбуждения U2 , синфазного напряжению U1. Отношение n напряжений возбуждения можно
представить в виде
(2)
тогда входной импеданс
, выраженный
через параметры схемы, будет
(3)
= rвх +
Lвх ,
(4)
где rвх, Lвх
– входные активное сопротивление
и индуктивность. Из (3) и (4) следуют выражения активной и индуктивной
составляющих входного импеданса
(5)
(6)
показывающие, что в настоящей схеме L1 и r1 преобразуются в Lвх и rвх с коэффициентом умножения равным
Из (5) также следует, что со-
противление r1 компенсируется отрицательной
активной составляющей входного импеданса ЛКОС равной
. (7)
Из (6) видно, что умножение индуктивности L1 на коэффициент m происходит одновременно с уменьшением ее начального значения на величину
, которую будем называть компенсирующей индуктивностью Lк. Выражение (6) представим в виде
. (8)
Допустим,
что под воздействием контролируемого параметра индуктивность L1 изменяется на величину ΔL1, тогда входная
индуктивность ЛКОС становится
. (9)
Из (8),
(9) следует, что абсолютное и относительное приращения
входной индуктивности равны
(10)
(11)
причем,
при
Из (10), (11) следует, что в ЛКОС возможно масштабирование
индуктивности датчика с управлением величины чувствительности к контролируемому
параметру.
К входу ЛКОС подключена емкость
, которая с входной
индуктивностью
образует колебательный контур с резонансной частотой
. (12)
Из (5 ) следует, что при выполнении условия
r1<
(13)
в контуре присутствует
отрицательное активное сопротивление, обеспечивающее стационарные гармонические
колебания на резонансной частоте (12), которая с учетом (8) имеет вид
.
(14)
При изменении индуктивности датчика
приращение частоты можно определить в виде
=
=
·
. (15)
Из (15)
видно, что приращение частоты существенно увеличивается при
Именно
это указывает на возможность повышения чувствительности F-метра на основе ЛКОС к изменению
индуктивности L1 параметрического датчика.
Экспериментальная
проверка выражения (15) была проведена на измерительном генераторе (рис.1), собранном на
операционных усилителях ICL7650 с индуктивностью L1 = 21 мГн, емкостью
= 1,106 мкФ и начальной частотой колебаний 460 Гц. Результаты эксперимента
(рис. 2) показывают, что
зависимости
линейны; без компенсирующей индуктивности
(зависимость 5)

Рис. 2 – Приращение частоты
генератора как функция
индуктивности датчика L1 для разных значений компенсирующей
индуктивности Lк
чувствительность к
минимальная и составляет 7,5 Гц/мГн, при индуктивности
17,23 мГн (зависимость 1) чувствительность возрастает в пять раз
до 39,2 Гц/мГн. Отличие экспериментальных и расчетных по (15)
данных не превышает 5%.
Вывод. Компенсация
начальной индуктивности датчика с умножением ее приращения позволяют увеличить приращение
частоты измерительного генератора на основе линейной комбинированной
операционной схемы.
Литература:
1. Измерения в электронике: Справочник / В.А. Кузнецов, В.А. Долгов, В.М. Коневских и др.; Под ред. В.А. Кузнецова. – М.: Энергоатомиздат, 1987. – 512 с.
2. Твердоступ Н.И. Обобщенная модель преобразователей импеданса // Вісник Дніпропетр. ун-ту. Фізика. Радіоелектроніка. – 2010. – Вип. 17, №2. – С. 103 - 108.