Сельское хозяйство/2.
Механизация сельского хозяйства
Д.т.н. Цыпук А.М., к.т.н Эгипти А.Э., к.т.н. Родионов
А.В., инж. Чечков А. А.
Петрозаводский
государственный университет, Россия
Механизация
посадки леса на вырубках
Проблема механизации посадки леса на
нераскорчеванных вырубках сформировалась к концу 60-х годов прошлого века,
когда стало ясно, что естественное возобновление в таежной зоне не в состоянии
восполнить ущерб, наносимый лесу промышленными технологиями лесозаготовок.
Основное направление к тому времени
получили лесопосадочные машины с рабочими органами в виде коробчатого сошника,
готовящего в почве борозду [1].
В условиях вырубки непрерывное перемещение
сошника входит в противоречие с наличием на его пути естественных для вырубки
препятствий – пней, камней, порубочных остатков и поваленного леса. Второе
противоречие заключается в неполном использовании борозды для размещения корней
растений, в пределах 10…20 % в зависимости от шага посадки леса. Это означает,
что не менее 80 % энергии при образовании борозды затрачивается впустую, а
точнее приводит к неоправданному износу машины вследствие трения о почву.
Соответственно возрастает вероятность нарушения технологического процесса по
условиям встречи с препятствиями.
Бытует мнение, что препятствия на пути
сошника следует удалять, например – корчевальными машинами. Это создает новые
противоречия: экономическое, т. е. резкое увеличение затрат, и экологическое,
которое выражается в выносе плодородной почвы за пределы рядов создаваемых
культур.
Единственным и логичным выходом из
указанных тупиков является создание лесопосадочных машин, для которых среда
препятствий на вырубке является естественной, не требующей изменений. Этому
удовлетворяют рабочие органы, используемые на машинах этого типа, которые
образуют в почве точечные посадочные места, минимально необходимые для
размещения корневой системы растений.
Точечный принцип посадки леса был давно
известен, и по настоящее время реализуется ручными инструментами типа меча
Колесова, мотыги, трубы Потти Путтки и др.
Недостатками ручной посадки являются наличие физических затрат
труда, тяжесть труда, и связанная с
этим низкая производительность
Для механизации лесопосадочных работ был
создан лункообразователь Л-2У с динамическим рабочим органом для посадки лесных
культур на нераскорчеванных вырубках. Испытания этой машины показали, что в режиме разделения
механического образования лунок и ручного внесения в них растений эффективность
посадки леса повышается [2].
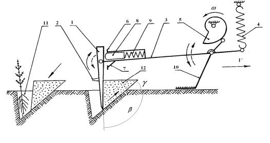
Схема динамического лункообразователя и
способ посадки леса представлены на рис. 1.

Рис.1 . Динамический лункообразователь для лесных
культур:
1 –
игла, 2 – ограничитель заглубления, 3 –
качающийся рычаг, 4 – пружина регулятора энергии, 5 – кулачковый механизм, 6 –
верхний ограничитель поворота иглы, 7 – нижний ограничитель, 8 – ползун, 9 –
пружина ползуна, 10 – лыжа, 11 – лунка, 12 – комок почвы для заделки корней
растений.
Агрегат в составе трактора класса тяги 14-30
кН и навесного лункообразователя Л-2У перемещается по вырубке. От вала отбора
мощности трактора через карданную передачу и червячный редуктор приводится в
действие кулачковый механизм 5. Качающийся рычаг 3 под действием кулачкового
механизма поднимается в верхнее положение, при этом пружина 4 запасает
потенциальную энергию. При срабатывании кулачкового механизма рычаг с
закрепленной на нем шарнирной иглой 1 падает вниз под действием энергии
пружины и рабочий орган (игла)
углубляется в почву на глубину, регулируемую ограничителем заглубления 2. При
движении агрегата и подъеме качающегося рычага из грунта выдвигается комок
почвы и образуется посадочная лунка 11, в которую впоследствии сажальщик
опускает саженец растения. Установка лункообразователя относительно поверхности
почвы по высоте осуществляется при помощи опорной лыжи 10.
Игла внедряется в почву под заданным углом
, далее происходит
сдвиг почвы под стабильным углом
по ходу движения, и
ее ограниченное программой работы кулачкового механизма перемещение на край лунки.
Утверждение о стабильной величине угла
справедливо, если
значение величины угла
колеблется
относительно указанной выше величине угла
1,35 рад (770), установленной в эксперименте опытным путем, с
учетом погрешностей [3]. Эти погрешности
вызваны изменением высоты оси подвеса качающегося рычага над поверхностью почвы при переезде лыжей через препятствия или в условиях выраженного
микрорельефа.
При произвольном увеличении угла
путем конструктивных
изменений машины характер деформации
почвы, особенно гумусной, может измениться. Вместо сдвига призмы может
произойти смятие почвы передней гранью иглы, что нежелательно для заделки
корней высаживаемых вручную растений. При полностью механизированной
посадке сдвиг призмы, наоборот, не желателен, т.к. может вызвать наклон
растения вперед под действием усилия со стороны заделывающего рабочего органа машины.
Вероятность нарушения технологического
процесса может достигать 30% и более, в зависимости от типа лесной площади,
пнистости и каменистости почвы. В таких условиях целесообразно разделить
процесс подготовки лунок и процесс посадки. Посадку предпочтительно выполнять
вручную с отбраковкой некачественных лунок и подсортировкой посадочного
материала. Сажальщики перестают быть
придатками посадочного аппарата машины, работают в индивидуальном темпе с
высоким качеством и минимальными энергозатратами.
Работа по совершенствованию
лункообразователя Л-2У продолжается. Для расширения технологических
возможностей на него смонтированы устройство для минерализации почвы и
высевающий аппарат для строчно-луночного посева семян.
Усовершенствованный лункообразователь
может быть использован для посадки леса, посева и содействия естественному
лесовозобновлению.
Вывод:
Динамический
лункообразователь типа Л-2У позволяет механизировать трудоемкие работы по
подготовке почвы для посадки растений, посева и содействие естественному лесовозобновлению.
Литература:
1.
Цыпук, А. М. Повышение
эффективности лесовосстановительных работ ресурсосберегающей технологией: Дис.
… д-ра техн. наук / ПетрГУ. СПб., 1996. 299 с.
2.
Цыпук,А. М. Применение
лункообразователя Л-2У в лесовосстановлении / А. М. Цыпук, А. В. Родионов, А.
Э. Эгипти // Лесное хозяйство. 2006. № 1. С. 42–43.
3.
Цыпук А.М. Оптимизация угла внедрения
рабочего органа лункообразователя при образовании лунок в почве / А.М. Цыпук, А.Э. Эгипти // Лесотехнический журнал.
2011. . № 3. С. 119-123.