Технические науки/2. Механика
Аспирант Агарков А.М.,
студент Краснов В.В., студент Локтионов
И.С.
Белгородский государственный
технологический
университет им. В.Г. Шухова, Россия
Расчет объёмов аспирируемого воздуха
Используя динамический подход к определению объемов эжектируемого воздуха, изложенный в работах О.Д. Нейкова, И.Н. Логачева и В.А. Минко, а также результаты проведенных аналитических и экспериментальных исследований аэродинамики рециркуляционных систем была разработана методика расчета объёмов аспирируемого воздуха, позволяющая учесть как влияние перегружаемого материала, так и подачу рециркуляционного потока, на процесс движения эжектируемого воздуха в перегрузочном желобе.
Основу предлагаемой методики составляют известные расчетные зависимости объемов эжектируемого воздуха для обычных аспирационных систем (АС), важнейшим параметром которых является суммарный КМС тракта "вернее укрытие – желоб – нижнее укрытие". В нашем случае воздействие рециркуляционного потока на процесс эжектирования учитывается выражением (4.8).
Исходными данными при выполнении расчета являются.
1. Характеристика перегружаемого материала: расход Gм; плотность rм; гранулометрический состав, определяемый ситовым методом.
2. Характеристика перегрузочного узла: схема узла с углами наклона желоба к горизонту и высотами падения материала; площадь поперечного сечения желоба Sж; тип аспирационного укрытия; площади неплотностей верхнего Fву и нижнего Fну укрытий.
Расчет объёмов аспирации ведется в следующей последовательности.
1. Рассчитывается скорость потока перегружаемого материала при выходе из желоба Vк в нижнее укрытие путем последовательного расчета движения материала на всех прямолинейных участках желоба:
а) для вертикальных участков
Vk =
Ö Vн 2 + 2gh
,
(1)
б) для наклонных участков
Vk
= Ö (Vн sina)2 +2
gh(1-0,5×ctga)
,
(2)
где h – высота падения материала;
Vн – скорость движения материала в начале желоба;
a – угол наклона желоба к горизонту.
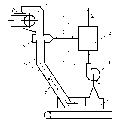
Для перегрузочного желоба изображенного на рис. 1. скорость Vк будет определяться следующим образом:
а) скорость в начале желоба
Vн = Vк1 =Ö 2 g h1
, (3)
б)
скорость на выходе из вертикального участка желоба
Vк2 = Ö V1 2 + 2gh22 , (4)
в) скорость в конце желоба
Vк = Vк3 = Ö (Vк2×sina ) 2 + 2g×h3 (
1 – 0,5×ctga ) . (5)
2. Объемная концентрация частиц материала в желобе
b = 2 Gн / (rм Sж (1+ n) Vк ) , (6)
где n = Vн / Vк – отношение скоростей потока частиц в начале и конце желоба.
3. Средний диаметр частиц перегружаемого материала, мм
d = 0,01
Ni × di , (7)
где Ni – процентное содержание (по массе) частиц диаметром di .
Если d £ 14,6b 0,5, то следует принять в качестве расчетного среднего диаметра d = 14,6 b 0,5.

Рис. 1. Схема рециркуляционной системы аспирации перегрузочного узла: 1 – верхнее укрытие; 2 – желоб; 3 – пылеконцентратор; 4 – вентилятор; 5 – нижнее укрытие; 6 – воздушный затвор
4. Сумма коэффициентов местных сопротивлений желоба и укрытий аспирационной системы
åx = xж + xну + xвз + ( 1 - q )2 × xву , (8)
где xж , xвз , xну , xву – КМС желоба, воздушного затвора, нижнего и верхнего укрытий, q – относительный расход рециркуляционного воздуха.
Для вертикальных желобов xж = 1,5, для желобов с наклонным участком xж=2,5.
Для укрытий с жесткой внутренней перегородкой величина xну зависит от отношения площади поперечного сечения желоба к площади перегородки Sж / Sп и отношения высоты перегородки к высоте укрытия Нп / Ну. Значение xну для укрытий данного типа представлены в табл. 1. Для укрытий без внутренней, жесткой перегородки xну = 0 .
Величина xву рассчитывается исходя из площадей желоба Sж и неплотностей верхнего укрытия Fву
xву = 2,4 ( S ж / Fву )2 . (9)
Значение xвз зависит как от относительного расхода рециркуляционного воздуха q (рис. 2), так и от отношения площадей щели воздушного затвора и желоба f = Sвз /Sж .
Как показали проведённые исследования одним из параметров, существенно влияющих на гидравлическое сопротивление тракта "верхнее укрытие – желоб – нижнее укрытие", а следовательно, и на аэродинамические характеристики АС с принудительной рециркуляцией, является относительный расход рециркуляционного воздуха q .
Величина q должна обеспечивать наименьшие объёмы эжектируемого воздуха и выброса аспирационной системы. Порядок определения оптимальной величины q будет рассмотрен несколько ниже.
Таблица 1.
Значения xну для укрытий с двойными стенками и внутренней перегородкой
|
Sж/S п |
Нп
/ Ну
|
||||
|
0,1 |
0,2 |
0,3 |
0,4 |
0,5 |
|
|
1,0 0,8 0,6 0,4 0,2 0,1 |
193 124 69,5 30,9 7,72 1,93 |
44,5 28,5 16,0 7,12 1,78 0,45 |
17,8 11,4 6,41 2,84 0,71 0,18 |
8,12 6,19 2,92 1,3 0,32 0,08 |
4,02 2,57 1,45 0,64 0,16 0,04 |
4. Коэффициент лобового сопротивления частицы
y = 1,8 exp [-1,8( b × 103 ) 0,5 / d ] . (10)
5. Число Бутакова – Нейкова
Вu = 1,5y× Vк × Gм / (g × d ×10-3 × rм × Sж × å x ) . (11)
По формуле (4.11) вычисляется число Вu для вертикальных и желобов с преобладанием вертикальных участков. Для наклонных желобов ускорение свободного падения g в данном выражении необходимо заменить на ускорение движения материала
а = g× sina (1- fтр× ctga ) , (12)
где fтр » 0,5 – коэффициент трения материала о днище желоба.
6. Значение критерия Эйлера
Eu = 2Pу / rв× Vк2×åx , (13)
где Ру – величина разряжения в нижнем укрытии,
rв – плотность аспирируемого воздуха.

Рис. 2. Поля значений КМС воздушных затворов и величины q×(2-q)×xву
При аспирации технологического оборудования, обладающего вентилирующей способностью (валковые и молотковые дробилки, дезинтеграторы), к разряжению в укрытии необходимо добавить величину давления Роб, развиваемого рабочими органами оборудования. Выражение (13) в этом случае примет следующий вид
Eu = 2( Pу + Pоб ) / rв × Vк2 ×åx . (14)
7.
При найденных числах Ви и Еи коэффициент скольжения
компонентов для равномерно ускоренного потока частиц определяется по формуле
j = Ö 0,33 Ви [|1-j|3 - | n -j |3] + Еи . (15)
Решение данного уравнения можно найти методом последовательных приближений, полагая в качестве первого приближения
j1 = 0,5 [0,5 ( 1+ n ) + Еи0.5] . (16)
Если
окажется, что j1 < n, то величина j
определяется решением квадратного уравнения (полученного из (15), опуская знаки
абсолютной величины и раскрывая скобки):
j = Ö [ b/(2a) ]2 + c/a
- b/(2a) , (17)
где: а = 1 - Вu (1 - n) ; (18)
b = (1 + n 2)
× Вu ; (19)
c = Eu + Вu × (1-
n3) / 3 . (20)
8. Расход воздуха, поступающего в нижнее укрытие по желобу
Qж = j × Vк× Sж × (1- b )2 , (21)
9. Расход воздуха, поступающий в нижнее укрытие через неплотности
Qн = 0,65× FнуÖ 2×Pу /rв , (22)
где Fну – площадь неплотностей нижнего укрытия.
10. Расход аспирируемого воздуха
Qа= Qж + Qн , (23)
11. Расход воздуха в линии рециркуляции аспирационной системы
Qр= q × Qж , (24)
12. Расход воздуха, поступающий через неплотности верхнего укрытия
Qву = (1- q)× Qж , (25)
должен предотвращать возможность выбивания пыли через неплотности
Полученные расходы воздуха в трубопроводах АС позволяют произвести их гидравлический расчёт.
Величина давления, затрачиваемого на преодоление гидравлического сопротивления линии рециркуляции, включающего сопротивление распределителя рециркуляционного потока, определяется аэродинамическими характеристиками, применяемого пылеконцентратора и величенной потерь давления в трубопроводе выброса аспирационной системы.
Как
отмечалось выше, одним из важнейших компонентов расчета объёмов аспирации АС с
принудительной рециркуляцией является оптимальная величина относительного
расхода q.
Снижения объемов эжекции за счет роста гидравлического сопротивления желоба на величину, обуславливаемую действием воздушного затвора, можно записать следующим образом
xвз - q×(2- q)×xву = Dx , (26)
где Dx – разность суммарных КМС рециркуляционной и обычной АС.
Величину Dx можно определить при помощи полей значений КМС воздушных затворов и величины q× (2- q)×xву (рис. 2).
Анализ выражений (21), (15), (13) и (11) показывает, что наибольшее снижение объемов эжектируемого воздуха Qж будет иметь место при максимально-возможной положительной величине Dx . Причем указанный максимум имеет место при минимальных значениях относительного расхода q (рис.2.).
С другой стороны снижение q влечет за собой повышенный выброс в атмосферный воздух
Qв = (1- q)× Qж + Qн , (27)