К.т.н. Андрусенко О.Е., к.т.н. Андрусенко С.Е., к.т.н. Колыванов
В.В.
ФБОУ ВПО «Волжская государственная академия водного
транспорта»
Этапы развития сцепных автоматических замков типа Р-20
ООО «НПО «ГЦКБ
Речфлота» в настоящее время планирует освоение производства сцепного
автоматического замка Р-20Т-6 четвертого поколения, которому предшествовали
замки Р-20МП-4, Р-20МП-5, Р-20Т-5 двухклешневого типа производства Калачевского
ССРЗ Волго-Донского Речного Пароходства, г. Калач-на-Дону Волгоградской области.
Замки сцепные
автоматические типа Р-20 предназначены для установки на толкачи мощностью до
220 кВт и баржи грузоподъемностью до 1000 тонн в целях осуществления сцепки
судов, имеющих на корме вертикальную сцепную балку из железнодорожного рельса
Р-50 ГОСТ 7174 в толкаемые составы, работающие в бассейнах разряда «Р» и «Л»
Российского Речного Регистра в условиях умеренного климата (исполнение «У») на
открытом воздухе (категория I) по ГОСТ 15150 при высоте волны не более 1,2 м.
Толкаемые составы
могут быть сухогрузными и нефтеналивными, перевозящими грузы III и IV классов. При
этом общая грузоподъемность состава, учаленного на автосцепе, может быть не
более 2000 тонн.
При разработке
автосцепа четвертого поколения учитывалось, что его установка на толкачах и
баржах должны соответствовать типовым схемам установки автосцепов группы А,
рекомендованной альбомом ОРФ 4.045-2 [1] (см. рис. 1).
Базовым вариантом
приведенного ряда сцепных замков является серийно выпускаемый Калачевским ССРЗ
сцепной автоматический замок Р-20МП-4 (рис.2).
У эксплуатирующихся в
Волго-Донском и Сухонском пароходствах замков Р-20МП-4 был выявлен ряд
недостатков в работе и стабильно повторяющиеся поломки корпуса головки замка:
разрушались верхняя и нижняя стенки.
При исследовании
эксплуатировавшихся сцепных замков Р-20МП-4 на Калачевском ССРЗ и Вологодском
ССРЗ было установлено, что поломка корпусов происходила в результате
динамической нагрузки, возникающей при навалах на причальные стенки или при
заходе в шлюзы. Кроме того, поломки происходили и во время работы сцепного
замка при волнении. Во всех этих условиях возникала перегрузка замка.
|
|
Рис. 1. Схема установки сцепного замка
группы А: 1 – замок, 2 – упор; 3 – балка сцепная. Рис. 2. Замок сцепной автоматический
Р-20МП-4 |
|
По характеру разрушения
корпусов автосцепов было установлено, что для снятия динамической нагрузки
требуется установка продольного амортизатора с поглощающей способностью около 1
тс×м и введение возможности поворота головки замка при качке. В качестве
демпфирующего элемента продольного амортизатора было решено применить тарельчатые
пружины, освоение производства которых планировалось на Калачевском ССРЗ.
Были также проведены
исследования на надежность сцепки судов с использованием применяемой в
эксплуатации сцепной балки по проекту 943АУ. При проведении пробной сцепки
судов выяснилось, что скосы зева корпуса замка упираются в пятку сцепной балки.
Для устранения этого явления верхняя и нижняя стенки корпуса в районе перехода
в зев корпуса были подрезаны. Сцепка стала обеспечиваться, но клешни замка в
открытом положении стали выходить за габариты корпуса, мешая заходу балки в
замок и препятствуя проведению сцепки.
По результатам
проведенных исследований Минречфлот в 1979 г. включает в план работы Горьковского
Центрального Конструкторского Бюро корректировку конструкции сцепного замка и
сцепной балки. В результате корректировки была разработана новая конструкция
сцепного замка, получившая обозначение Р-20МП-5 (рис. 3). Она была во многом изменена
по сравнению с базовым аналогом Р-20МП-4 Калачевского завода.
|
|
|
Рис. 3. Замок сцепной автоматический
Р-20МП-5 |
Для новой модификации
сцепного замка использовались конструкторская документация на замок О-20М,
изготовленного заводом «Теплоход» (г. Бор Нижегородской области) в количестве
3-х штук в 1966 г. для установки на ледокольных судах с ледоразрушающей
приставкой. Учитывались также производственные возможности Калачевского ССРЗ и
его многолетний опыт изготовления автосцепов типа Р-20МП.
В результате использование
большого количества деталей замка О-20М уровень унификации замка Р-20МП-5
составил 67,2% – в конструкции замка количество новых деталей составило 19
штук, а заимствованных – 58. Но уровень унификации с базовым сцепным замком
Р-20МП-4 не рассматривался, хотя производство было сохранено за Калачевским заводом.
Это обстоятельство не позволило оперативно наладить их серийное производство,
так как потребовалось изготовление специальной оснастки.
Проведенные расчеты
прочности основных деталей замка показали, что по прочности все разработанные
узлы удовлетворяют требованиям, предъявляемым к сцепным устройствам, изложенным
в Правилах Речного Регистра том 4, часть III. Также была подтверждена
возможность открытия замка, находящегося под рабочей нагрузкой в 20 тс.
В новой конструкции
обнаружился существенный недостаток. Для открытия замка требовалось усилие на
вертикальном удлинителе рычага равное 575 Н, что значительно превышало усилие
160 Н, регламентируемое Российским Речным Регистром [2].
В 1980 г. Калачевский
ССРЗ изготовил два опытных образца нового замка.
Дальнейшее
совершенствование конструкции замка было направлено на выполнение требований Российского
Речного Регистра о возможности дистанционного открывания замка из рулевой рубки
судна [2].
С этой целью в
конструкцию замка вместо махового колеса был введен пневмоцилиндр, подачей
воздуха в который осуществлялось его открытие из рулевой рубки.
Новая модификация
замка получила обозначение Р-20Т-5 (рис. 4) и была утверждена в 1981 г.
Конструкция замка
Р-20Т-5 была разработана ЦКБ НПО «Судоремонт» г. Н. Новгород. При разработке
конструкции сцепного замка использовались авторские свидетельства №144417 «Автоматическое
сцепное устройство с носовыми упорами для кильватерных составов судов озерного
плавания» [4] и № 144418 «Сцепной замок автоматических сцепных устройств
кильватерных составов судов речного плавания» [5]. Клешни замка были спрофилированы
для сцепки с железнодорожным рельсом
Р-50 ГОСТ 7174.
Изготовителем замков
остался Калачевский ССРЗ. Опытный образец замка был установлен на толкаче
проекта Р162 в 1980 г. Серийное изготовление сцепных замков было начато в 1982
году.
Сцепной замок состоял
из следующих основных узлов: головки замка с клешнями, запорными кулачками и
продольным амортизатором; ручной лебедки для местного открытия замка; пневмоцилиндра
для дистанционного открытия замка; корпуса замка; трещотки для изменения вылета
головки замка при сцепке.
|
|
|
Рис. 4. Замок сцепной автоматический
Р-20Т-5: 1 – корпус; 2 – клешня; 3 – кулачок
запорный; 4 – втулка оси клешни внутренняя; 5 – втулка оси клешни наружная; 6
– втулка кулачка; 7 – пружина; 8 – кожух; 9 – тяга; 10 – рычаг; 11 – ось; 12
– шток замка; 13 – хвостовик; 14 – корпус; 15 – амортизатор; 16 – крышка; 17
– планка; 18 – шток амортизатора; 19 – гайка; 20 – гайка концевая; 21 – подпятник;
22 – кольцо опорное; 23 – крышка; 24 – трещотка; 25 – пневмоцилиндр; 26 –
ролик; 27 – трос; 28 – кожух; С и М – точки смазки замка солидолом и жидким
маслом. |
С целью уменьшения
усилий на рычаге открытия замка в его конструкцию в 1985 году были внесены
следующие изменения: был уменьшен диаметр кулачка при измененных плечах тяги и
горизонтальном расположении удлинителя рычага. При этом усилие открытия замка
составило 254 Н. С учетом того, что по требованиям Российского Речного Регистра
в качестве наибольшего разового усилия, прилагаемого к расцепляющему устройству
одним человеком в вертикальном направлении, допускается до 490 Н, сцепной замок
был допущен в эксплуатацию.
В связи с требованиями
Российского Речного Регистра о повышении надежности работы замка и его
долговечности, а также улучшении и стабильности работы дистанционного
управления замком, в дальнейшем потребовалась доработка конструкции замка под требования
эксплуатации речных судов. Кроме того, возникла и потребность в уменьшении
усилия открытия замка с целью улучшения условий труда на речном транспорте [3].
Необходимость такой
разработки возникала также из того, что в настоящее время практически полностью
нарушено изготовление сцепных замков на судостроительных и судоремонтных
заводах, хотя потребность в таких замках существует. В эксплуатацию действующих
судов и на комплектацию вновь строящихся поступают отремонтированные старые
замки, исчерпавшие сроки своей эксплуатации. Кроме того, на вновь строящиеся
суда поступают замки импортного производства, более дорогие по условиям
поставки.
Поэтому целью
разработки усовершенствованной модели автосцепа, удовлетворяющей современным
требованиям Российского Речного Регистра и Правил безопасности труда на судах
речного флота явилось повышения надежности и долговечности его работы, а также
возможности обеспечения максимальной дистанционности. Согласно п. 5.3.2 раздела
5 части III Правил Российского Речного Регистра: «Сцепка должна осуществляться
с местного поста управления или дистанционно из ходовой рубки толкача», т.е.
пневматическим или электрифицированным способом.
Новая модификация
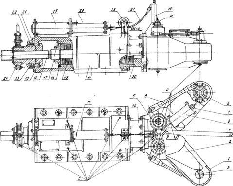
замка четвертого поколения получила обозначение Р-20Т-6 (рис. 5).
Замок состоит из
следующих основных элементов: подвески замка с амортизатором; головки замка с
механизмом открытия; редуктора с механизмом выдвижения головки.
|
|
|
Рис.5. Замок сцепной автоматический
Р-20Т-6: 1 – корпус головки замка; 2 – клешня; 3
– кулачок запорный; 4 – ось клешни; 5 – пневмоцилиндр; 6 – тяга; 7 – конечный
выключатель; 8 – шток замка; 9 – ось; 10 – защелка клешни (зуб); 11 – корпус
подвески замка; 12 – амортизатор; 13 – крышка; 14 – муфта предохранительная;
15 – шток амортизатора; 16 – гайка ходовая; 17 – кольцо бронзовое; 18 –
кольцо опорное» 19 – редуктор; 20 – мотор-редуктор; 21 – пружина; С и М –
точки смазки замка солидолом и жидким маслом. |
Технические
характеристики эксплуатирующихся и вновь осваиваемого замков представлены в
табл. 1.
Табл.1.
|
Наименование характеристики |
Значения
для замков |
||||
|
Р-20МП-5 |
Р-20Т-5 |
Р-20Б-5 |
Р-20Т-6 |
Р-20Б-6 |
|
|
Рабочая нагрузка (усилие, растягивающее
вдоль оси замка), кН |
200±20 |
200 |
200 |
200±20 |
200±20 |
|
Допускаемый относительный крен судов,
градус |
15±2 |
± 15 |
± 15 |
± 15 |
± 15 |
|
Допускаемый относительный дифферент
судов, градус |
8±1 |
± 8 |
± 8 |
8±2 |
8±2 |
|
Изменение вылета головки замка от
расчетного, мм: - вперед - назад |
50±5 50±5 |
50 50 |
50 50 |
50±5 50±5 |
50±5 50±5 |
|
Амортизатор замка: - усилие сжатия, кН - ход амортизатора при рабочей
нагрузке, мм |
165 42 |
290 23 |
290 23 |
290 23±3 |
290 23±3 |
|
Привод механизма изменения вылета
головки замка |
ручной |
ручной |
ручной |
электрифицированный |
|
|
Привод механизма открытия замка |
-
ручной -
лебедкой дистанционно |
-
ручной - пневматический |
ручной |
-
ручной - пневматический |
ручной |
|
Усилие открытия замка вручную, Н |
575 |
254 |
254 |
160 |
160 |
|
Давление воздуха в пневмоцилиндре при
открытии замка под рабочей нагрузкой, МПа не более |
1,0 |
1,0 |
- |
1,0 |
- |
|
Масса замка, кг не более |
620 |
700 |
680 |
800 |
774 |
|
Срок службы до капитального ремонта,
лет не менее |
6 |
6 |
6 |
8 |
8 |
|
Срок службы до списания, лет не менее |
12 |
12 |
12 |
16 |
16 |
В отличие от своих
предшественников, автоматический сцепной замок имеет не только одно клешню, но
также электро-моторный дистанционный привод перемещения головки замка при его
сцепе, что позволяет устранить ручной труд плавсостава в зоне повышенной опасности
палубы судна.
Одноклешневая
конструкция замка позволяет также уменьшить количество сопрягаемых изнашиваемых
частей замка и сократить расходы на ремонт замка и количество запасных частей,
что обеспечивает повышенный срок службы изделия до капитального ремонта и
списания.
ЛИТЕРАТУРА
1. Альбом
«Сцепные устройства» ОРФ 4.045-2. ЦКБ НПО «Судоремонт». Н. Новгород, 2002. -
119 с.
2. Российский
Речной Регистр. Правила. Т.4. М., 2008 – 317 с.
3. Правила
безопасности труда на судах речного флота. Л, Транспорт, 1988.
4. Описание
изобретения к авторскому свидетельству №144417 «Автоматическое сцепное
устройство с носовыми упорами для кильватерных составов судов озерного плавания».
Заявлено 9 января 1961 г.
5. Описание
изобретения к авторскому свидетельству №144418 «Сцепной замок автоматических
сцепных устройств кильватерных составов судов речного плавания». Заявлено 9
января 1961 г.