Технічні науки/4.Транспорт
Інженер Груник І.С.
ДТГО «Львівська залізниця», відокремлений
підрозділ «Рівненська дирекція залізничних перевезень», Україна
Дослідження
ресурсу моторно-осьових підшипників локомотивів із удосконаленою системою
змащення
Згідно проведених раніше досліджень, системи змащення моторно-осьвих
підшипників (МОП) локомотивів ВЛ10, ВЛ11 потребують удосконалення [1], оскільки
вони не забезпечують повною мірою потрібну подачу осьової оливи у підшипник,
крім того осьова олива не містить присадок, що не дозволяє формувати на
поверхнях тертя граничний змащувальний шар з високою несучою здатністю. Аналіз
існуючих досліджень з даної проблеми дозволив визначити напрямок удосконалення
систем змащення МОП який полягає у введенні примусової циркуляції оливи крізь
підшипник, додаванні в оливу протизношувальної присадки та електростатичної
обробки оливи, яка спрямована на руйнування агрегатів присадки та прискоренні
процесу формування граничного змащувального шару [2].
При проведенні означеного комплексного удосконалення МОП виникла
необхідність їх стендових випробувань, метою яких є визначення впливу швидкості
руху локомотиву та температури осьової оливи на ресурс вкладишу при підтримці
раціональних значень напруженості електростатичного поля та концентрації
присадки в осьовій оливі.
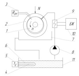
Випробування МОП проводилися на машині тертя СМЦ-2 з модернізованою
системою вимірювання числа обертів та моменту тертя, а також із використанням
регулятора числа обертів двигуна. На рис. 1 зображена схема лабораторної установки
для проведення випробувань.
Попередніми розрахунками встановлено, що при руху
локомотиву із швидкістю меншою за 40 км/год МОП працює в режимі граничного
змащення, тому така швидкість приймається за граничну при проведенні
досліджень.
Температура осьової оливи також суттєво впливає
на зношувальні процеси в МОП. Вона змінюється від -40 ºС на
початковому етапі роботи в зимовий період до +80 ºС при тривалій
роботі локомотиву влітку. Найбільший час МОП працюють при температурах 20…60 ºС,
тому цей діапазон закладений при проведенні досліджень.
1 – ролик; 2 – кільце; 3 – омметр; 4 – термодатчик; 5 – терморегулятор; 6 – нагрівальний елемент; 7 – проміжна ємність; 8 – насосна станція; 9 – пристрій для
електростатичної обробки осьової оливи; 10 – блок живлення; 11 – бак
гідравлічної станції

Рис. 1 – Схема лабораторної установки
Враховуючи наведені вище дані, випробування МОП
на машині тертя проводилися за наступних умов: нормальне навантаження на підшипник N = 405 Н; подача оливи до
підшипника
дм3/хв.;
концентрація присадки в оливі с =
0,4 %; напруженість поля ЕЗОВ
= 0,75·106 В/м; швидкість руху локомотиву VЛОК від 10 км/год до 40 км/год, що відповідає лінійній
швидкості ковзання vl =
0,45…1,82 м/с та числу обертів ролика моделі np = 172…695 хв-1; температура осьової оливи ТО = 20…60 ºС. У випробуваннях
виконувались виміри моменту тертя в моделі МОП, інтенсивність зношування та
ресурс МОП розраховувались по залежностям, наведеним в роботі [3]. При
плануванні досліджень був обраний ортогональний план двохфакторного
експерименту.
По результатах випробувань побудовані рівняння регресії для коефіцієнту
тертя та інтенсивності вкладишу МОП. Ці рівняння описують закономірність впливу
швидкості руху локомотиву та температури осьової оливи на процес тертя
модернізованого МОП:
. (1)
. (2)
Тоді, ресурс модернізованого МОП у функції
швидкості руху локомотива та температури оливи визначиться за наступною
залежністю
. (3)
Шлях тертя в МОП за одну годину (Lf, м/год) залежить від
розподілу швидкості руху локомотиву у часі та визначається за формулою
, (4)
де
– середня швидкість
локомотива на ділянці, км/год;
– доля часу роботи
МОП в режимі граничного змащення, тобто при швидкості руху локомотива менше
40 км/год; φ0 –
кут обхвату вкладишу.
Результати розрахунку ресурсу МОП в залежності від руху локомотиву наведені
на рис. 2. Вихідні дані для розрахунку:
= 55 км/год;
= 0,1; К1 = 67,62; φ0 = 5,75°; ТО = 20, 40, 60 °С; VЛОК = 10…40 км/год.
Як видно з рис. 2, ресурс МОП
суттєво залежить від швидкості руху локомотиву при граничному змащенні.
Найменші значення ресурсу знаходяться в діапазоні швидкостей від 20 км/год до
30 км/год. При малих швидкостях, біля 10 км/год ресурс максимальний, оскільки
шлях тертя підшипнику найменший та, згідно експериментальних випробувань,
інтенсивність зношування має нижчі значення для досліджуваного діапазону.
1 – ресурс, розрахований по
залежності (3); 2 – теоретичний ресурс,
розрахований для модернізованого МОП; 3 – теоретичний ресурс,
розрахований для традиційного МОП 3 1 2 Тр, год ТО, °С VЛОК, км/год

Рис. 2 – Зміна
ресурсу МОП в залежності від швидкості руху локомотиву та температури осьової
оливи
Зростання ресурсу на швидкостях
близьких до 40 км/год пояснюється наближенням до гідродинамічного змащення МОП.
В цілому, проведена модернізація системи змащення МОП локомотиву ВЛ11М дозволяє
підвищити їх ресурс в 2…3 рази, в залежності швидкісного режиму роботи.
Література:
1. Шапошников Г.В. Исследование работы
моторно-осевых подшипников локомотивов при ограниченной подаче смазки / Г.В.
Шапошников // Труды РИИЖТ. – Ростов
н/Дону, 1977. – № 138.
– С. 62 – 73.
2. Лысиков Е.Н., Косолапов В.Б., Воронин С.В. Надмолекулярные структуры жидких смазочных сред и их влияние на износ технических систем. – Харьков: ЭДЭНА, 2009. – 274 с.
3. Voronin S.V. Increase in resource of slider bearings by means of
formation intensification of boundary lubricating layer/ Voronin S.V., Grunyk
I.S., Tkach V.V.// Nauka i studia: Przemysl, 2013. – № 7(75).
p. 18 – 31.