Карачун В.В.
Національний технічний університет України «КПІ»
ВПЛИВ ФОРМИ ЦИРКУЛЯЦІЙНОЇ ТРУБИ НА
ІНТЕНСИФІКАЦІЮ БАРБОТУВАННЯ
Конструкція відноситься
до біотехнології, а саме до газліфтних барботажних апаратів і може бути
використана для вирощування мікроорганізмів та виробництва біологічно активних
речовин.
Відомий
газліфтний барботажний апарат (ГБА) для вирощування мікроорганізмів, який
містить циліндричний корпус з технологічними патрубками і розміщеними в його
порожнині проникаючими поперечними перегородками, розташовані зовні корпусу
циркуляційні труби і дисковий аератор [А.с. СССР № 1774654, С12М1/04, 1994].
Недолік цього
ГБА полягає у відносно великих габаритах та матеріалоємності внаслідок
зовнішнього розташування циркуляційних труб.
Найбільш
близьким до пропонуємої конструкції за технічною суттю та досягаємим ефектом є
ГБА, який містить вертикально розташований корпус з технологічними патрубками і
розміщену в порожнині корпусу циркуляційну трубу з зовнішньою поперечною
гвинтовою перегородкою (патент України на корисну модель № 40230, С12М1/04,
2009).
Недолік цього
ГБА полягає у відносно низькій продуктивності внаслідок пасивного премішування
(масообміну), обумовленого незмінними площами поперечних перерізів потоків, а
отже, і незмінними швидкостями переміщення в них робочої рідини по їх довжині
та відсутності перетікання часток ії об’ємів через стінку перегородки.
В основу конструкції
поставлена задача підвищення продуктивності ГБА, в якому шляхом зміни форми
циркуляційної труби та її перегородки забезпечується зміна швидкостей
переміщення потоків робочої рідини по їх довжині з одночасним перетіканням їх
часток через гвинтову перегородку, що інтенсифікує процес перемішування, а це
прискорює ріст мікроорганізмів і слугує зростанню продуктивності.
Поставлена
задача вирішується тим, що в ГБА, який містить вертикально розташований
циліндричний корпус з технологічними патрубками і розміщену в порожнині корпусу
циркуляційну трубу з зовнішньою гвинтовою перегородкою, згідно корисної моделі
новим є те, що циркуляційна труба виконана в формі зрізаного конуса, більша
основа якого розташована над дном корпусу, а її гвинтова перегородка має
перфоровану поверхню (рис. 1, рис. 2).
Надання
циркуляційній трубі форми зрізаного конуса та виконання гвинтової перегородки
перфорованою, замість суцільної, забезпечують переміщення робочої рідини в
потоках із змінними швидкостями по їх довжині та додаткове переміщення через
перфораційні отвори перегородки, що відсутнє в найближчому аналозі, а це інтенсифікує
процес перемішування, а, отже, прискорює ріст мікроорганізмів і приводить до
зростання продуктивності.
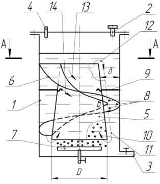
ГБА містить
вертикально розташований циліндричний корпус 1 з патрубком 2 для введення
живильної рідини і посівного матеріалу (робоча рідина), патрубок 3 для
видалення культуральної рідини та патрубок 4 для відведення відпрацьованого
газу. В порожнині корпусу 1 вздовж його осі встановлена циркуляційна труба 5 з
зовнішньою гвинтовою перегородкою 6 та розміщений під нею аератор 7.
Циркуляційна труба 5 виконана у вигляді зрізаного конуса, більша основа якого
діаметром Д розташована над дном
корпусу 1, а гвинтова перегородка 6 виконана перфорованою отворами 8. Від
зміщень в корпусі 1 циркуляційна труба 5 зафіксована, наприклад, радіально
вгвинченими шпильками 9, або іншим відомим способом (не показано).
Працює ГБА
наступним чином.
У попередньо
простерилізований корпус 1 крізь патрубок 2 вводять робочу рідину, після чого в
аератор 7 подають стиснений газ (повітря), який у вигляді численних бульбашок 10
надходить в трубу 5 і утворює з робочою рідиною рідинноповітряну суміш, яка
набагато легша від робочої рідини, що знаходиться в зазорі “
” між трубою 5 і корпусом 1. Різна щільність (питома вага)
робочої рідини в середині циркуляційної труби і навколо неї породжує висотну
циркуляцію 11 рідинного середовища в корпусі 1. Циркуляція робочої рідини
відбувається до тих пір, доки повітря надходить в циркуляційну трубу.
Відпрацьоване повітря через патрубок 4 видаляється в навколишнє середовище.
При
циркуляції робоча рідина, яка потоком 12 виходить з труби 5 поділяється
гвинтовою перегородкою 6 на потоки 13, 14 і по зазорам “
” рухається вниз в коловому і осьовому напрямках, що
приводить до її перемішування. При цьому, робоча рідина частково перетікає
через отвори 8 перфорації в перегородці
6 з потоку 13 в поток 14 та, внаслідок конічної форми труби 5, змінює швидкість
руху в потоках, що викликає її додаткове, відсутнє в найближчому аналозі,
перемішування, а, отже, і інтенсифікацію масообміну. Інтенсифікація масообміну
в робочій рідині прискорює ріст мікроорганізмів і приводить до зростання
продуктивності.


Рис. 1 Рис.
2