Гаджиев С.М.
Дагестанский
государственный университет, Россия
Временные и энергетические
характеристики разряда в бинарных смесях дигидрофосфатов натрия и калия
Представляет интерес изучение характера
высоковольтного разряда и его временных и энергетических характеристик в
бинарных смесях протонных твердых электролитов (ПТЭ) дигидрофосфатов натрия и
калия в широком интервале температур. Для этой цели использована импульсная
высоковольтная установка, принцип работы которой описан в работе [1]. Осциллографирование
процесса разряда осуществлялось с помощью двухканального осциллографа
АКТАКОМ с выходом на компьютер, который
записывает осциллограммы тока и напряжения в продолжение импульсного разряда в
исследуемом образце. Осциллограммы показывают, что продолжительность импульсов
составляет несколько десятков микросекунд, что исключает привнесение в
электролит продуктов электролиза и перегрев его в сколько-нибудь заметной
степени. О наличии или отсутствии пробойных явлений можно было судить по
наличию или отсутствию на осциллограммах срыва напряжения и скачка тока.
Крутизна фронта напряжения при разрядах составляла примерно 109 В/с.
Электрический разряд в бинарных смесях ПТЭ
дигидрофосфатов натрия и калия при низких температурах (до 425 К) и плохой
проводимости происходит с пробоем, а
при более высоких температурах - без пробойных явлений с экспоненциальным
стеканием заряда (вплоть до напряжений амплитудой более 5 кВ). Постоянная
времени такой экспоненты зависит от емкости разрядного конденсатора и от общего сопротивления разрядной цепи,
включая электролит (t = R×C).
Характерные осциллограммы тока и напряжения без пробойных явлений и с пробоем в
бинарных смесях дигидрофосфатов натрия и калия
показаны на рис.1.
Рис.1. Характерные
осциллограммы напряжения (кривые 1) и тока (кривые 2) высоковольтного разряда в
расплавах бинарных смесей гидрофосфатов щелочных металлов: а – беспробойный
разряд; б – пробой.
По осциллограммам тока и напряжения через каждые
0,1 мкс были измерены напряжение U(t) и
ток I(t). По ним вычислялось сопротивление R(t) в
процессе разряда. Оно вычислялось как U(t)/I(t),
считая ток квазистационарным. В наших экспериментах, при прочих равных
условиях, вследствие уменьшения сопротивления (роста проводимости) твердого
электролита с ростом напряженности электрического поля (НЭП) это время уменьшается.
Начиная с некоторых величин НЭП, зависящих от природы электролита и
температуры, время разряда остается постоянным, что означает достижение
предельной проводимости. Интересно было проследить, как изменяются
сопротивление электролита, а также мощность, выделяющаяся в канале разряда, в
зависимости от времени в процессе разряда.
Сопротивление
электролита со временем, измеренное по осциллограммам в процессе разряда,
достигает наименьшего значения через 15 – 25 мкс после начала разряда. Время
установления минимального значения сопротивления в канале, при прочих равных
условиях, оказывается зависимым от амплитуды импульсного напряжения,
приложенного к образцу и от температуры и состава электролита. Чем больше
амплитуда напряжения, тем меньше это время.
На рис.2 и 3 приведены изменения сопротивления электролита во времени в
процессе разряда бинарных смесей дигидрофосфатов натрия и калия при отсутствии
пробойных явлений и при пробое.
Рис.2. Изменение
сопротивления смеси Na,K/H2PO4 в процессе
высоковольтного разряда без пробоя: 1 – 0,5Na.0,5K/H2PO4, U=2,4
кВ, Т=528 К (расплав); 2 – 0,15Na.085K/H2PO4, U=2,0
кВ, Т=541 К (ТЭ).

Рис.3. Изменение сопротивления
бинарной смеси твердого электролита 0,5Na.0,5K/H2PO4 в процессе высоковольтного
разряда: 1 – U=2,0 кВ, Т=500 К (без пробоя); 2 – U=2,4 кВ, Т=493 К
(пробой).
Из рис.2 видно, что сопротивление электролита в
процессе разряда уменьшается. Через 20-25 мкс, в зависимости от природы
электролита и температуры, оно достигает наименьшего значения, затем снова
начинает увеличиваться, не возвращаясь к
исходному значению. Это указывает на то, что активация электролита
осуществляется именно в процессе импульсного разряда. Уровень активации тем
выше, чем больше амплитуда импульсного напряжения. Максимальная ВИР – активация
в бинарной смеси 0,5Na0,5K/H2PO4 (наведенная сильным
полем избыточная проводимость) при этом составляет 91 % при Т = 528 К. Такое
активированное состояние сохраняется длительное время со временем релаксации
порядка 104 с. При пробое электролита его сопротивление в процессе
разряда все время уменьшается (рис.3, кривая 2) и достигает минимального
значения (максимальной проводимости) в момент максимального тока. Проводимость
электролита при этом увеличивается в 59 раз, что позволяет утверждать, даже при
пробое электролита электронные процессы исключаются. При включении электронов в
процесс разряда проводимость возрастает на 4 – 5 порядков [2].
Общая мощность и энергия, выделившиеся в канале
разряда, определялись по осциллограммам U(t) и
I(t), причем,

Анализ осциллограмм
показывает, что по мере увеличения амплитуды импульсного напряжения
максимальная скорость изменения (нарастания) тока увеличивается и время
установления максимума тока, (время установления квазистационарного тока)
уменьшается, т.е. смещается к началу процесса, что указывает на существование
некоторого предельно достижимого значения тока в твердых электролитах и
расплавах. Время достижения максимальной мощности, выделяющейся в канале
разряда, незначительно смещается в сторону меньших времен с ростом амплитуды
импульсного напряжения. На рис.4 приведены мощности, выделившиеся в канале
разряда некоторых бинарных смесей дигидрофосфатов натрия и калия.
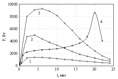
Рис.4. Мощность, выделившаяся в канале разряда:
1- 0,15Na.085K/H2PO4, U=2,0
кВ, Т=541 К; 2,3,4 - 0,5Na.0,5K/H2PO4; U=
2,0 кВ, Т= 500 К; U=2,4 кВ, Т= 528 К; U=2,4 кВ, Т= 493 К (пробой) соответственно.
Максимальная мощность достигается раньше, чем
максимальный ток. Это объясняется инерционностью ионов (по сравнению с
электронами), участвующих в переносе заряда. В данном случае – протонов Н+.
Отношение максимального тока к току, при котором в канале выделяется
максимальная мощность, меняется в зависимости от состава соли в пределах 1,1 –
1,2 и не зависит от приложенного напряжения. Полная энергия, выделяющаяся в
электролитах, оказывается пропорциональной начальной скорости нарастания тока.
Рост крутизны нарастания тока, обусловленный увеличением амплитуды импульсного
напряжения, при неизменных параметрах разрядной цепи приводит к
пропорциональному возрастанию максимальной скорости выделения энергии в канале
разряда. Максимальная мощность, выделившаяся в канале
разряда, в жидкой фазе почти в 2 раза больше (рис.4, кривая 3), чем в твердой
фаза (кривая 2). При пробое мощность плавно возрастает (кривая 4) и достигает
наибольшего значения при максимальном токе (20 мкс после начала разряда).
Эксперименты
показывают, что мощность, выделившаяся
в канале разряда, нелинейно зависит от квадрата амплитуды импульсного
напряжения. Это указывает на зависимость проводимости электролита от
напряженности электрического поля, причем, угол наклона с ростом амплитуды
импульсного напряжения увеличивается, т.е. сопротивление уменьшается, а проводимость
растет (подобно эффекту Вина). Закономерности, наблюдаемые
в процессе разряда при включении тормозного сопротивления, идентичны тем закономерностям,
которые наблюдаются при изменении амплитуды импульсного напряжения в цепи с
неизменными параметрами.
Работа
выполнена при финансовой поддержке РФФИ (№ 12-03-96500 р_юг_а).
Литература:
1. Гаджиев С.М., Шабанов
О.М., Магомедова А.О., Джамалова С.А. -
Электрохимия. 2003. Т. 39. № 10. – С. 1212.
2. Гаджиев С.М., Шабанов
О.М., Гаджиев А.С., Алиева С.С., Эфендиева Г.С. Materiály
IX Mezinárodni
Vědecko-praktická
conference. Dil. 66. Chimie a
chemická technologie. Praha. 2013. Р. 49-51.