К.т.н., доц. Киялбай С.Н., магистр технических
наук Мухаметчанова Д.А, магистрант Патхоллин
Н.Ж.
Казахская автомобильно-дорожная
академия им. Л.Б.Гончарова, Республика Казахстан
УДК 625.721.2
НЕКОТОРЫЕ ВОПРОСЫ ПО УВЛАЖНЕНИИ КОНСТРУКТИВНЫХ СЛОЕВ ДОРОЖНОЙ ОДЕЖДЫ В ЗАСУШЛИВЫХ РАЙОНАХ
КАЗАХСТАНА
Дорожная конструкция, как элемент
окружающей среды, находится под постоянным воздействием природно-климатических
условий, формирующих ее водно-тепловой режим. Воздействие водно-теплового
режима проявляется в попеременном увлажнении и просыхании грунтов земляного
полотна в зависимости от их промерзания и оттаивания, которые влияют на
снижение прочностных свойств дорожной
конструкции. Это особенно опасно в пылевидных супесчаных и лессовых грунтах.
При этом также следует учитывать климатические условия местности. В дорожно-климатических
зонах характерны большие перепады суточной температуры воздуха (в пределах 25-35
оС), изменение водно-теплового режима существенно отличается от
других зон (особенно I-III). Здесь показатель суточного перепада температуры воздуха
сыграет главную роль, и он влияет на снижение прочностных свойств дорожной
одежды и глубину проникновения влаги в ее слои и тело земляного полотна. В
связи с этим Ю.Л.Мотылев /1/ выделяет два основного типа грунтовых вод:
– тип I с максимумом в зимне-весенний период, связанный с
промывкой почвогрунтов, которая как правило производится в феврале-марте,
характерен для территорий, где распространены засоленные грунты;
– тип 2 с максимумом в жаркий период
(июнь-август), обусловленный поливом сельскохозяйственных культур в период их
вегетации или вторым (летним) паводком рек, приурочен к давно орошаемым
территориям, где засоление незначительное и необходимость в промывках полей
отсутствует.
Проведенные
натурные наблюдения, с целью определения причин увлажнения земляного полотна и
конструктивных слоев дорожной одежды в местной сети Кызылординской области, подтвердили
выводы Ю.Л.Мотылева и предложенную им дифференциацию режима грунтовых вод. Почти
вся дорога, исследуемая нами, относится
к 1-му типу (тип 1а) по условиям увлажнения местности. Однако, местами,
где дороги проходят через орошаемую территорию сельскохозяйственных угодий,
наблюдались участки с повышенной влажностью, характерные 3-му типу местности, являющаяся причиной
образования пучин. Здесь почвогрунты, как правило, представлены тяжелыми
разновидностями, т.к. на этих местах обычно культивируется рис, в этом случае
имеет место разновидность 3-го типа – 3 а (рисунок 1).
|
|
Рисунок 1. Характерные
типы режима грунтовых вод на орошаемых территориях Кызылординской области
По
исследованию узбекского ученого, д.т.н., профессора А.Ж. Каюмова /2/, все
орошаемые территории Узбекистана, характерные и для территорий Кызылординской
области, отнесены к постоянно увлажняемым местам. Таким образом, анализ
выделенных типов режима грунтовых вод показывает, что только типы 1, 3
и их разновидности 1а, 3а могут быть отнесены к постоянно увлажняемым
местам. Высокое стояние грунтовых вод охватывает и холодный и теплый период,
причем в холодный период высокое стояние грунтовых вод совпадает с периодом
интенсивных осадков, поэтому в этот период указанные территории на самом деле
являются увлажненными лишь в дни полива, что длится 3-4 дня и повторяется через
10-15 дней.
Результаты анализа показывает, что
атмосферные осадки чрезвычайно неравномерно распределяются в Южной части
Казахстана /3/. Например, среднегодовое количество осадков в Кызылординской
области изменяется в пределах 104-141 мм, в Шымкенте и Таразе – до 320 мм,
в предгорных районах Алматинской
области – от 350 до 581 мм и выше. Показатели среднегодовой относительной
влажности воздуха в этих регионах также не высокие, т.е. их значения колеблется
в пределах от 47 до 59 % в равнинной местности, а в горах до 65 %.
Атмосферные осадки и их испарение являются
элементами геокомплекса, сток и впитывание влаги – источниками увлажнения
дорожной конструкции. В условиях сухого и жаркого климата, испарение является
одним из существенных элементов водного баланса. Такие явления, которые могут
способствовать пучинообразованию конструкции дорожной одежды, часто наблюдаются
на дорогах, проложенных через орошаемые территории.
В
практике водобалансовых исследований для определения испарения пользуются
различными методами, которые делятся на эмпирические, экспериментальные и
балансовые. Все указанные методы непригодны для определения испарения с
дорожной конструкции, ввиду ее ограниченности в поперечном направлении и
отсутствии данных измерений метеорологических показателей над дорогой. Не
рационально также применение метода В.И. Рувинского /4/, поскольку в данном
случае испарение необходимо для установления периода влагонакопления и принятия
решения о целесообразности применения мер регулирования влажности земляного
полотна, для чего требуется высокая точность.
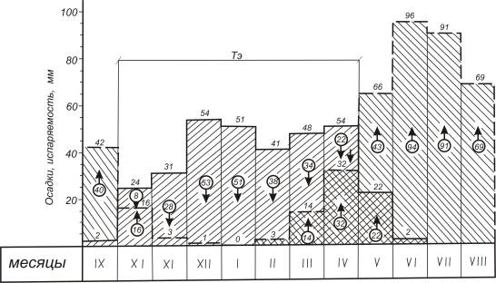
Для исследуемого региона среднемесячные
величины испарения определены, согласно /3/, за период 1995-2008 гг. На рисунке
2 изображено графическое определение периода увлажнения участков дорог, проложенных
через поливные территории, из которого видно, что дорожную конструкцию влияет
разность между осадками и испарением.

Рисунок 2. Графическое определение эффективных осадков
и периода их действия на дорогу (ТЭ):
![]()
– испарение; –
дефицит влаги.
Таким
образом, при расчете водно-теплового режима дорожной конструкции, на дорогах Южной
части Казахстана, где дефицит атмосферных осадков и поверхностных вод, источниками
влагонакопления могут являться, в основном, постоянно орошаемые территории, где
проложена автомобильная дорога. Для разработки новой модели возникает
необходимость обоснования физической сущности влагонакопления из этих факторов.
Обычно
влажность W земляного полотна находится в функциональной
зависимости от суммарного воздействия климата, почвогрунтов, рельефа местности,
грунтовых и поверхностных вод. В тоже время на её величину существенное влияние
оказывают и конструктивные особенности дорожной одежды и земляного полотна,
т.е. водопроницаемость покрытий, пористость нижних слоев дорожной одежды,
коэффициент уплотнения земляного полотна, вид грунта и др. Исходя из этого
соображения, W можно определить по формуле:
(1)
где Гi - суммарное
воздействие географического комплекса (климатические условия, рельеф местности,
грунты и т. п.); Di -
суммарный дорожный комплекс (геометрические параметры дороги, конструкция
дорожной одежды, тип покрытия и т.п.).
Таким образом, исследование
влагонакопления в грунтах земляного полотна должно основываться на совместном
учёте геокомплекса и дорожного комплекса. При
этом расчётная влажность WР в теле земляного полотна всегда будет находиться в
пределах
, (2)
, (3)
где WОПТ – оптимальная влажность, %; WП.В. –
полная влагоемкость грунта, %; V - объём защемленного воздуха, %.
Из условия
(2) следует, что при отсутствии регулирования водного режима, WР
равна максимально возможной влажности и, являясь аналогом плотности, может быть
легко определена в процессе проектирования дороги, а при зарегулированном
водном режиме
и не требует
специального определения. Простота определения величин
и
позволяет
проектировщику оценить экономическую эффективность от применения мер
регулирования водного режима земляного полотна и принять оптимальное проектное
решение с учётом конкретных природных условий и инженерно-технических решений.
Наиболее
важной задачей для принятия оптимального проектного решения является
определение прочностных и деформационных свойств местных грунтов в широком
диапазоне плотности и влажности.
Третий тип увлажнения рабочего слоя
земляного полотна, хотя не характерные для Южней части Казахстана, следует
принимать для той местности, где дорога расположена вдоль орошаемой территории
сельскохозяйственных угодий. В этом случае подземные воды залегают на глубине
более 3 м от низа дорожной одежды. Обычно, такие участки легко подвергаются к
пучению, т.к. этому способствует вид грунта (засоленные суглинистые или лессовые
грунты) и условия увлажнения местности.
Основываясь
на результатах проведенных исследований и исходя из классификации типов
водно-теплового режима по В.М.Сиденко /5/, для рассматриваемого региона могут
быть установлены следующие типы водно-теплового режима земляного полотна.
1.
Концентрационная диффузия и термодиффузия водяных паров, поступающих в земляное
полотно снизу в холодный период, характерны для неорошаемых территорий при
глубоком залегании грунтовых вод. Увлажнение грунтов в таких регионах происходит
до величины максимальной гигроскопичности. В холодный период года на орошаемых
территориях при втором типе местности по условию увлажнения грунт может достигать
максимальной влагоемкости
.
2. Влага
поступает в земляное полотно в жидкой фазе от уровня грунтовых вод. Увлажнение
грунта достигает величины полной влагоемкости WП.В., характерной
для орошаемых территорий с 1 и 3 типами режима грунтовых вод,
залегающих на глубине, меньшей величины капиллярного поднятия.
3. Вода
поступает в земляное полотно через трещины и швы покрытий. Действует в холодный
период, когда выпадает основное количество осадков, а раскрытие трещин и швов
достигает максимальных размеров. Увлажнение грунта может достигать полной
влагоемкости WП.В. в зависимости от количества осадков, типа покрытия,
пористости основания и плотности земляного полотна.
В рассматриваемом регионе (Кызылординская
область) отсутствуют необходимые предусловия для глубокого и длительного
промерзания земляного полотна и связанного с ним разуплотнения грунтов. Здесь
образование влагонакопления в теле земляного полотна связано с миграцией влаги,
находящейся в притрассовой зоне. Для предотвращения таких видов влагонакопления
в боковых резервах и в нижних слоях основания целесообразно предусматривать
устройство бермы или уполаживание откосов (пример расчета приведен ниже).
Пример
расчета. Определит допустимое расстояние
Lдоп от
бровки земляного полотна до уреза длительно стоящих поверхностных вод.
Значение Lдоп зависит от физико-механических свойств грунта
(коэффициента фильтрации Кф,
оптимальной влажности Wопт и др.) и продолжительности стояния воды в боковых
резервах земляного полотна t (сутки)
в течение года и определяется по формуле (рисунок 3):
(4)
где рв
– плотность воды, т/м3; Wпв – полная
влагоемкость грунта, дол. ед.:
![]()
где ргр
– истинная плотность грунта, т/м3;
и рск – плотность скелета
грунта, т/м3; 1,15 – коэффициент, учитывающий принятые размерности.
|
а) |
|
|
б) |
|
Рисунок 3 –
Отвод поверхностных вод в боковых резервах:
а –
устройство бермы; б – уполаживание откосов.
Исходные данные:
а) для супеси при Кф=0,25
м/сут, ргр=1,7 т/м3, рск=1,35 т/м3 и Wопт=9 % . Таким образом,
Lдоп=15,30
м;
б) для суглинка при Кф=0,05
м/сут, ргр=1,9 т/м3, рск=1,40 т/м3 и Wопт=14 %. Таким образом,
Lдоп=9,18
м.
Резюме. Результаты расчетов показывают, что допустимая длина уполаживание откосов Lдоп прямым
образом зависит от коэффициентов фильтрации Кф грунтов и их
оптимальной влажности Wопт, т.е. чем грунт менее водопроницаемый, тем ниже
значения Lдоп. Таким образом, чем выше значение Lдоп, тем
шире полосы отвода для земляного полотна на данном участке.
Список
литературы
1. Мотылев Ю.Л. Устойчивость земляного
полотна автомобильных дорог в засушливых и пустынных районах. – М.: Транспорт,
1969. – 230 с.
2. Каюмов А.Ж. О критической нагрузке
при уплотнении грунтов катками. – Ташкент:
ж-л «Проблемы механики», 1996, №4. – С. 23-26.
3. СНиП РК 2.04.01-2001. Строительная
климатология. – Астана: Мининдустрия РК, 2001. – 74 с.
4. Рувинский В. И. Оптимальные конструкции земляного полотна. – М.: Транспорт. 1982. – 160 с.
5. Сиденко В.М. Расчет и
регулирование водно-теплового режима дорожных одежд и земляного полотна. – М.:
Автотранссервис, 1962. – 116 с.