Технические науки/13Охрана труда
PhD доктор Калдыбаева
С.Т., к.т.н., Шевцова В.С., доцент Тукенова К.Т., ст.преп.Ахмадиева Т.К.
Казахский
национальный технический университет имени К.И.Сатпаева, Казахстан
СНИЖЕНИЕ ШУМА ПРОКАТНОГО ПРОИЗВОДCТВА
ПУТЕМ ПРИМЕНЕНИЕ ДЕМПФИРУЮЩИХ ЧУГУНОВ
Производства
проката определяет развитие многих отраслей народного хозяйства – машиностроения,
строительства, судостроения, авиапромышленности и др.
Однако в прокатных цехах возникают опасные
и вредные факторы производственной среды, устранение воздействия которых на
персонал являются одной из задач инженерной охраны труда. Эта задача решается с
использованием специальных методов-требований к устройству предприятий и цехов,
к технологическим процессам и оборудованию, средствам индивидуальной защиты и к
организации производства и труда в прокатных цехах.
Все это в процессе производства проката
может вызвать возникновению опасных и вредных факторов, оказывающие влияние на здравье
и работоспособность персонала прокатных цехов.
Улучшение
шумовых характеристик прокатного производства является весьма сложной
технической задачей, трудность решения которой обусловлена комплексом
различных, в некоторой степени противоречивых требований.
В качестве звукопоглашающих
материалов, можно использовать демпфирующие сплавы на основе железа.
Демпфирующую
способность металлических материалов необходимо учитывать при проектировании
оборудования, работающего при ударных нагрузках, наравне с такими
характеристиками, как временное сопротивление, ударная вязкость, модуль Юнга и
др.
Разработка и освоение сплавов с
повышенными демпфирующими свойствами, сочетающих повышенные физико-механические
свойства, хорошие технологические свойства и экономичные в изготовлении,
является актуальной проблемой для металловедов, металлургов и специалистов в
области охраны труда [1].
Одной из
важнейших физических характеристик, оказывающих влияние на демпфирующие
свойства исследуемых сталей и чугунов, является модуль упругости. Значение
модуля нормальной упругости находили из соотношения [2]:
(1)
где G -
модуль сдвига;
m - коэффициент Пуассона.
Определение
модуля сдвига G осуществляли по методу крутильных колебаний,
который сводится к определению частоты собственных колебаний образца:
(2)
(3)
где
- постоянная величина;
LM -
длина образца, м;
d - диаметр образца, м;
T - период
собственных колебаний образца, с.
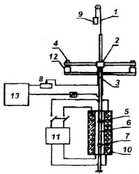
Измерение
модуля сдвига производили на установке, принципиальная схема которой показана
на рисунке 1 [3].

1
– капроновая нить; 2 – рамка; 3 – стержень; 4 – электромагниты; 5,7 – цанговые
зажимы; 6 – образец; 8 – реостат; 9 – груз; 10 – печь; 11 – терморегулятор; 12
– оптическая система; 13 – генератор
Рисунок
1 – Схема прибора для измерения модуля сдвига и внутреннего
трения
при свободных и вынужденных колебаниях [3]
Литература:
1. Утепов Е.Б., Актаев Б.Г., Актаева Д.У.,
Утепов Т.Е. Применение «тихих» сплавов в технике борьбы с шумом: – Алматы,
1998.- 78 с.
2. Парфенов А.А. К методике определения
акустических характеристик металлических материалов //В сб.: Проблемы
инженерной охраны труда. Науч. тр. Моск. Института стали и сплавов. – М.:
Металлургия, 1981. №127. - С. 75-79.
3. Shackelford, James F. Introduction
to materials science for engineers-6th ed. -2005, 2000 by Pearson
Education, Inc. Pearson Prentice Hall.-Upper Saddle River, New Jersey 07458,- 878 p.