СТРУЙНО-ВИХРЕВЫЕ РЕКУПЕРАТОРЫ
КАК ПРОМЫШЛЕННЫЕ ТЕПЛОТЕХНИЧЕСКИЕ АГРЕГАТЫ
С АКТИВНЫМИ ГИДРОГАЗОДИНАМИЧЕСКИМИ РЕЖИМАМ

 

Денисова А.Е., д.т.н., проф. кафедры ТЭС и АЭС,
Агеев К.В., аспирант кафедры ТЭС и АЭС,
«Одесский национальный технический университет», г. Одесса

 

Существенным преимуществом теплотехнических агрегатов — вихревых устройств таких как вихревые топки, камеры сгорания, сепараторы, рекуперативные теплообменники и многие другие, получивших значительное распространение в промышленности благодаря работе в активных гидрогазодинамических режимах, является их высокая удельная эффективность при пониженной металло- и ресурсоемкости, а также уменьшенные габариты. При этом одной из наиболее важных особенностей указанных устройств является значительная зависимость эффективности их работы от режимных и конструктивных параметров [1].

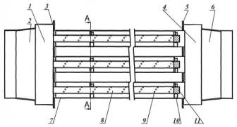
Рис. 1 Конструкция струйно-вихревого рекуператора [5]: 1 – входящий воздушный короб; 2 – диффузор; 3 – входная перфорированная стенка (доска); 4 –выходной воздушный короб; 5 – выходная перфорированная стенка; 6 – выходной воздуховод; 7 – нагреваемая труба; 8 – воздушная перфорированная труба; 9 – сопла; 10 – распорка-завихритель; 11 – крышка.

Применяемая в существующих вихревых устройствах аэродинамическая схема с тангенциальными или осевыми завихрителями [2] формирует в рабочем объеме спиральную вихревую структуру (колонный вихрь), при этом данные по моделированию устойчивости вихревой стрктуры и ее затуханию по длине [3] указывают на существующие недостатки этих аэродинамических схем.

Для решения задачи повышения термического КПД печей и сокращения затрат топлива была предложенная струйно-вихревая аэродинамическая схема промышленного теплообменника [4] и разработанный на ее основе рекуператор [5] (рис. ) высокая эффективность теплообмена конвекцией на воздушной стороне которого обеспечивается за счет процесса струйно-вихревой рекуперации отходящего тепла дымовых газов.

Исследования эффективности подогрева дутьевого воздуха для струйно-вихревого теплообменника [5] проводилось на кафедре ТЭС и АЭС «Одесского национального политехнического университета» на холодном аэродинамическом стенде с последующим CFD-моделирование процессов газовой динамики и теплообмена в рабочем пространстве рекуператора в среде SolidWorks Flow Simulation.

 

ЛИТЕРАТУРА

 

1. Ляндзберг А.Р., Латкин А.С. Вихревые теплообменники и конденсация в закрученном потоке. — Петропавловск-Камчатский: КамчаткаГТУ, 2004. —149 с.

2. Халатов А.А. Теория и практика закрученных потоков / Отв. ред.  А.А. Долинский, АН УССР. Ин-т технической теплофизики. — Киев : Наук. думка, 1989. — 192 с.

3. Фундаментальные и прикладные проблемы теории вихрей / Под редакцией А.В.Борисова, И.С.Мамаева, М.А.Соколовского. — Москва-Ижевск : Институт компьютерных исследований, 2003, 704 с.

4. Агеев К.В. Современные тенденции конструирования металлических рекуператоров со вставками для повышения энергоэффективности печных агрегатов // Науковий вісник НЛТУ України. — 2014. – Вип. 24.5 — С. 155–169.

5. Пат. 104396 Укр., МПК (2014) F 28 D 1/04, F 23 L 15/04. Рекуператор / К.В. Агеев. — Опубл. 27.01.14, Бюл. № 2.