Современные перспективы совершенствования и
использования жидкостнокольцевых вакуум-насосов
Тамбовский государственный технический университет, г. Тамбов, Россия
Воробьев Ю.В., Никитин Д.В., Однолько В.Г., Платицин П.С., Родионов Ю.В.
В период бурного развития промышленности существенно возрастает роль использование вакуума, поэтому в настоящее время первостепенное значение приобретает совершенствование вакуумной техники.
Жидкостнокольцевые вакуум-насосы (ЖВН) на сегодняшний день являются наиболее доступным и удобным средством получения среднего вакуума. Простота конструкции и технологии изготовления высокая, надежность и низкий уровень шума во многом определили широкий диапазон их использования.
ЖВН эффективно используют в химической промышленности, в частности:
· вакуумирование реакторов – создание вакуума с целью удаления воздуха (влаги) из технологических емкостей перед их заполнением или проведением реакции;
· ускоренное удаление влаги или растворителя из высушиваемого объекта при разряжении (возможно при пониженной температуре или замораживании - сублимационная или лиофильная сушка), с сохранением необходимых его свойств;
· фильтрование под вакуумом процесс разделения суспензии (жидкости, содержащей твёрдые частицы во взвешенном состоянии) в результате разницы давления над фильтром и под ним;
· испарение и кристаллизация – концентрирование растворов (чаще всего твёрдых веществ в воде) частичным испарением растворителя. Вакуум позволяет снизить температуру кипения растворов и уменьшить поверхность нагрева;
· дегазация – удаление газовых компонентов перед началом или в ходе технологического процесса;
· ректификация (дистилляция) – разделение жидких смесей на фракции с использованием различий в температуре кипения компонентов смеси. Вакуум позволяет понизить температурные режимы процесса;
· молекулярная дистилляция – процесс разделения веществ в высоком вакууме, при температурах ниже их температуры кипения. Процесс проходит при незначительном расстоянии между поверхностями испарения и конденсации. В данном процессе изменение состава пара по сравнению с составом жидкости определяется различием скоростей испарения компонентов, поэтому этим способом можно разделять смеси, компоненты которых обладают одинаковым давлением паров.
Наиболее существенными недостатками ЖВН являются: гидравлические потери в жидкостном кольце, составляющие 30-50 % общей мощности; потери от перетечек, составляющие 10-20 % теоретической быстроты действия; потери быстроты действия от температурного напора между жидкостью и газом; низкий изотермический КПД; низкий вакуум; неоправданно большой расход дополнительно подаваемой рабочей жидкости.
Для устранения указанных недостатков ЖВН сотрудниками кафедры «Теория механизмов машин и детали машин» Тамбовского государственного технического университета предложены следующие изобретения:
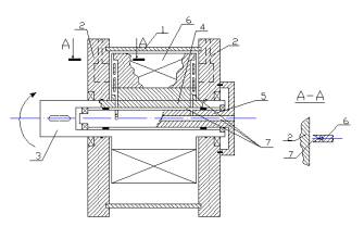
– ЖВН, имеющий конструкцию при которой, снижаются перетекания газовой среды из нагнетательной во всасывающую полость через зазоры по торцам рабочего колеса, достигаемые за счет дополнительной подачи рабочей жидкости через каналы лопаток в зону, находящуюся между нагнетательным и всасывающим окнами по ходу вращения рабочего колеса (рис. 1), что позволяет повысить быстроту действия, глубину вакуума и коэффициент полезного действия ЖВН [1] (RU 2 291 9887 C2).

Рисунок1 – Одноступенчатый ЖВН: 1 –
корпус; 2 – торцовые крышки; 3 – приводной вал; 4 – рабочее колесо; 5
–неподвижный вал; 6 – лопатки рабочего колеса; 7 – каналы для подачи жидкости.
– ЖВН, имеющий конструкцию, при работе которой на различных режимах устанавливается определенное проходное сечение нагнетательного окна, уменьшающее сопротивление газовых потоков в начальный момент вакуумирования и поддерживающее давление нагнетания больше атмосферного до определенного конечного момента вакуумирования, регулируемого с помощью изменения положения заслонки (рис. 2), что позволяет повысить быстрота действия и коэффициент полезного действия жидкостнокольцевой машины [2]. (RU 2 303 166 C2).
Рисунок 2 – ЖВН с автоматическим регулированием нагнетательного окна:
1 – корпус; 2 – основание; 3 – диск; 4 – паз; 5 – заслонка; 6 – шток; 7 поршень; 8 – механизм регулирования; 9 – возвратная пружина; 10 – трубопровод; 11 – приводной вал.
– двухступенчатый ЖВН (рис. 3), имеющий конструкцию с одинаковыми диаметрами рабочих колес первой и второй ступени, вращающимися с оптимальными соотношением угловых скоростей, приводящим к увеличению быстроты действия и коэффициента полезного действия (RU 2004 130 045 A).

Рисунок 3 –. Двухступенчатый ЖВН: 1,2 - корпуса первой и второй ступеней соответственно; 3 – промежуточная камера; 4 – вал; 5 – полый вал; 6, 7 – рабочие колеса первой и второй ступеней соответственно; 8,9 – торцовые крышки; 10 – редуктор; z1, z2, z3, z4 – соответственно числа зубьев шестерен и колес первой и второй ступени редуктора.
– ЖВН, имеющий конструкцию (рис. 4), способную повысить коэффициент полезного действия за счет снижения трения жидкостного кольца о внутреннюю поверхность корпуса и достижение стабильности его геометрии за счет равенства окружных скоростей корпуса и рабочего колеса в зоне их максимального сближения [4] (RU 2 294 456 C1).

Рисунок 4 – Одноступенчатый ЖВН: 1,2 – торцевые крышки; 3 – полый вал; 4 – перегородка; 5 – входной вал; 6 – выходной патрубок; 7 – рабочее колесо: 8 – лопатки рабочего колеса; 9 – лопатки корпуса; 10 – корпус.
Список используемых источников:
1. Пат. 2291987 Российская Федерация, МПК F04C 7/00, F04C 19/00. Жидкостно-кольцевая машина / Воробьев Ю.В., Максимов В.А., Попов В.В., Родионов Ю.В., Свиридов
М.М.; заявитель и патентообладатель ГОУ ВПО ТГТУ; заявл. 11.10.04.; опубл.
20.01.07. Бюл. №2. – 5 с.: 2 ил.
2. Пат.
2303166 Российская Федерация, МПК F04C 15/00.
Жидкостно-кольцевая машина с автоматическим регулированием проходного сечения
нагнетательного окна / Волков А.В., Воробьев Ю.В., Никитин Д.В., Попов В.В.,
Родионов Ю.В., Свиридов М.М.; заявитель
и патентообладатель ГОУ ВПО ТГТУ; заявл. 31.05.05.; опубл. 20.07.07. Бюл. №20.
– 6 с.: 2 ил.
3. Пат.
2291320 Российская Федерация, МПК F04C
7/00, F04C 19/00. Двухступенчатая
жидкостно-кольцевая машина / Воробьев Ю.В., Волков А.В., Максимов В.А.,
Попов В.В., Родионов Ю.В., Свиридов М.М.; заявитель и патентообладатель ГОУ ВПО ТГТУ; заявл. 11.10.04.;
опубл. 10.01.07., Бюл. №1. – 5 с.: 1 ил.
4. Пат.
2294456 Российская Федерация, МПК F04C
7/00, F04C 19/00. Жидкостно-кольцевая
машина / Воробьев Ю.В., Попов В.В., Родионов Ю.В., Свиридов М.М.; заявитель и патентообладатель ГОУ ВПО
ТГТУ; заявл. 09.06.05.; опубл. 27.02.07., Бюл. №6. – 7 с.: 2 ил.