Технические науки 5
Пархоменко Р.А.
Криворожский технический
университет, ассистент кафедры
Электроснабжения и ресурсосбережения
С развитием технологий и появлением
новых материалов применение ветроэнергетических агрегатов в качестве автономных
источников энергии очень скоро может стать более выгодным, чем сжигание для
этих целей традиционных видов топлива - нефти и газа, что экологически опасно и
экономически нецелесообразно. Поэтому разработка новейших технологий
преобразования энергии ветра в электрическую и создание принципиально новых ВЭУ
с лучшими технико-экономическими показателями есть актуальной задачей.
Целью
таких исследований является разработка
концепции развития ветроэнергетических агрегатов на ближайшее будущее, а
основной задачей – разработка новой концептуальной модели, способной улучшить
основные характеристики ВЭУ, такие как КПД и надежность работы.
Анализ
состояния развития современных ветроэнергетических агрегатов позволил выявить недостатки
существующих конструкций и разработать концепцию модели ВЭУ с нестандартным и
принципиально новым способом преобразования энергии ветра в электрическую при
помощи безредукторного агрегата с многосекционным линейным генератором.
Целью разработки является повышение КПД и
надежности работы ветроустановки.
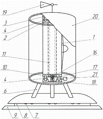
На фиг. 1. представлена ветроустановка, общий
вид; на фиг. 2. – схема ветроустановки; на фиг. 3. – схема одной секции
линейного генератора.
Ветроустановка содержит ветроколесо 1
с ободом 2 , закрепленное в ободе- статоре 3 с помощью роликов 4 , удерживающих
и обеспечивающих вращение ВК.
Обод – статор 3 установлен на двух фермах 5 ,
жестко соединенных с поворотной башней 6 , имеющей опорные катки 7 ,
взаимодействующие с круговым рельсом 8 , уложенным на неподвижное бетонное основание 9 .
Обод ВК 2 связан с многосекционным линейным
электрическим генератором при помощи толкателей 10 и двух колец 11 жестко
закрепленных на ободе - роторе 2 , представляющих собой эксцентрики , повернутые
на 90 градусов по отношению к плоскости вращения ветроколеса соответственно по
направлению и против движения потока воздуха и сдвинутых по отношению друг к
другу на пол периода, образованного внешним краем кольца и обрезанным для
получения эксцентриситета по форме синусоиды. Такое смещение двух колец
относительно друг друга обеспечивает возвратно – поступательное движение якоря
12 линейного генератора переменного тока. Частота переменного тока генератора
будет зависеть от частоты вращения ВК, его диаметра и количества эксцентриков
на кольцах 11. Толкатель 10 сопрягается
с аксиальным кольцом при помощи ролика 13 утопленного в паз на кольце и жестко
связан с якорем 12 генератора, который имеет прямоугольное сечение.

Фиг. 1. Общий вид ветроустановки.

Фиг. 2. Схема
ветроустановки.

Фиг.3. Схема одной секции
линейного генератора.
На якоре линейного генератора 12 закреплены два
постоянных магнита (или электромагнита с возбуждением постоянным током с
подачей напряжения через щеточные контакты) 14 , причем их полюса
противоположно направлены и располагаются перпендикулярно по отношению к линии
возвратно – поступательного движения якоря. Для обеспечения линейного движения
якоря на нем установлены ролики 15 перпендикулярно по отношению к линии
возвратно – поступательного движения и плоскости, в которой установлены
магниты. Статор 16 линейного генератора содержит магнитограф, состоящий из шихтованного магнитопровода 17
и катушки 18 .
Секции линейного генератора устанавливаются по
окружности и жестко закрепляются на ободе – статоре 3 ветроустановки. Их
количество и мощность зависит от мощности
и размеров ветродвигателя. При совместной синхронной работе двух и более
секций можно вырабатывать переменный ток, а если число работающих секций будет
всегда кратно трем , то при соответствующем расположении секций на ободе –
статоре 3 ветроустановки
можно получать трехфазный переменный ток промышленной
частоты.
Нижняя часть поворотной башни 6 выполнена в
виде купола.
В верхней части обода – статора 3 закреплено
устройство ориентации 19 ветроколеса 1 относительно направления ветра.
Плоскость вращения ветроколеса 1 смещена
относительно вертикальной оси ветроустановки в наветренную сторону, что
обеспечит ей устойчивость.
Аэродинамическая форма кожуха обода – статора 3
ветроустановки представляет собой расширяющийся на выходе потока диффузор 20 с
небольшим коэффициентом расширения.
Кроме того, в случае, когда для возбуждения в
линейном генераторе используются электромагниты, в ветроустановке дополнительно
устанавливается генератор постоянного тока 21 на одной оси или вместо одного из
роликов.
Ветроустановка работает следующим образом.
Ветроколесо 1 при помощи устройства 19
устанавливают на ветер. При ветре достаточной скорости ветроколесо 1 вращается
и благодаря эксцентрикам на кольцах 11,
закрепленных на ободе 2 ВК, крутящий момент преобразовывается в возвратно –
поступательное движение якорей 12 в секциях линейного электрического
генератора. Когда ветроколесо 1
достигает рабочей скорости вращения, в работу вступает как минимум одна секция
линейного генератора – если генератор однофазный, или три – если генератор
трехфазный. В момент достижения синхронной скорости генератор автоматически
включают в сеть переменного тока промышленной частоты. С увеличением скорости
ветра и соответственно мощности ветроколеса, в работу включаются дополнительные
секции генератора. При незначительных изменениях скорости ветра дополнительную возможность регулирования дает
генератор постоянного тока 21 – его нагрузкой поддерживают частоту вращения
ветроколеса постоянной. В качестве нагрузки может выступать также
аккумуляторная батарея.
В случае увеличения скорости ветра больше
расчетной ветроколесо 1 с башней 6 поворачивают в горизонтальной плоскости и
выводят из-под ветра.
Основные
отличия предлагаемой концептуальной модели:
1.
Ветроустановка отличается тем, что, с целью повышения КПД выработка электроэнергии производится
многосекционным линейным генератором, номинальная электрическая мощность
которого изменяется в соответствии с нелинейной характеристикой изменения мощности ветроколеса в зависимости от скорости ветра
при помощи САУ.
2. Ветроустановка отличается тем, что вращающий момент от ветроколеса преобразовывается при помощи двух
колец в возвратно – поступательное
движение якорей секций линейного генератора переменного тока, частота которого
будет зависеть от частоты вращения ВК, его диаметра и количества эксцентриков
на кольцах. Это дает возможность применять такую схему для ветроустановок с
тихоходным ветроколесом и отказаться от редуктора, снижающего общий КПД
установки, и многополюсного электрического генератора.
3.
Ветроустановка отличается также тем, что с целью повышения надежности
работы для выработки электроэнергии
используется не многополюсный тихоходный электрический генератор с редуктором,
а многосекционный линейный электрический генератор, секции которого работают параллельно и таким образом могут резервировать друг друга, а также в
ветроагрегате могут быть установлены дополнительные резервные секции.
Литература
1. Пархоменко Р.А. Концепция развития безредукторных ВЕУ. ЗБІРНИК
(частина 5) тез доповідей X Всеукраїнської науково-практичної конференції
студентів, аспірантів та млолдих вчених «Технологія – 2007»/СТІ ім. В. Даля
Сєвєродонецьк, 2007. – 64с.