Карачун В.В.
Національний технічний університет України «КПІ»
УЛЬТРАЗВУК ДЛЯ КУЛЬТИВУВАННЯ МІКРООРГАНІЗМІВ
Технічне
рішення належить до мікробіології і може бути використаний для культивування мікроорганізмів
в рідинних середовищах, зокрема, при виготовленні біологічно-активних речовин та
вакцин.
Відомий
пристрій для культивування мікроорганізмів, який містить раму і обертаючу в
похилій площині платформу з установленими в ній циліндричними посудинами для
культивування. На платформі містяться штирьові держаки, які утворюють сотові
вічка для посудин. Посудини в вічках розміщені вільно з утворенням зазору для струшування
посудин у процесі обертання платформи [1].
Недоліком
цього технічного рішення постає висока матеріалоємкість установки та певна
незручність в експлуатації, оскільки потребує при використанні розфасовки
робочої рідини. Крім того, струшування посудин у процесі обертання платформи не
забезпечує якості тепломасообміну вмісту посудин і слугує піноутворенню.
Відома також
установка для культивування мікроорганізмів, яка містить з’єднані між собою в
нижній частині гнучким трубопроводом дві камери і пристрій для подачі в них
через герметично закріплені в горловинах фільтруючі елементи стерильного
повітря, а також механізм переміщення камер по вертикалі у вигляді з’єднаних з
верхньою частиною камер підйомників [2].
Установка
дозволяє вести процес культивування суспензійних культур клітин і
мікроорганізмів за будь-яких режимів – накопичувальному, напівнеперервному,
неперервному з обраною інтенсивністю масообміну, щільністю культури тощо, які
можуть бути заданими у відомих апаратах для культивування.
Зберігається
найбільш прийнятний режим перемішування і аерації та дотримання 100% - ї стерильності процесу.
Робота
установки здійснюється за сигналом командного пристрою, який приводить в роботу
мотор-редуктор і тросами, перекинутими через блоки, по-черзі, переміщує камери
вздовж вертикалі, завдяки чому культуральна рідина перетікає з однієї камери до
іншої згідно принципу сполучених посудин.
Недолік цього
технічного рішення полягає у низькому рівні енергетичного стану робочої рідини,
ламінарному процесі перетікання з камери в камеру, наявності застійних зон
пасивної енергетики в проміжку між камерами, обмеженій поверхні аерації,
окресленій тільки верхніми шарами поверхні робочої рідини, недостатньою якістю
тепломасообміну по всьому об’єму робочої рідини, нарешті, породжену
вищеозначеними вадами низьку продуктивність і якість технологічного процесу.
Ця установка
для культивування мікроорганізмів є найбільш близькою до пропонуємої за
технічною суттю та досягаємим ефектом.
В основу пропонує
мого Технічного рішення винаходу поставлена задача підвищення продуктивності і
якості технологічного процесу шляхом
активізації енергетичного стану робочої рідини і інтенсифікації тепломасообміну
і аерації по всьому об’єму сполучених камер за допомогою штучного формування
резонансного стану культурального середовища.
Поставлена
задача вирішується тим, що заявляємий винахід усуває недоліки відомого рішення
і пропонує нове ефективне технічне рішення з новим технічним результатом.
Установка для
культивування мікроорганізмів містить з’єднані між собою в нижній частині
гнучким трубопроводом дві камери і пристрій для подачі в них через герметично
закріплені в горловинах фільтруючі елементи стерильного повітря, а також
механізм переміщення камер по вертикалі у вигляді з’єднаних з верхньою частиною
камер підйомників, згідно заявляємого винаходу обидві камери установки для
культивування мікроорганізмів мають циліндричну форму і у верхніх своїх
частинах на зовнішній стороні обладнані звуковими випромінювачами з регулюємим
напрямом променя відносно центру нижнього шпангоута камер.
Аналіз
причинно-наслідкових зв’язків дає підстави для висновку, що наведені ознаки установки
для культивування мікроорганізмів належать до суттєвих, бо забезпечують
досягнення нового технічного результату, вигідно відрізняючи від відомих
аналогів.
Технічний
результат від використання установки для культивування мікроорганізмів забезпечується
тим, що обидві камери мають циліндричну форму і у верхніх своїх частинах на
зовнішній стороні обладнані звуковими випромінювачами з регулюємим
напрямом
променя відносно
центру нижнього шпангоута камер. Ці випромінювачі генерують в матеріалі камер
поздовжні хвилі на частотах
, нижчих за граничну
, внаслідок чого виникає хвильове співпадання (резонанс
співпадання), яке породжує ефект “акустичної
прозорості” поверхні камер і, практично без втрат, забезпечує трансляцію
енергії випромінювання в робочу рідину, внаслідок чого вона глибоко
турбулізується по всім шарам, набуває енергетичної активності турбулентної
структури, втрачає зони пасивної енергетики і інтенсифікує процес аерації. Це
явище слід сприймати як рівність сліду
довжини кола шпангоута
і проекції довжини поздовжньої хвилі
на площину, паралельну до фронта падаючої
хвилі [3]:
.
Кожній
частоті
випромінювання
відповідає свій кут
, за якого наступає резонанс співпадання, в свою чергу,
матеріал камер окреслює граничну частоту
. Наприклад, для камер радіуса R=0,1 м , зроблених із скла, низькочастотний резонанс
співпадання, зокрема, на 1000 Гц проявляється
при куті
, для камер із сталі – при
, для алюмінія чи органічного скла – при
.
Таким чином,
формування хвильового співпадання для штучно генеруємих звуковим
випромінюванням поздовжніх хвиль в камерах установки для культивування
мікроорганізмів приводить в резонансний стан культуральну рідину, збурює її по
всьому об’єму, турбулізує на всіх шарах, надає енергетичної активності і
ліквідує зони пасивної енергетики, а також інтенсифікує аерацію і
тепломасообмін. В своїй сукупності, ці ознаки призведуть до росту
продуктивності і якості технологічного процесу.
Сукупність
наведених ознак заявленої установки для культивування мікроорганізмів
забезпечує досягнення нового технічного результату.
Далі сутність
установки пояснюється відповідним описом та кресленнями, де: на рис. 1
схематично зображена заявляєма установка для культивування мікроорганізмів; на рис.
2 показана дія акустичного випромінювання на камеру установки; на рис. 3 розкрито
умови виникнення низькочастотного резонансу співпадання штучно генеруємих в
камері поздовжніх хвиль.
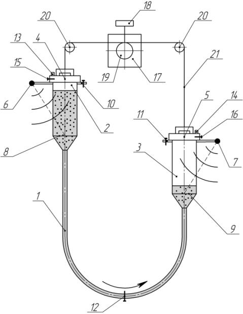
Установка для
культивування мікроорганізмів (рис. 1) використовується для культивування мікроорганізмів
в рідинних середовищах при виготовлені біологічно-активних речовин та вакцин і
містить з’єднані між собою в нижній частині гнучким трубопроводом 1 дві камери
2 і 3 з пристроями 4 і 5 для подачі в них через герметично закріплені в
горловинах фільтруючі елементи стерильного повітря. Камери 2 і 3 мають
циліндричну форму і у верхніх своїх частинах на зовнішній стороні обладнані
звуковими випромінювачами 6, 7 з регулюємим напрямом променя відносно центру
нижнього шпангоута камер 8, 9 (рис. 2). Камери 2, 3 мають технологічні патрубки
10, 11 для виведення робочої рідини, а трубопровід 1 має кран 12 для зливу
вмісту камер і технологічного перекриття каналу трубопроводу. Пристрої 4, 5 для
подачі стерильного повітря мають патрубки 13, 14 з кранами 15, 16 для
відведення з камер відпрацьованого повітря в навколишнє середовище. Камери 2, 3
приєднані до механізму їх зворотно-поступального руху у вертикальній площині.
Привод містить реверсивний мотор-редуктор 17 з блоком керування 18 та барабаном
19, який охоплений перекинутим через блоки 20 і приєднаний до камер 2, 3 тросом 21.
Робота
установки для культивування мікроорганізмів здійснюється наступним чином.
Одну з
попередньо простерилізованих камер, наприклад, в показаному на кресленні в
верхньому положенні камеру 2, заправляють живильною рідиною з інокулятом
(робоча рідина), після чого вмикають попередньо налаштовані звукові
випромінювачі 6 і 7 і відкривають кран 12 на трубопроводі 1, що призводить до
перетікання робочої рідини з камери 2 до камери 3 по трубопроводу 1. Після
заповнення робочою рідиною камери 3 до необхідного рівня, блок керування 18
вмикає мотор-редуктор 17 і змінює положення камер у вертикальній площині –
камеру 2 переводить у нижнє положення, а камеру 3 – у верхнє, в якому вона
утримується на визначений для переливання час. Перетікання робочої рідини між
камерами із нового положення, тобто з камери 3 до камери 2, відбувається в
зворотному напрямку у раніше описаний спосіб.
Налагодження
звукових випромінювачів на резонансний режим у вигляді хвильового співпадання (рис.
3) для різного матеріалу камер, частоти
випромінювання і
напряму
звукового променя здійснюється
заздалегідь.
Створення
турбулентного стану робочої рідини по всьому її об’єму, формування активної
енергетики всіх шарів, інтенсифікація тепломасообміну і аерації забезпечать
якісно нову структуру перетікання.
Таким чином,
використання заявленої установки для культивування мікроорганізмів, завдяки
новим властивостям, дозволить суттєво підвищити продуктивність і якість технологічного
процесу.
Література
1.
А.с. 1731801 А1 СССР, С12М1/10.
Устройство для культивирования микроорганизмов [Текст]/ Ю.К. Самойлов, В.И.
Пивоваров, В.А. Иванов, А.В. Алексеев (СССР). - № 4844876/13; заявл. 22.05.90;
опубл. 07.05.92, Бюл. №7. – 1 с.: ил.
2.
А.с. 1131899 А СССР, С12М1/00.
Установка для культивирования микроорганизмов [Текст]/ А.Н. Данилина, А.В.
Данилов, И.В. Александрова, А.А. Складнев, В.С. Ромазанов, И.А. Туков (СССР). -
№ 3226238/30-15; заявл. 25.12.80; опубл. 30.12.84, Бюл. №48. – 1 с.: ил.
3.
Заборов, В.И. Теория
звукоизоляции ограждающих конструкций [Текст]: моногр./ В.И. Заборов. – М.:
Изд-во литературы по строительству, 1969. – 185 с. (ст. 46-48, рис. 19, рис.
20).

Рис. 1. Установка для культивування
мыкроорганізмів
Рис. 2. Механізм дії звукового променя на кемери

Рис. 3. Хвильве співпадання поздовжніх хвиль: ![]()