Технічні науки / 3. галузеве машинобудування                                                                   

 Гордєєв А. І., Кравчук В.В., Пархоменко В.Д., Мігаль В.Г.

Хмельницький національний університет

ПРИСТРІЙ ДЛЯ КАВІТАЦІЙНО-МАГНІТНОЇ ОБРОБКИ                ВОДИ ЗЕЛЕКТРОМАГНІТНИМ ПРИВОДОМ

 

Пристрій відноситься до обладнання водопостачання, а саме до малогабаритних мобільних пристроїв, що використовуються при підготовці стічної  води для подальшої обробки.

Відомі конструкції кавітаційних змішувачів та реакторів, які виконані у вигляді проточної камери із патрубками підводу і відводу рідини та статичних кавітаторів, що складаються із ємності форми зрізаного конуса та допоміжних кавітаційних елементів - перфорованих дисків [1,2]. Недоліком таких пристроїв є необхідність у застосуванні потужних гідронасосних станцій із великим витоком води, що не дає можливості обробляти невеликі партії рідини.

         Відоме також устаткування для магнітного впливу на властивості  води [3,4], що складається  із  електромагніту або набору постійних магнітів через які проходить немагнітна трубка по якій протікає вода. Недоліком такого устаткування є необхідність  пристрою для створення напору рідини та невелика кратність обробки рідини.

         В основу даної конструкції покладено завдання створення мобільної малогабаритної установки із високою кратністю обробки рідини, низькими енергетичними витратами завдяки мінімальному постійному повітряному проміжку в електромагнітному приводі.

         Поставлене завдання досягається тим, що пристрій для кавітаційно-магнітної обробки води складається з  блоку постійних магнітів, які охоплюють немагнітний канал через який багатократно перетікає рідина у режимі гідрокавітації. Досягається сумарний вплив кавітаційного та магнітного впливу на рідину, який визиває зміну властивостей води.

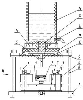
Конструкція кавітаційно-магнітного пристрою для обробки води з електромагнітним приводом показана на рис.1а.

 

 

а

 

 

 

б

 

Рис. 1 – Конструктивна схема вібраційного струминного гідрокавітатора:  1основа;  2 – пластина; 3 – пружна підвіска; 4 – проміжна плита;  5 – реактивна плита;  6 – електромагнітні котушки; 7 – активна плита; 8 – стійки; 9 – диск; 

 10 – мембрана; 11 – корпус;  12 – шток;  13 – постійні магніти; 14 – канал;

15 – ванна;  16 – кран

 

Він складається із  основи 1 на який встановлено пластину 2 віброприводу. На пружних підвісках 3 встановлені проміжна  плита 4 та реактивна плита 5 на якій встановлено електромагнітні котушки 6. На проміжній плиті 4 встановлено  активну плиту 7, які  між собою з’єднані плоскою пружною системою. На стійках 8 встановлено диск 9, який із мембраною 10  та корпусом 11 створює камеру гідропульсатора. Мембрана 10 з’єднана штоком 12 з проміжною плитою 4.  В корпусі 11 встановлені постійні  магніти 13, які охоплюють канали 14, що з’єднують камеру гідропульсатора та ванну 15 у якій встановлено  кран 16 для зливу обробленої води. На рис.1б показано вид А електромагнітного приводу.

Працює устаткування наступним чином: вода  заливається у ванну 15. Подається перемінний струм на котушки 6. Коливання від електромагнітного приводу передаються через шток 12 мембрані 10. Завдяки коливанням гумової мембрани 10 із дисками  рідина  отримує багатократний зворотно-поступальний рух через отвори 14. При  проходженні рідини через отвори 14 в них періодично утворюється кавітаційні порожнини завдяки  гідрокавітації.      Блок постійних  магнітів 13 створює неоднорідний магнітний потік з великим градієнтом напруженості.  Ці два фактори енергетично впливають на структуру води, змінюючи її властивості. Після певного терміну багатократної  обробки вода зливається через кран 15.

Вібраційний привод працює наступним чином. Дві суміжні плити, а саме проміжна 4 та реактивна 5, і які з’єднані через віброізолятори до нерухомої основи 1, рухаються синфазно (як одне ціле з однаковими амплітудами коливань) завдяки прикладеному між ними періодично змінному збуджуючому зусиллю, що розвивається електромагнітними віброзбудниками 6. Активна плита 7, кінематично збуджується від проміжної плити 4 через пружну систему  з сумарною жорсткістю на згин, та рухається в протифазі до двох суміжних плит [5].

Таким чином, завдяки синфазному руху проміжної та реактивної плити протифазному руху активної плити повітряний проміжок стає мінімальним і постійним та при значному тяговому зусиллі отримаємо незначні енерговитрати. Необхідно відмітити, що саме проміжна та активна плити, утворюють двомасову систему з певним резонансним налагодженням, і задають робочу частоту коливань механічної системи вібраційного приводу.

При роботі обладнання  виникають кавітаційні порожнини в отворах, що спричиняють явище гідрокавітації. Блок постійних  магнітів створює неоднорідний магнітний потік з великим градієнтом напруженості.  Ці два фактори енергетично впливають на структуру води, змінюючи її властивості.

Досліди [6-7], проведені на моделі установки, показали  збільшення  рН від 6,76 од до 8,12 од.. Досліджено оптично кристалічні осади води після обробки та випаровування крапель. Структура осаду дрібнокристалічна та більш структурована, спостерігається більше розтікання краплі, що свідчить про зменшення поверхневого натягу води після обробки, що говорить про зміну властивостей води.

Запропонована конструкція пристрою для кавітаційно-магнітної обробки води дає можливість прискорено  та багатократно обробляти невеликі обєми води  з незначними енерговитратами.

Джерела інформації:

1. Промислова власність. Офіційний бюлетень. 1993р. №3. Патент   №4949359      Кавітаційний змішувач / Козюк О.В., Литвиненко О. А. Опубл. 30.12.93. 5В0F5/00, D21 B1/361

2. Промислова власність. Офіційний бюлетень. 1993р. №3 Патент №4933495. Кавітаційний реактор / Козюк О.В., Березі В.В, Литвиненко О.А. Опубл. 30.12.93. 5С02. F1/78

3. Баран Б. А., Дроздовський В. Б. Вплив конфігурації магнітного поля на іонний обмін // Вісник технологічного університету Поділля. – 1999.№ 1. – C. 35.

4. Пат. 37414 А Україна 6 CO2F1/48. Пристрій для обробки водних розчинів магнітним полем / Баран Б.А., Дроздовський В.Б. №980951558; Опубл. 15.05.2001. Бюл. №4.

 5. Ланець О.С. Високоефективні міжрезонансні вібраційні машини з електромагнітним приводом.(Теоретичні основи та практика створення): Монографія / О.С. Ланець. Львів: Видавництво Національного університету «Львівська політехніка», 2008. – 324 с.

6.  Сілін Р.І., Гордєєв А.І., Третько В.В., Сорока І.І. Кавітаційна обробка та її вплив на склад води. Вісник ТУП. №3, 2002., С. 253-257.

 7. Сілін Р.І.  Технологія гідрокавітаційно-магнітної обробки води та вібраційне обладнання / Р.І. Сілін, А.І. Гордєєв, Б.А. Баран // Вісник ХНУ. Технічні науки. – 2008. –  № 3( 112 )  – С. 68–74.

8. Фізико-хімічні властивості води після кавітаційної обробки /[ Б.А. Баран, Р.І. Сілін, А.І. Гордєєв,  О.А. Копицяк] // Вісник ХНУ. Технічні науки. – 2008. –  № 5  – С. 24 – 26.