Мельник В.М.
Національний технічний університет України «КПІ»
КОРЕГУВАННЯ ЗОНИ ПРОСТОРОВОЇ
КОНЦЕНТРАЦІЇ ЕЛЕКТРИЧНОЇ ЕНЕРГІЇ ЕЛЕКТРОДА СВІЧКИ ЗАПАЛЮВАННЯ
Конструкція відноситься до машинобудування, зокрема
до електрообладнання двигунів внутрішнього згоряння, а саме до пристроїв
запалювання робочої суміші.
Відома свічка
запалювання, яка містить корпус з боковим електродом, встановлений у його
центральному отворі ізолятор з
центральним електродом, торець якого утворює з боковим електродом
іскровий проміжок і з’єднану з корпусом насадку, яка має внутрішню конусну
поверхню, що розширюється назовні, і канал для бокового електрода, насадка
закріплена у центральному отворі корпуса, а боковий електрод розташований зовні
насадки, причому кінець бокового електрода, утворюючий іскровий проміжок,
розташований над насадкою, крім цього, конусна насадка містить вентиляційні
отвори.
Недоліком
цієї конструкції є те, що при іскровому розряді значна доля енергії
витрачається на випромінювання і утворення ударної хвилі. Дана конструкція
свічки запалювання не дозволяє ефективно використовувати енергію іскрового
розряду, бо значна частина енергії розсіюється в об’ємі камери згоряння
двигуна. Це знижує енергетичний потенціал свічки запалювання в розумінні
швидкого і якісного займання робочої суміші, що в свою чергу, не дозволяє
створити надійну займистість робочої суміші в камері згоряння.
Відома також
свічка запалювання, яка містить корпус з боковим електродом, встановлений у
його центральному отворі ізолятор з центральним електродом, торець якого
утворює з боковим електродом іскровий проміжок. Свічка запалювання простіша у
виготовленні, але вона недостатньо ефективно запалює робочу суміш, і, крім
того, потребує застосування електричних струмів підвищеної потужності для
займистості робочої суміші, що призводить до зниження потужності двигуна і
збільшення викидів в атмосферу, а також
до передчасного електрохімічного руйнування поверхні електрода.
Зазначений
недолік обумовлений тим, що центральний електрод виконаний у формі циліндра з
коловим поперечним перерізом. Така форма виключає виникнення зон просторової
концентрації електричної енергії електрода, що призводить до необхідності
підведення електричних струмів підвищеної потужності для утворення іскри в
іскровому проміжку, а також вимагає мінімального іскрового проміжку для
забезпечення надійної роботи свічки запалювання.
В пропонує
мій конструкції поставлена задача зменшення потужності електричного струму, що
підводиться до свічки запалювання, а також збільшення іскрового проміжку шляхом
зміни форми поверхні нижнього торця центрального електроду, що збільшить
потужність двигуна і зменшить викиди в атмосферу, усуне передчасне електрохімічне
руйнування поверхні електроду, а також ліквідує загрозу детонації.
Поставлена
задача вирішується тим, що свічка запалювання, яка містить корпус з боковим
електродом, встановлений у його центральному отворі ізолятор з центральним
електродом, торець якого утворює з боковим електродом іскровий проміжок, новим
є те, що поверхня нижнього торця центрального електроду виконана у вигляді
параболоїда обертання.
Зазначені
відмітні ознаки забезпечують зміну плоскої колової поверхні нижнього торця
центрального електроду, що має місце в найближчому аналогу, на параболоїд
обертання, що за інших рівних з найближчим аналогом умов, збільшує просторову
поверхню електричного розряду, знижуючи тим самим витрати на проскакування
іскри. Це створює можливість для збільшення іскрового проміжку, що підвищить
ефективність займистості робочої суміші.
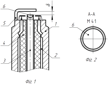
На кресленні
схематично зображена заявляєма свічка запалювання в поздовжньому перерізі (фіг.
1) і поперечний переріз А-А нижнього торця центрального електроду (збільшений)
(фіг. 2).
Свічка
запалювання містить корпус 1 з порожниною 2, в якій розміщений центральний
електрод 3, екранований від корпусу ізолятором 4. До зовнішньої поверхні
корпусу 1 приварено боковий електрод 5, який утворює іскровий проміжок δ з торцем центрального електроду у вигляді параболоїда обертання 6. Працює
свічка запалювання наступним чином. При заповненні робочою сумішшю камери
згоряння двигуна під час такту стиску, імпульс високої напруги подається на
центральний електрод 3, де на його нижньому торці формується збільшена поверхня
електричного розряду у вигляді стовпа вольтів, після чого виникає електрична
іскра, внаслідок чого спалахує робоча суміш. Виконання нижньої торцевої
поверхні центрального електрода у формі параболоїда обертання, замість плоскої,
дозволяє зменшити величину електричного імпульсу і збільшити іскровий проміжок,
що призведе до більш ефективної займистості і, як наслідок, до більш повного
спалювання робочої суміші, що підвищить потужність двигуна і зменшить викиди в
атмосферу, а також усуне передчасне електрохімічне руйнування поверхні
електроду і детонацію.
