Строительство и архитектура/4.Современные строительные материалы
Нурлыбеков
М.Б.-инженер, Мамыркулов М.Ы.- к.т.н., доцент,
Искаков Т.У.-д.т.н., профессор, Умирзаков Ж.Ж-инженер.
Южно-Казахстанский государственный университет им.М.О.Ауезов,
Республика Казахстан, г.Шымкент
Роторно-вибротурбинопропеллерный смеситель
для приготовления пенобетонной массы
В
современном строительстве одно из ведущих мест среди строительных материалов
занял автоклавный ячеистый бетон, благодаря достаточно высоким физико-механическим
свойствам характеристикам. При этом
традиционное предпочтение отдается газобетону, однако, как доказывает практика
последних лет и пенобетон имеет достаточно серьезные перспективы. Однако,
пенобетонные материалы имеют общий существенный недостаток, который заключается
в довольно низкой прочности при пониженной средней плотности, высокой усадке и
неоднородности состава. Последнее существенно влияет на первые две
характеристики, что связано с технологическими приемами перемешивания смеси.
Приготовление тонкодисперсных гомогенных
растворов и ячеистых смесей повышенной вязкости представляет определенную
трудность, связанный, в частности, с тем, что наряду с минеральными вяжущими и
песком в состав ячеистых смесей вводят в качестве порообразователя техническую
пену. Равномерное распределение каждого из компонентов, особенно пены,
оказывает решающее влияние на однородность ячеистой структуры и другие
физико-механические свойства пенобетона.
До
настоящего времени для приготовления ячеистобетонной массы применялись
различные смесители принудительного действия: турбулентные смесители,
вибробетоносмесители, вибротурбинные мешалки и др.(2. Стр. 192-197) Процесс
смешивания в турбулентном смесителе подобен воздействию на смешиваемую среду
рабочего колеса центробежного насоса. Смеситель представляет собой корпус с
вертикальной осью, внутри которого со скоростью 6-8 м/с вращается ротор.
Исходные материалы в зоне ротора приходят в вихревое хаотическое движение,
затем поднимаются вверх, движение при этом приобретает упорядоченное
направление вдоль стенок корпуса, после чего смесь возвращается к ротору. Для
предупреждения радиального вращения смеси в корпусе на его стенках
предусмотрены тормозные перегородки.
Существующие смесители для приготовления
пенобетонной массы имеет ряд недостатков: 1)повышенное значение В/Ц для
получения однородной смеси, способной легко перемешиваться с пеномассой;
2)разрушение пены в процессе перемешивания. Разрушение пены при перемешивании в
лопастных смесителях происходит из-за прямого механического воздействия
лопастей и других частей механизма на пена.
Вибрационное
перемешивание создает следующие преимущества: при получении колебательных
движений частицы смеси, соприкасающиеся с вибровозбудителем, получают ударный
импульс и передают его следующим частицам; частицы малого размера проникают при
этом в свободное пространство между крупными частицами, а цементное тесто
заполняет свободное пространство между
частицами, вытесняя оттуда воздух.
Для
устранения этих недостатков рассматривались некоторые технологические аспекты
более эффективного перемешивания пенобетонной массы: хотя при нормальных
значениях В/Ц вязкость раствора очень высокая, то после перемешивания с
пеномассой вязкость пенобетонной массы, благодаря разжижающей способности пены,
резко снижается и становится более текучей. Это дает основание предположению о
том, что применение определенных технологических приемов, временно снижающих
вязкость раствора до перемешивания с пеномассой, даст возможность снижения первоначального расхода воды и В/Ц,
повышения прочностных и других
физико-механических свойств пенобетона. Для этой цели применяли одновременное
вибрирование а процессе перемешивания раствора. Вибрационное воздействие
сообщают частицам раствора вынужденные колебания со скоростью, зависящей от
параметров вибрации и массы частиц. При этом соседние зерна различной массы
смещвются относительно друг друга, что сопровождается разрушением
коагуляционной структуры вызывая тиксотропное разжижение смеси.
Для предотвращение разрушения пены наряду
с вибрационным воздействием необходимо использовать турбинопропеллерный
механизм, который благоприятствует самопроизвольному перемешиванию растворной
части с пеной в “кипящем слою”. Использование такого
механизма для создания турбулентного потока можно значительно сократить
потребляемую мощность электродвигателя.
Строительная практика показала, что ранее
разработанный, коллективом автором Южно-Казахстанского Государственного
Университета имени М.Ауезова, вибротурбопропеллерный смеситель ((Инновационный патент РК
№20070, дата публикации 15.09.2008, бюл. №9)
имеет ряд недостатков. Недостатками смесителя являются большая продолжительность перемешивания для
получения пенобетонной смеси повышенной однородности из-за комкования
цементного теста на узком участке между коническим днищем корпуса и диффузором,
и как следствие, повышается длительность перемешивания и расход электроэнергии. Задачей исследований являлась устранение указанных
недостатков. Поставленная задача решается тем, что роторно-вибротурбинопропеллерный
смеситель дополнительно снабжается ротором для предварительного принудительного
перемешивания цементно-песчаной смеси.
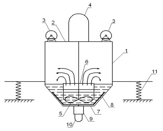
На рис.1.
изображена схема предлагаемого роторно-вибротурбинопропеллерного смесителя,
который состоит из корпуса (1), на герметически закываемой крышке (2) которого
установлены два вибратора (3) с частотой колебания 2800 об/мин,
электродвигатель (4) с приводным валом и пропеллером с переменным наклоном
плоскости (5), вращающийся со скоростью 16-25 м/с, вокруг которого установлен диффузор
(6) для направления движения исходных материалов вверх. На днище (7) корпуса установлен ротор (8) с
планетарным редуктором (9) и двигателем (10) для предварительного
принудительного перемешивания. Корпус смесителя установлен на раму через
пружины (11).
Процесс
перемешивания на роторно-вибротурбинопропеллерный смесителе происходит
следующим образом: в смеситель сначала подают воду затворения, затем через загрузочный люк подаются исходные
материалы (вяжущее, песок), включаются вибратор и ротор. Через 1-2 минуты
перемешивания подается пена. После подачи пены с помощью электродвигателя,
расположенного на крышке, пропеллер начинает интенсивно перемешивать смесь,
прогоняя её через диффузор. Пропеллер переменной наклонной плоскости
обеспечивает перемешивание материала в “кипящем слое” турбулентным потоком.

Рис. 1. Схема роторно-вибротурбинопропеллерного
смесителя
Производительность смесителя повышается на 25-30%,
за счет сокращения времени
перемешивания.
Опытно-промышленное испытание роторно-вибротурбинопропеллерного
смесителя на заводе ЖБИ-1 показало, что однородность смеси значительно
повышается, прочность увеличивается на 20-30%, при равнопрочном пенобетоне
позволяет сократить расход цемента на 20-25%.
Литература.
1. Королев К.М. Интенсификация
приготовления бетонной смеси. М: Стройиздат, 1976.с.97-103
2. Горяйнов К.Э. и др. Проектирование
предприятии производства железобетонных изделий. М.”Высшая школа” 1970.
3. Гиберов З.Г., Вернер Е.В. Механическое
оборудование предприятий для производства полимерных и теплоизоляционных
изделий.
М:”Машиностроение” 1973.