Физика/7. Оптика
Харенков В.А., Искандаров А.Ю.
Сибирский физико-технический институт,
Россия
Томский государственный университет,
Россия
Угловые и
энергетические характеристики люминесценции растворов красителя с наночастицами
алюминия
Спектроскопические методы исследования,
связанные с применением поверхностно-усиленных эффектов вынужденного
комбинационного рассеяния (ВКР) и вынужденной флуоресценции (ВР) находят
широкое применение в биологии, медицине, ближнепольной микроскопии и в ряде
других приложениях, касающихся
диагностики микропримесей [1,2,3,4]. Для усиления эффектов ВКР и ВР
диагностируемое вещество размещают либо на наноструктурированной подложке, либо
в растворе с коллоидными наночастицами. Физической причиной, обеспечивающей
усиление эффектов ВКР и ВР, является возбуждение локализованных плазмонных
резонансов в коллоидных наночастицах или наноразмерных островках подложки. При
этом изолированный одиночный сфероид из серебра или золота может обеспечить
усиление в 106-107 [1]. Для достижения таких высоких
значений усиления необходимо выполнение резонансных условий, а именно, частота
возбужденных плазмонных резонансов наночастиц должна совпадать с частотой
падающей (возбуждающей) волны или с частотой вторичной волны. Очевидно, это создает определенные трудности
в широком использовании методов поверхностного усиления на основе эффектов
плазмонных резонансов, хотя бы потому, что в видимой области спектра,
выраженными плазмонными резонансами обладают наночастицы золота (узкий спектр
плазмонного резонанса имеет максимум приблизительно на длине волны λплазм~ 530 нм, серебра (~ 420
нм), меди (~ 560 нм). В настоящее время ведутся работы в направлении сдвига
частот плазмонных резонансов наночастиц путем изменения формы наночастиц –
использование наночастиц в виде эллипсоидов, цилиндров, звездочек и т.д.,
создание композитных наночастиц из диэлектрического ядра и металлической
оболочки [5].
Существует еще один способ добиться
существенного усиления вторичного излучения исследуемых молекул – применение
агломерированных наноструктур сложной формы, представляющих собой скопления
близко расположенных наночастиц. Из теоретических расчетов известно, что вблизи
поверхности таких наноструктур существуют пространственные области (“горячие
точки”), в которых плотность мощности падающего поля увеличивается
приблизительно в 102 раз [6,7]. При этом выполнение условий плазмонного резонанса
необязательно.
Применение такого подхода существенно
расширяет спектральный диапазон применения метода поверхностно-активного
усиления. Более того, добавление в смесь исследуемого раствора с наночастицами
лазерного красителя при определенных уровнях интенсивности возбуждающего
излучения приведет к возникновению в полученной смеси вынужденного излучения
(суперлюминесценции) самого красителя. Пороги суперлюминесценции в смеси
красителя с наночастицами, как показано в [8,9], существенно ниже, чем пороги
суперлюминесценции в чистом растворе красителя. Отсюда, чувствительность метода
может быть повышена путем введения в смесь исследуемого раствора с
наночастицами молекул лазерного красителя, флуоресценция которого обеспечивает
более эффективный рост сигнала комбинационного рассеяния.
По сути дела, можно реализовать модель
низкопорогового инжекционного лазера на красителе, где инжектирующим излучением
является излучение комбинационного рассеяния диагностируемого вещества, фотоны
которого являются затравочными для развития вынужденного излучения молекул
красителя, находящегося в сильных локальных полях, сформированных вблизи
поверхности наноструктур.
Таким образом, задача повышения
чувствительности метода поверхностно-активного усиления вторичного излучения от
диагностируемых молекул путем введения в исследуемые растворы с наноструктурами
молекул лазерно-активного люминофора является актуальной. Нужно отметить, что
вопросы развития вынужденной люминесценции в смесях молекул люминофоров с
агломерированными наночастицами изучались только для случаев резонансного
воздействия, когда частота падающего внешнего излучения или частота
возникающего вторичного излучения совпадают с частотами плазмонных резонансов
наноструктур. При этом используются
наноструктуры серебра и золота, которые имеют плазмонные резонансы в видимой
области спектра. Вопросы развития вынужденной люминесценции
(суперлюминесценции) в смесях лазерно-активных молекул с наноструктурами других
металлов в случае нерезонансного воздействия практически неосвещены.
Целью данной работы является исследование
энергетических и пространственных характеристик суперлюминесценции, возникающей
в растворе лазерного красителя с агломератами металлических наночастиц в случае
отсутствия плазмонных резонансов.
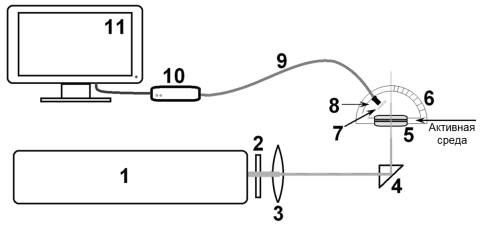
Экспериментальное исследование проводилось
на установке, схема которой представлена на Рис. 1. Сфокусированное лазерное
излучение Nd:YAG-лазер Lotis
TII LS-2132 UTF (λ=532 нм, длительность импульса 6 нс, частота
повторения импульсов 1 Гц, диаметр лазерного пучка 2 мм) направлялось через
призму полного внутреннего отражения перпендикулярно вверх и попадало на
горизонтально расположенную кювету с раствором лазерного красителя родамин 6G (R6G) c концентрацией
10-3 моль/литр и наночастицами. Такое расположение кюветы позволяло
избежать возможного неравномерного по высоте осаждения наночастиц. Оптический
сигнал, проходя через коллиматор и далее оптоволокно диаметром 400 мкм,
регистрировался спектрометром Avaspec-ULS2048L-USB2 (450-680 nm).

Рис. 1. Схема экспериментальной установки: 1 – Лазер (λ=532 нм), 2 – фильтр СЗС-25 (для снижения фонового излучения с λ=1064 нм), 3 – фокусирующая линза, 4 – призма полного внутреннего отражения, 5 – кювета (толщина-140 мкм), 6 – гониометр, 7 – фильтр ОС-12 (для снижение фонового излучения λ=532 нм), 8 – коллиматор (входное окно приемной системы), 9 – оптоволокно, 10 – спектрометр, 11 – ПК.
Использованные в эксперименте наночастицы
алюминия (Al) (Рис. 2), были получены электровзрывным способом в атмосфере
аргона и представляют собой агломераты наночастиц. Размер агломератов 100-4000
нм, размер наночастиц, составляющих агломераты – 10-500 нм.

Рис. 2. Фотография агломерированных наночастиц алюминия.
Исследование спектров поглощения рабочих
растворов с наночастицами показало, что в полосу поглощения наночастиц не
попадает ни излучение накачки (λ = 532 нм), ни излучение люминесценции
лазерного красителя R6G. Следовательно, эффекты плазмонного резонанса в наших
условиях не проявляются.
Спектры свечения растворов представлены на
Рис. 3 при различных интенсивностях накачки.
Рис. 3. Спектр излучения раствора с агломерированными наночастицами Al: вынужденного и спонтанного излучения.
Из полученных в ходе эксперимента спектров
свечения были построены зависимости интенсивности свечения растворов от энергии
накачки (Рис. 4, a,b) и
определены пороговые значения накачки суперлюминесценции рабочих растворов.
Значения порогов суперлюминесценции определялись по резкому изменению скорости
роста интенсивности свечения растворов.


Рис. 4. Зависимость интенсивности свечения R6G с наночастицами Al (a) и R6G без наночастиц (b) от энергии накачки
Из представленных зависимостей видно, что
внедрение в лазерный краситель R6G используемых наночастиц Al приводит к существенному (почти в 30 раз)
уменьшению порога суперлюминесценции по сравнению с чистым красителем и
повышению интенсивности свечения при фиксированных накачках, т.е. к повышению
эффективности суперлюминесценции.
Пространственные (угловые) характеристики
суперлюминесценции растворов красителя с наночастицами Al регистрировались на установке, представленной на Рис.
1., где 6 – гониометр, с помощью
которого происходила регистрация спектров свечения растворов под различными
углами. Угловое распределение интенсивности свечения растворов при различных
углах наблюдения представлены на Рис. 5 (кривые отнормированы по своим
максимальным значениям).

Рис. 5. Нормированная по максимуму зависимость интенсивности свечения активной среды от угла расположения приемника: (1) родамин 6G; (2) R6G с одиночными наночастицами; (3) R6G с агломерированными наночастицами Al (на вставке схематично продемонстрирована регистрация сигнала)
Видно, что максимальное значение
интенсивностей суперлюминесценции в растворах красителей с наночастицами
наблюдается под углами, близкими к 50° (отсчет углов идет от горизонтальной
поверхности кюветы, как продемонстрировано на вставке Рис. 5).
Полученные результаты свидетельствуют, прежде всего о том, что
эффективность лазерной генерации в растворах R6G с
агломерированными наночастицами Al значительно
выше, чем для чистого раствора красителя. В наших экспериментах были устранены
условия реализации сильного рассеяния, то есть условия random-лазера, а также отсутствовали эффекты плазмонных
резонансов. Поэтому можно считать, что более низкое значение порога
суперлюминесценции в растворах с агломератами наночастиц Al по сравнению с интенсивностью суперлюминесценции в
чистых растворах обеспечивается более высокими интенсивностями локальных
оптических полей вблизи поверхности агломерированных наночастиц Al. Этот обнаруженный нами факт подтверждают результаты
теоретических работ [6,10], в которых показано, что интенсивность локальных
полей вблизи группы наночастиц резко возрастает с уменьшением расстояния между
наночастицами.
Обратимся к полученным угловым распределениям суперлюминесценции,
которые показывают, что основная доля энергии суперлюминесценции
распространяется в пределах углов от 40° до 60°. Как показывают теоретические
расчеты, сделанные в [11-14], подобное угловое распределение характерно для
излучения люминесцирующей молекулы как элементарного диполя. При этом в [11-14]
молекула помещена в воду, а излучение выходит через стеклянную пластинку (в
наших экспериментах излучение выходит из спиртового раствора в стеклянную
подложку и далее в воздух). На Рис. 6 показано приведенное в [14] угловое
распределение интенсивности спонтанной люминесценции молекулы, находящейся на
границе раздела вода-стекло.

Рис. 6. Теоретически рассчитанное распределение люминесценции молекулы [14]
Такая сложная картина пространственного распределения интенсивности
люминесценции молекулы объясняется в [11-14] особенностями, характерными для
излучения элементарного диполя.
Полученная в наших экспериментах диаграмма
направленности вынужденного излучения красителя (суперлюминесценции) очень
похожа на полученные расчетным путем в [11-14] диаграммы направленности
спонтанно излучающей молекулы люминофора. Такое сходство можно объяснить тем,
что вынужденное излучение рождается из спонтанного и в случае отсутствия
оптического резонатора должно повторять угловое распределение спонтанного
излучения.
При внедрении агломерированных наночастиц Al размером 100-4000 нм в объемной доле 2 % в слой раствора толщиной 140 мкм лазерного
красителя родамин 6G концентрации 10-3
моль/л происходит понижение энергетического порога суперлюминесценции
приблизительно в 30 раз по сравнению с чистым раствором R6G. Угловое
распределение интенсивности суперлюминесценции раствора красителя с
агломерированными наночастицами имеет лепестковую структуру с максимумом под
углом приблизительно 50°. Экспериментально полученная диаграмма направленности
вынужденного излучения практически совпадает по форме с теоретически
рассчитанными в [11-14] диаграммами направленности спонтанного излучения
молекулы люминофора. При использовании композитной среды из агломерированных
металлических наночастиц и молекул люминофора в качестве усилителя вторичного
излучения диагностируемых веществ оптимальным углом регистрации оптических
сигналов являются углы, близкие к 50°.
Работа выполнена в рамках Государственного
задания Министерства образования и науки РФ, регистр. номер 2.4219.2011.
Литература:
1.
Kneipp K., Kniepp H., Itzkan I. et al. Surface-enhanced Raman scattering
and biophysics // J.Phys.:Condens.matter. 2002. V. 14. pp. R597-R624.
2.
Otto A., Mrozek I., Grabhorn H., Akeman W. Surface-enhanced Raman
scattering // J.Phys.:Condens.matter. 1992. V. 4. pp. 1143-1212.
3.
Lakowicz J. Radiative decay engineering: Biophysical and biomedical
applications // Anal. Biochem. 2001. V. 298. pp. 1-24.
4.
Lakowicz J., Shen Y., D´Auria S. et al. Radiative decay
engineering: 2. Effects of silver island films on fluoresctnce intensity,
lifetime, and resonance energy transfer // Anal.Biochem 2002. V. 301. pp. 261-277.
5.
Климов В.В.
Наноплазмоника / М.:Физматлит. 2009. 480 с. (in Russian).
6.
Sweatlock L.A., Maier S.A., Atwater H.A. Highly confined electromagnetic
fields in arrays of strongly coupled Ag nanoparticles // Phys. Rev. 2005. V. 62. pp. 10265-10287.
7.
Олейников В.А., Первов
Н.В., Мчедлишвили Б.В. Трековые мембраны в темплейтном синтезе ГКР-активных
наноструктур // Критические технологии. Мембраны, 2004. №. 4(24). pp. 17-28
8.
Noginov M. A., Zhu
G., Bahoura M., Small C. E., et al. Enhancement of spontaneus and
stimulated emission of a rhodamin 6G dye by an Ag aggregate // Phys. Rew. B. 2006.
V. 74. pp. 184-203.
9.
Донченко В.А., Землянов
Ал.А., Панамарев Н.С., Харенков В.А. Влияние локальных полей вблизи
агломерированных наночастиц на эффективность суперлюминесценции в растворах
органического красителя // Опт. атм. и океана. 2012. №. 11. pp. 999-1002.
10. Zhdanov A., Kreuzer
M.P., Rao S. Detection of Plasmon – enhanced luminescence fields from an
optically manipulated pair of partially metal covered dielectric spheres //
Optics letters. 2008. V. 33, №. 23. pp. 43-52.
11. Ruckstuhl T., Verdes
D. Supercritical angle fluorescence (SAF) microscopy // J. Opt. Soc. Am. 2004. V.
12, №. 18. pp. 4246-4254.
12. Enderlein J., Ruckstuhl
T. The efficiency of surface-plasmon coupled emission for sensitive
fluorescence detection // J. Opt. Soc. Am. 2005. V. 13, №. 22. pp. 8855-8865.
13. Ruckstuhl T., Verdes
D., Winterflood C., Seeger S. Simultaneous near-field and far-field
fluorescence microscopy of single molecules // J. Opt. Soc. Am. 2011. V. 19, №. 7. pp. 6836-6844.
14.
Fort E., Gressilon S. Surface enhanced fluorescence // J. Phys. D: Appl.
Phys. 2008. V. 41. pp. 013001-013031.