Технические
науки/12. Автоматизированные системы управления на производстве
Асп.
Абакшина О.А., к.т.н. Митрофанов С.С.
Санкт-Петербургский
национальный исследовательский университет информационных технологий, механики
и оптики, Россия
Фотоэлектрический
автоколлиматор базе приемника Мультискан
Предлагаемый
фотоэлектрический автоколлиматор на базе приемника Мультискан позволяет
расширить диапазон измерения углов и увеличить быстродействие прибора сохраняя
при этом достаточно высокую точность измерений.
Ключевые
слова: фотоэлектрические
приборы, позиционно-чувствительные приемники.
В течение длительного времени в оптическом
приборостроении предпринимаются попытки создания простых и надежных фотоэлектрических
устройств, способных автоматически измерять линейные и угловые размеры [1].
Работы в данном направлении не привели пока к созданию достаточно простых и
дешевых приборов, которые удовлетворяли бы требованиям машиностроителей при
работе в условиях, как лаборатории, так и цеха. Большинство таких устройств
построено на приборах с зарядовой связью и оптических растрах, которые требуют
применения довольно сложной электронной аппаратуры для обработки измерительного
сигнала и имеют ограниченный динамический диапазон.
Существующие
серийно производимые автоколлиматоры на основе ПЗС-матрицы отечественных и
зарубежных фирм имеют достаточно небольшой диапазон измерений.
Значительная часть проблем, возникающих
при разработке аппаратуры такого класса может быть решена при использовании
разработанного в РАН позиционно-чувствительного фотоприемника мультискан,
позволяющего непосредственно регистрировать положение светового пятна. Данный фотоприемник обладает теми же возможностями,
что и ПЗС-строка, при большем быстродействии.
Мультискан
является многофункциональным фотоприёмным устройством. Опрос его фоточувствительных элементом — кремниевых
фотодиодов — производится при помощи пар встречно включенных
коммутационных диодов меньшей площади за счет перемещения вдоль структуры
эквипотенциальной линии электрического поля. В процессе сканирования токи со
всех приемных элементов постоянно поступают во внешнюю цепь, а информация о
пространственном распределении освещенности формируется с учетом весовых
коэффициентов, с которыми суммируются
фототоки отдельных элементов. Режим коммутации, исключающий накопление
заряда на элементных емкостях, обеспечивает регистрацию мгновенного
распределения освещенности, при этом выходной сигнал мультискана Uaus связан с линейным перемещением измеряемого объекта x выражением:
![]()
где L — длина
светочувствительной площадки мультискана, Uо— опорное напряжение, подаваемое на мультискан.
Преимущество этого приёмника заключается в реализации режима
непрерывного слежения за текущим значением координаты светового сигнала. Такой
режим работы осуществляется за счёт уникальных характеристик фотоприёмника
мультискан – высокой разрешающей способности, возможности фильтрации фототоков
посторонних засветок превышающих величину полезного сигнала более чем в 1000
раз. Высокая точность метода обусловлена тем, что определяется положение такого
устойчивого признака оптического сигнала как его медиана.
Наибольшее влияние на точность измерений
оказывают нелинейность и нестабильность мультискана.
Автоколлиматор на основе
фотоэлектрического приемника Мультискан позволяет расширить диапазон измерения
углов и увеличить быстродействие прибора.
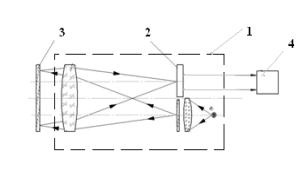
На кафердре КиПОП СПб НИУ ИТМО создан
макет автоколлиматора, где в качестве приемного устройства используется
позиционно-чувствительный приемник мультискан.
Новизна
этого макета заключается в использовании оптической схемы, которая совмещает в
себе функцию коллиматора и телескопа, т.е. работает в ползрачка.
Для проведения эксперимента использовались
следующие устройства, составляющие лабораторную установку:
-
фотоэлектрический автоколлиматор 1 с приемником мультискан 2;
-
теодолит 2Т2А на котором закреплено зеркало 3;
-
вольтметр прецизионный G1202.010 4.
Целью исследований являлось определить
нелинейность и нестабильность мультискана при проведении угловых измерений в
диапазоне от 0º до 2º.
Функциональная схема и фотография установки представлены на рис.
1.
|
|
251658240 |
Рис. 1. Функциональная схема и фотография установки
Установка представляет собой
фотоэлектрический автоколлиматор 1, где в качестве чувствительного элемента
используется мультискан 2. Для проверки характеристик приемника в качестве
эталонного средства измерения используется теодолит с установленным на нем
зеркалом 3. Теодолит по отношению к исследуемому автоколлиматору имеет
метрологический запас. Величина напряжения, снимаемого с выхода мультискана, фиксируется цифровым
вольтметром 4.
Для построения графика зависимости угла
наклона зеркала от выходного напряжения мультискана – графика нелинейности
мультискана (рис. 2) было проведено три серии измерений. Затем в редакторе MS Excel
найдено средние значения. И по этим данным построен график нелинейности.

Рис. 2. График
нелинейности мультискана
Из
графика видно, что зависимость выходного напряжения от угла в диапазоне от
0º до 2º - практически линейна. При этом погрешность измерений углов
составила 2,4”, что составляет 0,003% от всего диапазона измерения.
Определение нестабильности мультискана
проводилось на этой же установке. Проводилось три серии измерений, показания
вольтметра снимались каждые 60 секунд в течение часа. Каждая серия измерений
проводилась для нового значения угла задаваемого теодолитом.
Результаты измерений
представлены в виде графиков на рис. 3.

Рис. 3. Графики
нестабильности мультискана
Исходя
из полученных данных и графиков следует, что величина нестабильности не
превышает 0,002В.
По данным вышеописанных
экспериментов сделаем вывод о целесообразности использовании мультискана в
качестве чувствительного элемента при контроле углов.
Благодаря введению мультискана расширился
диапазон измерения автоколлиматора.
Существенным преимуществом использования
мультискана в автоколлиматорах является высокое быстродействие позволяющее
измерять углы в динамическом режиме, малое число элементов конструкции и,
следовательно. Высокая надёжность.
Дальнейшие исследования погрешностей и их
компенсации в приборах на основе приемника мультискан будут представлены в
следующих работах.
Литература:
1. С.М. Латыев.
Конструирование точных (оптических) приборов: Учебное пособие. – СПб. Изд-во:
Политехника, 2007. – 579 с.
2. Воронин А.А., Митрофанов
С.С. Исследование нелинейности позиционно-чувствительного приемника фирмы «Hamamatsu»,
Известие вузов. Приборостроение, 2007г, Т.50, №4, стр. 47-50.