S. Shestakov1, R.
Rink2
1 Moscow State
University of Technology and Management, Russia,
e-mail: sdsh@mail.ru
2 Oil Tech Production OY, Estonia,
e-mail:info@oiltech-nordic.eu
A
Criterial Assessment of Quality Transformations a Plane Elastic Wave in the
Solid-State Resonant Sonotrodes
-
the resistance to the bending vibrations at the high value of the
coefficient of transformation;
-
disposition to the emergence of the bending a vibration modes;
-
measure of sharpness of the resonance, which determined by the shape of
the profile function.
It is shown that
the best is in all respects is sonotrode, the function of the profile of which
is described by the equation of the line of the flow path of the wave vector in
the canonical stepped sonotrode.
Optimization of the
design of resonant sonotrodes (acoustic waveguide) that are part of the
ultrasonic vibrating systems is an important engineering problem. Is correct
solution of this problem provides the highest values of energy
efficiency in the transmission of elastic waves in the load.
Oscillatory systems
operating in devices for the treatment of the solid (for example, plastic
deformation) may be described by characteristics of idling. Optimization of
waveguide transformers such systems is carried out by means of quality factor f Eisner [1]. Was proposed a universal criterion q [2]. These criteria are non-trivial criterias of similarity that allow at the choice of the profile
function the sonotrode is minimize mechanical stresses in it by optimizing the
cross-section and the curvature of the surface in the plane of the antinodes of
oscillatory deformations at obtaining maximum coefficient of transformation.
Thus, they provide a reliability and reduce the possibility of bending
vibrations of the sonotrode, which can dissipate part of the energy.
More stronger load have systems transmitting
oscillations in the substance which have not elasticity of shape (the liquids).
If sonotrodes of such systems do not contain the stress raisers – grooves,
grooves or holes – near the antinodes of strain, then criterion:
,
(1)
where: K – stress concentration factor; m – the transformation ratio of the optimized sonotrode; M – transformation ratio sonotrode with
stepped profile with the same areas ratio on the ends; emax – the maximum by
length of sonotrode value vibrational strain; emax,0 – the maximum strain along the
length of sonotrode with a coefficient of transformation to 1, can be written,
as:
(2)
In this case
graphics functions q(m) for the
most common forms of the profiles of sonotrodes will have the form shown in
Fig. 1.

FIG. 1.
Functions of the quality criterion q from coefficient transformation m, excluding the
effect of stress concentrators.
1 -
equiline sonotrode [3,4], the profile of which is described by lines of the
flow path of the wave vector in the stepped sonotrode at the height of the
canonical conformal invariant h = 0,95;
2 -
sonotrode, the profile of which is composed of
line parallel to the axis x, fillets, chamfer and another line parallel
to the axis of x, which conjugate (congruent) together;
3 - hollow chamfer sonotrode;
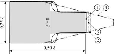
4 - cylindrical-conical sonotrode.
For correctness of
comparison the node of vibrational displacement all sonotrodes is located at a
distance of 0,25l from the end of
the larger diameter. In FIG. 2 the transformation ratio of all sonotrodes is 4.

FIG. 2. The profiles of
investigated sonotrodes.
In the new interpretation criteria q(m) its graph for stepped canonical sonotrode in FIG. 1 will look line gray.
In this case m = 1,
.
In FIG. 1 clearly shows that in the range of
transformation ratios, which provide condition for the preservation of a flat
wave front, the worst is sonotrode with cylindrical-conical shape, and the best
- with equiline profil. The rest almost do not differ from each other and from
the stepped sonotrode.
For a comprehensive evaluation of the quality the
sonotrodes oscillatory systems operating under high mechanical loads, it is
proposed two new criterion - a criterion for passive mass s (the term "passive mass"
introduced E. Kikuchi [5]) and quality factor of form d = äL/äf. The first of these is given by:
, (3)
where: v, V, V0 – volumes of sonotrode
what assessed, the stepwise sonotrode with the same coefficient transformation
and a sonotrode with coefficient transformation m = 1, the sectional area of which equals the area of
the smaller end of stepwise sonotrode, respectively; L – a resonant length of the studied
sonotrode; s(x) – the function of the
cross-sectional of studied sonotrode along its length.
Such type of
criterion selected from the consideration that the sonotrode with a constant
cross-section not has a passive mass, so masses of the sonotrodes from the same
material or volumes of sonotrodes from different materials as in this case,
must be compared without volumes which equal the length of the waveguides,
multiplied by area of its smaller end.
The graphical
comparison profiles of sonotrodes, which were considered by availability a
passive mass shown in Fig. 3.

FIG. 3 Functions of the
criterion of passive masses
s from transformation ratio m.
Sonotrode of the
equiline profile only one may have a volume of passive mass smaller than in the
stepped transformer, where it is equal to 1 (solid gray line). The waveguide 2
with increasing m the criterion is
increases, so as the ratio of the radius of chamfer and internal rounding (fillet)
constantly, whereas, for example, the radius of curvature equilines flux of the
field of wave vector at the canonical sonotrode in the wide portion more than
in the narrow (see Fig. 2). Larger
values criterion s at the waveguide
cylindrical-conical profile has the strong difference from profile the type of
equiline flow in a stepped transformer with the same ratio of the area of input
and output ends. He has willed, conditionally, with up to 8 time’s larger coefficient
of transformation.
Criterion q and the criterion s show that the advantages of
the waveguide 3 before hollow chamfer transformer in given conditions occur
only in the field of transformation ratios below 2.3. Passive masses are
responsible for the presence of additional modes of oscillation in the
sonotrode (other than main: strictly longitudinal and strictly transverse),
hence and for additional uncontrolled energy dissipation at a time when the
sonotrode fully immersed in the environment in which it should transfer energy
fundamental modes of oscillation.
Therefore, smaller
value of the criterion s (especially the smaller then 1) point to the
possibility of obtaining high efficiencies of sonotrode. It is essential for
the acoustic transformers on which are based work, for example, the
sonochemical reactors cylindrical wave [6].
The second newly
proposed criterion - the criterion "quality factor" of form d, shows amount by which the
hypothetical should be changed the resonant length of sonotrode for a given
change of sound velocity in the material of which it is made, or at change
frequency of the oscillator.
The need to analyze
the sonotrodes with this criterion arises from need to pre-assessment
"quality factor" oscillating system without its full-scale
simulation. Criterion d in the form in
which it is proposed, allows evaluating the resonance characteristic of the
projected waveguide independently of characteristics scattering of the material
from which it is made. Clearly, the larger on magnitude of this criterion
values indicate higher sensitivity to changes sonotrode resonance
condition, i.e. the sharpness of the peak, and therefore the possibility of
obtaining large amplitude values vibrational displacement at resonance.
Table 1 shows the
values of the criterion "quality factor" of form the
considered above sonotrodes at a constant value of m and the position node of the vibrational displacement õnode/L. The values were
obtained as the average in the range of variation of frequency (0,9...1,1)f.
Table 1
|
Criterion
|
Value |
|
d canonical |
1,00 |
|
d
1 |
1,10 |
|
d 2 |
0,86 |
|
d 3 |
0,89 |
|
d 4 |
0,91 |
REFERENCES
1. Physical Acoustics
/ eds. W. Mason, V.1, Part B, New York, London: Academic Press, 1964
2. Shestakov S. The
optimization criterion of acoustic waveguide transformer // Proceedings of the
X Session Russian Acoustical Society, V2.- Mîscow.:
GEOS, 2000.- pp. 115-119
3. Patent RU 2183141, 2002
4. Patent RU 2311971, 2007
5. Ultrasonic
transducers / eds. Y. Kikuchi, Tokyo: Corona Publishing Company, Ltd., 1969
6. Rink R. et al. The Sonochemical Reactors with Symmetric
oscillatory Systems of the Acoustic Cells // International Journal of
Research and Reviews in Applied Sciences, V12, 3, pp. 391-396, 2012