Сельское хозяйство/2.Механизация
сельского хозяйства
к.т.н Сёмов И.Н.
ФГОУ ВПО «Пензенская
ГСХА», г. Пенза
Барабанный дражиратор для семян
сахарной свеклы
Дражирование - это создание на поверхности семян
искусственной оболочки, увеличивающей их размеры и массу, выравнивающее
поверхность, что позволяет использовать их для точного посева и тем самым
избежать в последующем ручного прореживания, что значительно сокращает затраты
ручного труда. Введение в дражировочную массу инсектицидов, фунгицидов, гербицидов
защищают растения соответственно от вредителей, грибных заболеваний, сорных
растений, а добавка стимуляторов роста, микроудобрений, способствует
прорастанию на начальных периодах развития растений [1].
Однако существующие конструкции машин для
дражирования семян сахарной свеклы не отвечают требованиям по
производительности и качеству дражирования. Поэтому с этой целью в ФГОУ ВПО
«Пензенская ГСХА» был разработан, изготовлен и испытан барабанный дражиратор
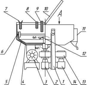
(рисунок 1) [3].
Работает аппарат для дражирования семян
следующим образом. Рабочий орган 5, установленный в кожухе 4 получает вращение
с угловой скоростью ω1 от электродвигателя 14 через редуктор 13, а
спиндиск 12 с лопатками через
электродвигатель 2 получает вращение ω2 в противоположную сторону. Исходные
компоненты дражировочной массы и семена сельскохозяйственной культуры через
трубопроводы 7, 8, 9 поступают в рабочий орган 5, в заданном количестве и
последовательности. Затем начинается процесс дражирования, в результате
которого семена, изменяя
направление и скорость вращения под действием рабочего органа 5, обволакиваются защитной оболочкой и перемещаются к
переферии где воздействуя с рассекателями
6 измененяют свою траекторию движения от перефирии рабочего органа 5 к его
центру (зоне дражирования). При этом для увеличения равномерности
нанесения оболочки на семена включается вентилятор 3. Для контроля процесса
дражирования предназначен верхний люк 10. По окончании процесса дражирования
выгрузка семян осуществляется через выгрузной люк 11.


Рисунок 1 – Конструктивная схема
барабанного дражиратора семян: 1 – рама; 2, 14 – электродвигатель;
3 – вентилятор; 4 – кожух
; 5– рабочий орган; 6 – рассекатель семян; 7,8,9 – отверстия для трубопроводов; 10 – крышка; 11 – выгрузное устройство; 12 – спиндиск; 13 – редуктор.
Изменение скорости и времени дражирования семян
осуществляется путем изменения частот вращения ω1 рабочего
органа 5 и ω2 спиндиска 12 с лопатками. В исследованиях в
качестве исходного сырья были использованы апробированные и зарегистрированные
препараты, имеющие право применяться на территории Российской Федерации
Исследования проводились согласно отраслевому
стандарту СТО АИСТ 10.4-2004 на заводе по дражированию семян ООО «ФМРус» в 2009…2010 годах на двух экспериментальных
дражираторах, установленных в линию по дражированию семян (рисунок 2). В качестве семенного материала использовались
семена сахарной свеклы ЛМС-94.
Производственные исследования подтвердили
эффективность применения разработанного барабанного дражиратора.

Рисунок 2 – Общий вид линии с
экспериментальными дражираторами: 1 –
транспортер; 2 – дражираторы; 3 – пульт
управления дражиратором; 4 – сушка дражированных семян
Применение дражиратора обеспечивает
качество продражированных семян на уровне 96…98%, при производительности 264 кг продражированных
семян в смену. Экономические расчеты подтверждают,
что применение экспериментального дражиратора для семян сахарной свеклы
экономически целесообразно. Годовой прирост прибыли при нормативной годовой
загрузке 400 ч составил 207077 рублей при сроке окупаемости дополнительных
затрат 1,28 года [2].
Литература
1. Кухарев, О.Н.
Дражирование семян [текст] / О.Н. Кухарев, И.Н. Семов, А.М. Чирков //
Вклад молодых ученых в инновационное
развитие АПК России: сборник статей научно-практической конференции. – Пенза:
РИО ПГСХА, 2009. – С. 53.
2.
Кухарев, О.Н. Результаты исследований барабанного дражиратора [текст] / О.Н. Кухарев, И.Н. Семов, А.М. Чирков //
Нива Поволжья . – 2010. – №1 – С. 54-57.
3. Пат. 97238 РФ, МКИ3
А 01 С 1/00.Аппарат для дражирования семян /О. Н. Кухарев, И.Н Сёмов,
А.М. Чирков. - №2009119789/13(027306)