Д.т.н.,
профессор «БашГУ», руководитель Технопарка ГЛОНАСС-БашГУ» Сулейманов Н.Т.
Башкирский
государственный университет, Россия
Способы решения задач построения
волоконно-оптических систем обнаружения несанкционированных врезок в
магистральные трубопроводы
 
 
Актуальность
Проблема обеспечения надежной и безопасной эксплуатации трубопроводных систем не имеет национальных границ.
Защита нефтепродуктопроводов и газопроводов от аварий и повреждений становится все более серьезной проблемой в различных регионах мира. Экологический ущерб и экономические потери от аварий, хищений, вандализма и террористических актов заставляют ставить вопрос о создании эффективных систем защиты трубопроводных магистралей.
По статистическим данным число криминальных врезок измеряется десятками в день, а убытки – миллионами долларов. При этом существующее контрольное оборудование не способно противостоять таким воздействиям и предотвратить хищения нефтепродуктов в период их транспортировки.
Применяемые в трубопроводном транспорте диагностические и охранные системы не обеспечивают возможность оперативного реагирования на врезки, фиксируя линии по происшествию времени уже свершившийся факт потери продукта. Тем самым, проблемы обнаружения несанкционированных врезок и утечек, предотвращения хищений энергоресурсов и обеспечения экологической безопасности являются актуальными при эксплуатации магистральных и промысловых нефтепроводов.
 
Существующие методы решений проблем несанкционированной врезки основаны на математическом моделировании и измерениях давления. Основаны на математическом моделировании и измерениях давления, расхода, плотности и температуры продукта (диагностика по волне давления, анализ профиля давления, метод массивного баланса, метод давления расхода).
Однако данный метод, несмотря на многочисленные примеры внедрения, имеет существенные недостатки:
1. В процессе эксплуатации трубопровода на стенках его откладываются продукты коррозии, происходит прилипание вязкого продукта к стенкам, т.е. происходит локальное изменение гидравлического диаметра трубопровода, что невозможно учесть ни моделированием, ни расчетами без дополнительных объемных и тщательных обследованиях внутренней поверхности трубопровода по всей его протяженности.
2. Необходимо учитывать местные сопротивления (изгибы, повороты, подъемы, переходы с одного диаметра на другой, арматуру) как слева от места течи, так и справа от нее.
Системы обнаружения
несанкционированных врезок в трубопроводы, выполненных в виде «Волоконно-оптических преобразователей информации»
(«ВОПИ»), может осуществляться различными способами:
1. ВОСПИ с использованием элементов электронной коммутации и
волоконно-оптической линии связи.
2. ВОСПИ  с использованием
оптико-электронных устройств коммутации и волоконно-оптической линии связи.
3. ВОСПИ с использованием устройств оптической коммутации с
электрической линией связи.
1. ВОСПИ с использованием
элементов электронной коммутации и волоконно-оптической линии связи
Для построения данной системы применяются традиционные элементы и блоки
бесконтактной электронной коммутации. Групповой выходной сигнал передается к
объектам управления в виде светового потока по линии передачи данных (Рис.1).
Система содержит электронные коммутаторы ЭК1... ЭКп, которые управляются либо с помощью механического воздействия аппарата, либо подачей на вход электрического сигнала. Выходные сигналы коммутаторов ЭК вводятся в электронный шифратор ЭШ для формирования группового сигнала. Групповой электрический сигнал ЭШ в устройстве Пр преобразуется в оптический сигнал и вводится в волоконно-оптический канал ВОК передачи данных. В качестве Пр могут быть использованы лазерные диоды.
На выходе
каждого канала ВОК устанавливаются фотоприемники, выходные электрические
сигналы которых подводятся к выходам 
электронного дешифратора   ЭД,   где  
групповой  сигнал 
распределяется  по индивидуальным каналам каждого объекта
управления. Выходной сигнал усилителей У1, У2, ..., Уп индивидуальных
каналов используется для воздействия на контролируемый объект.
К недостаткам этой системы можно отнести наличие множества электронных
коммутаторов, имеющих низкую помехозащищенность и надежность.
2.
ВОСПИ с использованием оптико-электронных устройств коммутации и волоконно-оптической
линии связи
Совершенствование электронных систем передачи
данных связано с увеличением их быстродействия, повышением надежности и уменьшением габаритов, расширением
функциональных возможностей за счет улучшения параметров элементов и
блоков бесконтактной коммутации.
Особый интерес
представляет создание полностью оптических информационных систем передачи
данных, в которых сигналы оптического
канала будут не только являться носителем информации, но и выполнять функции
управляющих. 
 

 
 
Рис.1. Электронно-оптическая система передачи данных с использованием элементов электронной коммутации и волоконно-оптической линии связи
Также перспективно в настоящее
время сочетание методов и элементов традиционной электроники с
различными оптическими явлениями, причем в этих системах оптические явления
играют доминирующую роль. В качестве такого
примера рассмотрим вариант построения
системы с широким применением оптических методов и элементов
бесконтактной коммутации.
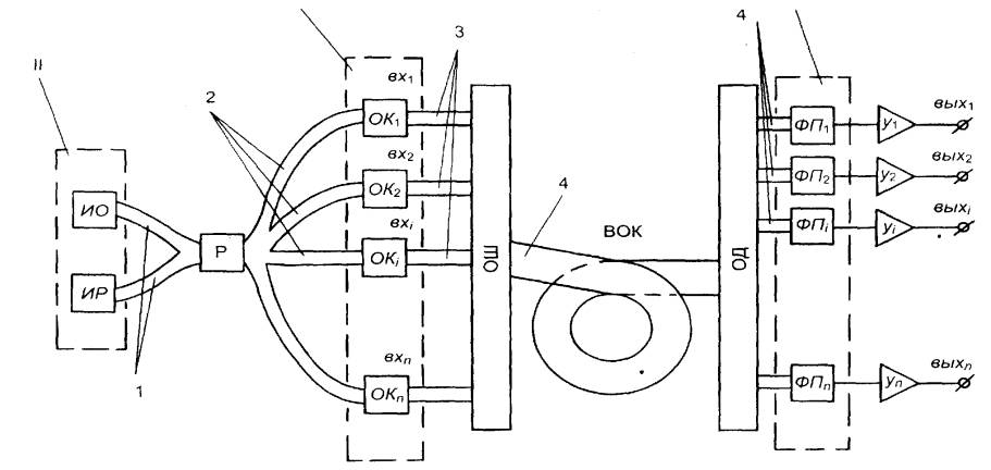
Представленная схема (Рис.2)
волоконно-оптической системы передачи данных
содержит: единый источник излучения (основной
- ИО и резервной - ИР источники), размножитель Р, блок
бесконтакной оптической коммутации I (блок управления),
оптический шифратор ОШ, волоконно-оптический канал связи ВОК,
оптический дешифратор ОД, блок фотоприемников ФП1, ... ФПп, блок
усиления, вырабатывающий на выходе электрический сигнал.
В предложенном варианте используется общий
источник излучения для всех оптических каналов; в блоке защиты предусмотрено, что при выходе основного источника автоматически
включается резервный. Излучения ИО или ИР в размножителе
перераспределяются по управляемым каналам оптической коммутации с помощью
волоконно-оптических трансформаторов.
Коммутация может быть произведена различными
способами: непосредственным механическим воздействием (нажатием на кнопку) или
переносом оптической мощности из одного волокна в другой за счет управления
(изменения) коэффициентом преломления материала волокна или среды, окружающей
волокно.
Оптические шифратор и дешифратор могут быть построены
на основе элементов волоконной оптики или зеркально-линзовых систем. Принцип
действия предлагаемого варианта волоконно-оптической системы передачи данных
заключается в следующем. Мощность оптического излучения источника ИО (ИР) по световодам I подводится к размножителям Р. где перераспределяется по
оптическим коммутаторам OK1, ОК2, ... ОКп. В
результате на входе каждого ОК постоянно имеется коммутируемый оптический
сигнал, действующий на выходах световодов 2.
 II I
 
   
   
 
   
   
     
  
     
   
 
   
   
 
   
   
     
  
     
   
 
 
Рис.2. Система передачи данных с
использованием оптоэлектронных устройств коммутации и волоконной оптической
линии связи
На выходах OK1, OK2, …, ОКп оптический сигнал будет присутствовать в зависимости от наличия
управляющего сигнала  на  клеммах 
Bx1, Bx2, …, Вхп или от положения ОК при управлении оптическим
воздействием на него. Состояние контролируется и передается по ВОК к объектам
управления за счет синхронной работы шифратора и дешифратора. Между блоком
оптической коммутации I и шифратором оптическая связь осуществляется
с помощью световодов 3.
Индивидуальный сигнал управления объектами с
выхода дешифратора по световодным линиям 4 перераспределяется по входам
соответствующих фотоприемников ФП. преобразующих оптический сигнал в
электрический. Усилителями У1, У2, ..., 
Уn формируются
выходные электрические сигналы.
3. ВОСПИ с использованием
устройств оптической коммутации с электрической линией связи
В информационных системах успешно работают
устройства, в которых коммутация сигналов производится в оптическом канале, а
передача данных – в виде электрического сигнала по традиционным электрическим
кабелям (Рис.3).
Такая система может быть использована в тех
случаях, когда на блоки и датчики действуют сильные электромагнитные помехи и
когда на линии передачи группового сигнала предполагается применение множества разъемных соединений или разветвлений.
Данная система содержит
те же источники излучения и оптические
коммутаторы, что и предыдущая система (см. Рис. 2). Отличие заключается в том, что в каждом
индивидуальном оптическом канале устанавливаются фотоприемники ФП и
усилители У, которые формируют на выходе электронного шифратора ЭШ сигнал заданного значения и формы. Передача
данных осуществляется по электрическим кабелям благодаря синхронной работе электронных
шифратора и дешифратора. На выходах усилителей У1, У2, УЗ, ..., Уп формируются заданные сигналы, которые
управляют контролируемыми объектами.

 
 
Рис.3. Система передачи данных с
использованием блоков оптической коммутации и электрической 
кабельной линии связи
Выводы:
Из
рассмотренных систем передачи данных наиболее перспективной является система
с использованием оптических устройств коммутации и волоконно-оптической линии связи (см. Рис.2), в которой
электромагнитные колебания оптического диапазона будут не только являться
носителями информации, но и выполнять функции управляющих сигналов. При этом
ставится задача широкого использования волоконно-оптических методов и устройств
для создания элементов бесконтактной коммутации.
В описанных системах передачи данных
носителем информации является световой поток. Из теории распространения электромагнитных
колебаний известно, что можно управлять параметрами светового потока,
проходящего через какую-либо среду путем изменения ее оптических показателей,
что позволяет управлять амплитудой, фазой и частотой светового колебания,
используемого для управления контролируемыми объектами.
 
 
 
 
 
 
 
 
 
 
 
 
 
 
 
 
 
Литература:
1. Сулейманов Н.Т., Зарипов М.Ф., Петрова И.Ю. Надежность элементов и средств управления с распределенными параметрами (монография). – М: Наука, 1980.
2. Сулейманов Н.Т. Лазерная волоконно-оптическая система для определения пространственного попожения магистральных трубопроводов. Материалы VII Конгресса нефтегазопромышленников России. Проблемы и методы обеспечения надежности и безопасности систем транспорта нефти, нефтепродуктов и газа. – Уфа, 2007. – с.278-287.
3. Сулейманов Н.Т. Автоматизированный мониторинг и управление задвижками трубопроводов в режимах ГЛОНАСС/GPS. Проблемы и методы обеспечения надежности и безопасности систем транспорта нефти, нефтепродуктов и газа. – Уфа, 2010. – с.151-155.
4. Гарифуллин Н.М., Сулейманов Н.Т. Интеллектуальная система дистанционного контроля НДС трубопровода на основе эффекта Баркгаузена с использованием навигационной системы ГЛОНАСС/GPS. Проблемы и методы обеспечения надежности и безопасности систем транспорта нефти, нефтепродуктов и газа. – Уфа, 2011. – с.395-403.
5. Гиниатуллин Н.И. Волоконно-оптические преобразователи информации. – М.: Машиностроение, 2008. – 455с.
6. Бадеева Е.А., Гориш А.В. и др. Теоретические основы проектирования амплитудных волоконно-оптических датчиков давления с открытым оптическим каналом. – М.: Изд-во РКС МГУЛ, 2004. – с.245.
7. Сулейманов Н.Т., Клементьев А.Ф. Метод синтеза волоконно-оптических приборов//В кн.: Международная научно-техническая конференция «Волоконно-оптическая линии связи и системы передачи информации». г. Запорожье, 1993. – с.15-18.