УДК 631.312.44
ПОЧВОЗАЩИТНАЯ ТЕХНОЛОГИЯ ПОДГОТОВКИ ПОЧВЫ ДЛЯ ПОСЕВА БАХЧЕВЫХ КУЛЬТУР
Ф.М.МАМАТОВ, доктор
технических наук, профессор Каршинского инженерно-экономического института, Д.Ш.ЧУЯНОВ, кандидат технических
наук, доцент Каршинского государственного университета, Б.С.МИРЗАЕВ,
кандидат технических наук, проректор
Ташкентского института мелиорации и ирригации, Г.ЭРГАШЕВ, ассистент Каршинского
инженерно-экономического института
Основной задачей сельского хозяйства Узбекистана является
полное удовлетворение населения страны всеми видами продуктов питания и, в частности, бахчевыми культурами. Несмотря
на увеличивающиеся урожаи бахчевых, потребности населения еще полностью не
удовлетворяются. Так как Узбекистан является основным поставщиком бахчевых в
Российскую Федерацию и другие ближние зарубежные страны. Основными факторами,
сдерживающими дальнейшее развитие бахчеводства, являются большая трудоемкость и
крайне малая механизация процессов возделывания бахчевых культур по сравнению с
другими отраслями сельскохозяйственного производства. При этом основной проблемой является качественная подготовка почвы и посев бахчевых культур в оптимальные
агротехнические сроки, особенно при посеве бахчевых под зерновые.
Важнейшим звеном в
системе мероприятий по обеспечению высокой культуры земледелия и получению
высоких урожаев бахчевых культур является обработка почвы. Успехи в
возделывании бахчевых культур во многом зависят от сроков и качества обработки
почвы, а последняя, в свою очередь, - от способов ее проведения и совершенства
конструкции машин.
Подготовка почвы
для возделываемых бахчевых культур проводится главным образом ступенчато, т.е.
однооперационными машинами за несколько проходов, что агрономически ничем не оправдано.
Многократные
проезды техники по обрабатываемому полю приводят к увеличению нежелательного
уплотнения почвы колесами тракторов и машин, что влечет за собой снижение
урожайности бахчевых культур. Такая
обработка не является почвозащитной и не соответствует современным требованиям.
Необходимо внедрять новые, более прогрессивные технологии и средства
механизации для обработки почвы.
Существующая
традиционная технология и технических средств не позволяет подготовить почву к
посеву бахчевых культур в оптимальные агротехнические сроки, в результате чего
получается низкий урожай.
Поэтому для решения этой проблемы авторами разработана новая технология и
комбинированный агрегат для обработки и подготовки почвы к посеву бахчевых
культур[1, 2]. Эта технология предусматривает
совмещение следующих технологических
операций: отвальную обработку почвы зоны посева семян с одновременным
предварительным формированием поливной борозды, безотвальную обработку -
поверхностное (мелкое) рыхление почвы
поля с правой и левой стороны отвальной обработки почвы, полосное подпахотное
рыхление по линии высева семян, локальное внесение удобрений, подготовку почвы
к посеву по линии посева, нарезание поливной борозды
Новая технология подготовки почвы к
севу бахчевых осуществляется специально разработанным комбинированным агрегатом
следующим образом.
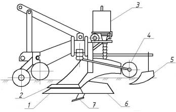
Вначале право- и
левообарачивающим корпусами 1 и короткими заплужниками 6 (рисунок 1)
предварительно формируются поливная борозда путем оборота пластов друг от
друга, а правую и левую сторону поля мелко поверхностно разрыхляют рыхлителями
2. Глубина рыхления должна быть достаточна для полного уничтожения сорных
растительностей. Ширина отвальной
обработки почвы 1.0 – 1.1 м. Такая ширина позволяет подготовить почву
междурядья для посева семян бахчевых с междурядьем 70 – 90 см.
При этом боковые
рыхлители могут быть выполнены в виде стрельчатых лап, плоскорезов или
безотвальных корпусов. Одновременно с
оборотом пластов осуществляют полосное подпахотное рыхление почвоуглубителями 7
и локальное внесение удобрений. Затем рыхлительно-опорным катком 4 разрыхляя и
уплотняя почву междурядья подготавливаются к посеву. При необходимости
окончательно формируется поливная борозда
бороздоделателем 5. Расстояние
между поливными бороздами 3.4 – 3.6 м.


Рис.1. Схема комбинированного агрегата: 1 – корпус, 2 –
рыхлитель, 3 – туковысевающий аппарат; 4 - каток, 5 – бороздоделатель; 6 – заплужник; 7 – почвоуглубитель.
Совмещение отвальной
и безотвальной обработки почвы, а также
полосное подпахотное рыхление почвы способствует значительному снижению
энергозатрат и сбережению почвенных влаг, препятствует возникновению водной и ветровой эрозии.
Локальное внесение удобрения
одновременно с полосным подпахотным рыхлением повышает эффективность
использования минеральных удобрений и урожайность. Все это способствует сокращению количества проходов трактора, снижению общей
энергоёмкости подготовки почвы к посеву и повышению производительности труда.
Проведенные
испытания экспериментального образца комбинированного агрегата показали
эффективность новой технологии. При применении агрегата,
осуществляющего новой технологии сокращаются затраты труда на 23…25 %, топлива - 22…25 % и эксплуатационные
затраты – 32…35 % по сравнению с существующими машинами.
Литература
1. Патент РУз № IAP 04004. Cпособ обработки почвы и посева /Маматов Ф. и др. //Бюл.изобр.- 2009. - №9.
2. Патент РУз № IAP 03618. Комбинированное орудие для
обработки почвы и посева/Маматов Ф. и др.
//Бюл.изобр.- 2008. - №4.
Сведения
об авторах
Сведения
об авторах
1.
Маматов Фармон
Муртозевич, доктор технических наук, профессор, директор центра научно-прикладных исследований и инновации
Каршинского инженерно-экономического института
Mamatov Farmon
Murtozevich, doctor of technical sciences, professor, Head of the Department of
scientific-applied researches and innovation.
-
Каршинский инженерно-экономический институт, Узбекистан, г.Карши
-
корреспондентский почтовый адрес: Узбекистан, г.Карши, ул.Ч.Бегимкулова 24/1,
тел. 8-375-2240289, +99891-4594682
2.
Чуянов Дустмурад Шодмонович, кандидат технических
наук, доцент
Chuyanov Dustmurad
Shodmonovich, the candidate technical science.
-
Каршинский государственный университет, Узбекистан, г.Карши
3.
Мирзаев Бахадир
Мирзаевич, кандидат технических наук, проректор
Ташкентского института мелиорации и ирригации
- Mirzayev
Bakhadir Suyunovich, the candidate technical science, dean of Tashkent irrigation and melioration institute
4.
Эргашев Гайрат Худоярович, ассистент Каршинского
инженерно-экономического института
5.