Сельское хозяйство/ 2.Механизация сельского хозяйства
К.т.н.
Марданов Р.Х.
Казанский государственный аграрный
университет, Россия
Перспективные технологии вспашки
В результате теоретических исследований и поисковых опытов обоснованы новый технологический процесс гладкой вспашки почвы и конструктивная схема четырехкорпусного фронтального плуга для её осуществления.
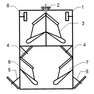
Плуг (рисунок 1, патент РФ №2222130) выполнен симметричным относительно продольной оси пахотного агрегата и состоит из следующих элементов: рамы 1, дискового ножа 2, сдвоенного выкапывающего корпуса 3, сталкивателей первого и второго рядов размещения 4 и 5, зеркально расположенных право- и левооборачивающих корпусов 6 и 7 и регулировочно-опорных колес 8, служащих для изменения глубины вспашки.

Рисунок 1 ‑ Конструктивно-технологическая схема плуга
Схема
технологического процесса вспашки данным плугом представлена на рисунке 2.2.
Перед началом работы устанавливают заданную глубину пахоты, путем изменения
положения опорных колес 8 (рисунок 1) и верхней тяги механизма навески
трактора. Затем регулируют положения по вертикали дискового ножа 2 и
сталкивателей первого 4 и второго 5 рядов размещения.
При
движении пахотного агрегата по полю средние пласты 3 и 4 (рисунок 2 а) подрезаются сначала дисковым ножом 2
(рисунок 1), а затем сдвоенным корпусом 3. Поднимаясь по рабочим поверхностям
сдвоенного выкапывающего корпуса 3, пласты подвергаются деформации изгиба.
Достигнув определенной высоты, над поверхностью поля, пласты почвы под
собственным весом отрываются от рабочих поверхностей сдвоенного корпуса 3 и
падают с оборотом на крайние необработанные пласты 2 и 5 (рисунок 2 б).
Снабжение плуга дисковым ножом 2 (рисунок 1), выполненным регулируемым по высоте так, что глубина его хода изменяется в пределах (0,6…1,0)´а (где а- глубина вспашки), и расположенным спереди сдвоенного корпуса 3 улучшает условия и значительно снижает энергоемкость подрезания средних пластов 3 и 4 (рисунки 2 а и б), т.к. сдвоенный корпус всегда работает в условиях первой борозды.
Расположенные сзади сдвоенного корпуса сталкиватели 4 (рисунок 1) перемещают пласты 3 и 4 (рисунок 2в) без оборота в стороны на ширину захвата корпусов – «b».
Размещенные за сталкивателями право- и левооборачивающие корпуса 6 и 7 (рисунок 2.1), выполненные с полувинтовыми отвалами, подрезают и оборачивают крайние пласты 2 и 5 (рисунок 2 г) в борозды средних пластов.
Сталкиватели 5 (рисунок 1), расположенные за корпусами 6 и 7, перемещают находящиеся на поверхности поля пласты 3 и 4 (рисунок 2 г) в обратном направлении и укладывают в борозды, образованные после прохода право- и левооборачивающих корпусов 6 и 7 (рисунок 2 д).
При осуществлении данного способа вспашки на поле не остаются свальных гребней и развальных борозд. Таким образом, получается слитная, так называемая гладкая вспашка. При вспашке данным плугом агрегат может двигаться челночным способом, что позволяет намного сократить время на вспомогательные работы.

a ‑ глубина вспашки; b ‑ ширина захвата корпуса
1, 2, 3, 4, 5, 6 ‑ пласты, снимаемые корпусами.
Рисунок 2 – Технологический принцип процесса гладкой вспашки